Замки - не лают, не кусают, но в дом не пускают. Канализационная сеть на приусадебном участке...("Сделай сам" №3∙1996) [Валентин Александрович Волков] (fb2) читать онлайн


 [Настройки текста]  [Cбросить фильтры]
  [Оглавление]

Волков Валентин Александрович «ЗАМКИ — НЕ ЛАЮТ, НЕ КУСАЮТ, НО В ДОМ НЕ ПУСКАЮТ» Ильин Виктор Васильевич «КАНАЛИЗАЦИОННАЯ СЕТЬ НА ПРИУСАДЕБНОМ УЧАСТКЕ» Воронов Виктор Алексеевич «ВОЛШЕБНЫЕ ДАРЫ ФЛОРЫ» Логинова Наталия Александровна «РУССКИЕ ПРИСОЛЫ И САЛАТЫ» --- Журнал «СДЕЛАЙ САМ» (03)∙1996 Подписная научно-популярная серия

СПРАШИВАЙ БЫВАЛОГО

Замки - не лают, не кусают, но в дом не пускают

Хороший замок — надежный друг

(Пословица)
Мы поворачиваем ключ — и дверь открывается. Каждый дом или квартира начинаются с замка.

Когда же появились замки и кто их придумал?

Первобытные люди собирались на охоту. Они подкатили огромное бревно к входу в свою пещеру, чтобы в нее не забрались чужаки. Должно быть, это бревно можно назвать первым замком, изобретенным человеком.

У людей во все времена была необходимость запираться. Очень жаль, что она сохранилась и в наши дни.

Древнейшие замки в виде обыкновенной задвижки делали в основном из дерева. Понятно, что до нас они не дошли. На одном из барельефов египетского храма Карнака, изображающего двери, видна такая поперечная задвижка. Римляне долго закладывали свои двери изнутри поперечным брусом. Это ясно видно по отверстиям в стенах помпейских развалин. Впоследствии замки стали сложнее, появились ключи. Замки начали делать из бронзы, меди, железа, чугуна, стали. Археологи часто находят древние металлические ключи и остатки замков.

В «Илиаде», «Одиссее», а также в Библии упоминается о замках и ключах. Древнегреческий замок, описанный в «Одиссее», состоял из задвижки с внутренней стороны двери. С помощью ремешка, продернутого через отверстие в двери, задвижку запирали снаружи и завязывали на ремне узел. Чтобы открыть дверь, узел развязывали, крючкообразным ключом зацепляли выступы задвижки и отодвигали ее. Узлы вязали самые замысловатые. По преданию, фригийский царь Гордий завязал такой сложный узел, что никто не мог его развязать. Оракул предсказал, что тот, кто развяжет этот «гордиев узел», станет властителем всей Азии. Александр Македонский на предложение распутать узел разрубил его мечом. С тех пор выражение «разрубить гордиев узел» означает: принять быстрое и прямолинейное решение.

Древние египтяне тоже использовали в своих замках задвижки. Сверху на задвижке были прорези. В них при закрывании задвижки попадали защелки и замок запирался. Вдоль задвижки внутри нее находилось отверстие. В него вводили ключ, отжимали защелки и открывали задвижку. Ключи были длинными и тяжелыми. Такой в карман не положишь и на шею на шнурке ребенку не повесишь, как любят делать некоторые современные мамы. Ключи надевали на обруч и носили на плече. Эти замки применяли в Индии, Персии, Греции и Риме. Их в усовершенствованном виде используют и в наше время.

А в Древнем Китае придумали висячие пружинные замки. На запирающем конце дужки были прикреплены плоские пружины. Когда дужку вставляли в корпус замка, пружины вместе с дужкой проходили через узкое отверстие, расходились и уже обратно выйти не могли. Выталкивал дужку ключ. Его вводили снизу в корпус. Пружины собирались в отверстии ключа и вместе с дужкой выходили из корпуса. При раскопках в Индии, Персии и Египте находят ключи к таким замкам.

На Руси висячие пружинные замки использовали с X века. В XVIII веке эти замки вывозили за границу. В Западной Европе их называли русскими. Пружинные висячие замки применяют и по сей день.

В XV–XVI веках в период расцвета кузнечного искусства в Западной Европе замки и ключи старались сделать покрасивее. Немецкие замки этого периода выставлены в музеях как произведения искусства. Но с XVIII века стали уделять больше внимания надежности дверных, мебельных, сундучных и многих других замков.

С древнейших времен люди в сказках придумывали самые невероятные запоры для дверей. Например, пещера сорока разбойников открывалась только после слов: «Сезам, откройся!»

В наше время это уже не фантастика.

Все мы знаем замки, которые открываются без ключа после набора определенных букв или цифр. Их называют кодовыми и устанавливают в дверях подъездов многоквартирных домов, в камерах хранения на вокзалах, в сейфах. А если в двери стоит часовой замок, то она откроется только в определенно заданное нами время.

Японцы придумали магнитные замки. В их ключах находятся мелкие магнитики. Если такой ключ приложить к замку, магнитные стрелки в нем повернутся, и он откроется.

Электронно-оптические замки открываются простым прикосновением пальца. Причем, это должен быть палец одного определенного человека. Замок «знает» его отпечаток. А ведь отпечатки пальцев у всех людей разные.

Жизнь идет, наука развивается, и наверное, будут изобретены новые, еще более удивительные замки.

Пока наша задача — осветить лишь дверные замки. О них в основном только упоминали. Но мало кто стремился внимательно рассказать об установке, конструкции, выборе, ремонте, техническом обслуживании…


Классификация замков

Приведем две классификации замков. Одна классификация XIX века, вторая — современная (рис. 1). Спрашивается, зачем две классификации? Да просто первая прояснит современную.

Замки в XIX веке разделяли в зависимости от функции и конструкции. Название замков и их деталей принадлежит тому времени.

1. Ящичные замки. Их механизм заключен в коробку. Они служат для закрывания второстепенных дверей. Замок привинчивают к дверям шурупами, и он выступает из поверхности двери на всю свою глубину.

2. Врезанные замки. Их тыловая сторона расположена вровень с внутренней стороной двери.

3. Внутренние замки. Их врезают настолько, чтобы коробка замка находилась с внутренней стороны дверей и сквозь последние проходила лишь замочная скважина.

4. Навесные замки. Такой замок захватывает только за ушки два костыля, вбитые в дверь и косяк. Это чрезвычайно ненадежное замыкание двери.

5. Безопасные замки. Их используют для денежных шкафов. Конструкция замков основана на комбинации типичных особенностей предыдущих запоров. Это особый класс замков, которые особенно надежны против отпирания их посторонними лицами.



Детали замков

Деталь в переводе с французского означает часть механизма, которая не может быть разобрана на другие, более простые и мелкие. Узел — часть механизма, представляющая собой соединение тесно взаимодействующих деталей.

Конструкции замков разнообразны. Однако для всех замков характерно наличие основных элементов или деталей.

ЗАСОВ (ригель) — часть замка, непосредственно запирающая дверь, ящик, крышку и т. п. Дужка в навесных замках выполняет роль засова. Ригель состоит из головки, на которую действует ключ, и из одной или двух задвижек. Иногда для усиления надежности ригель, кроме задвижки, двигающейся прямолинейно, снабжают крючком. Последний при закрывании замка поворачивается и прочно захватывает петлю. Ригелей бывает несколько. Их двигают по разным направлениям благодаря вращению особого диска или зубчатой передачи. Составные ригели применяют в замках специального назначения.

Подпружиненные сувальды образуют вместе с определенным ключом «секрет» замка.

Подпружиненные сувальды — те детали замка, которые толкают ригель только тогда, когда на них воздействует подходящий ключ. В прошлом сувальды называли еще задержки, пугальты, снычи и т. п. Сувальды, следовательно, вместе с определенным ключом и образуют «секрет» замка. Все сувальды делят на два класса. К первому классу относят сувальды с перпендикулярным движением к оси ключа, ко второму классу — с параллельным движением к оси ключа. Сувальды перемешают пружины, которые весьма ненадежны. Излом пружин, потеря контакта с сувальдами — частое явление. Поэтому изобретены сувальды, управляемые непосредственно бородками ключа. Переставные сувальды существуют в замках, которыми пользуются и при утере ключа. Есть замки с сувальдами, которые одновременно служат и ригелями.

Сувальды настолько тесно связаны с устройством замков, что подробно их следует описывать вместе.

КЛЮЧ — приспособление для управления механизмом замка, который бывает с индивидуальным или групповым (для определенной серии замков) секретом. Именно ключ ставит сувальды и пружины в такое положение, чтобы стало возможным передвижение ригеля.

Каждый ключ делают такой формы, чтобы затруднить подделку. В прошлом изготовляли ключи крупных размеров (рис. 2), но теперь стремление — обратное. Выяснено, что, чем значительнее отверстие для ключа, тем проще взлом замка.



Рис. 2. Замок с бессувальдным механизмом:

а — в сборе; б — контуры бородок ключей; в — поперечные и продольные прорези на бородках ключей; г — кольцевые выступы на основании корпуса, соответствующие прорезям на бородке ключа; д — срединные заградительные пластины; 1 — ригель (засов); 2 — собачка; 3 — пружина собачки; 4 — запорная стойка; 5 — основание корпуса (нижняя крышка); 6 — лицевая планка; 7 — фасонная ключевина; 8 — бородка ключа с контуром ключевины; 9 — стойка распорная; 10 — стойка крепления; 11 — винт; 12 — стержень; 13 — рукоятка


Три части (рис. 3, а, б) различают в ключе: бородку, стержень и головку, или рукоятку. Кольцевой выступ делали между головкой и стержнем. Сам стержень часто был пустотелый. Шип для его центрирования приклепывали с внутренней стороны основания корпуса. Пустотелый стержень обеспечивал меньшие размеры ключа и замочного отверстия. Такой стержень и сложнее подделать.

Две-три бородки на ключе под углами 90°, 120°, 180° и т. п. также затрудняют подделку. Эти конструкции ключей широко применяют для замков сейфов. Дверные замки, как правило, если и имеют две бородки, то с расположением друг к другу под углом 180°.

Стержни современных ключей такого характера — сплошные.



Рис. 3. Замок с сувальдиым механизмом:

а — в сборе; б — варианты бородок ключей; 1 — ригель (засов); 2 — сувальда; 3 — пружина сувальды; 4 — упорный штифт; 5 — ось; 6 — запорная стойка; 7 — бородка ключа


КОРПУС — это обычно блок из нескольких деталей. Главные детали — основание и крышка Детали корпуса иногда носят и другие названия: щеки, плато и т. п. Именно корпус обеспечивает сохранность и закрепление механизма замка, определенную траекторию движения его деталей. Отсюда и требования ГОСТ 5089—80, по которым корпуса замков и защелок должны быть закрытыми и иметь съемные крышки.

ЗАПОРНАЯ ПЛАНКА, УГОЛОК или КОРОБКА — это деталь (рис. 5, 11), в отверстие которой входит ригель (засов), осуществляющий запирание двери, ящика и т. п. Согласно ГОСТ 5089—80 отверстия для засова, засова-защелки или защелки в запорной планке врезных замков должны иметь одинаковые размеры, быть больше высоты засова или засова-защелки на 4–6 мм и толщины засова, засова-защелки или защелки на 1–3 мм.


Бессувальдные механизмы замков

Они (рис. 2, а) характерны тем, что ригели перемещаются в них бородками ключей. Ригель в каждом замке стопорит подпружинная собачка. Она вступает в пазы ригеля.

Секретность бессувальдных замков осуществляют устройством, препятствующим введению в ключевину «чужого» ключа. Различные контуры для этого придают ключевой щели и соответственно сечению бородки ключа (рис. 2, б).

Усложнение секретности замка получают размещением на основании против ключевины заградительных пластинок или кольцевых выступов в виде концентрических кругов. Бородки ключей для замков с усложненной Секретностью имеют соразмерные продольные или поперечные прорези. Усложненные секреты выполняют и одновременным сочетанием продольных и поперечных прорезей на бородке (рис. 2, в).

Кольцевые выступы в усложненной секретности замка изготавливают из стальных или латунных пластин (рис. 2, г).

Заградительные пластины (рис. 2, д) размещают в корпусах замков не только на основании. Срединные заградительные пластины как бы висят на шпильках и пластинах между основанием и крышкой корпуса.


Сувальдные механизмы замков

Эти замки имеют ригель, сблокированный с пакетом из 3–6 и более подпружиненных сувальд, подвижно смонтированных на одной оси. Сувальды представляют собой пластинки (рис. 3, а), имеющие со стороны сопряжения с бородкой ключа разные контуры.

Различные секреты образуют сувальды, сложенные вместе пакетом. Им соответствуют в замке профили бородки ключа.

Защелкивание ригеля в установленном положении в этих замках производит запорная стойка, имеющаяся на ригельной нланке. Запорная стойка заходит в специальные пазы на сувальдах. Они при поворачивании «своего» ключа заходят в вырезы бородки ключа. Последний приподнимает каждую из сувальд на определенную величину. Это освобождает ригель, который в данном положении свободно доходит до очередной позиции благодаря повороту ключа и под действием подпружиненного блока сувальд автоматически стопорится.

Ключ повернуть нельзя, если хотя бы одна из сувальд не адекватна профилю его бородки в месте контакта. Эта сувальда не выйдет из зацепления, полностью или частично, с запорной стойкой. Причем есть замки, у которых запорную стойку или запорные стойки располагают на одной сувальде, с обеих ее сторон или с одной стороны. Ригельная планка в этом случае плоская.

Каждый вариант порядка расположения различных по контуру сувальд, имеющихся в производстве данного замка, называется серией. Ключи с соответствующим рабочим профилем бородки специально изготавливают для данной серии.

Число серий зависит от имеющихся в данном производстве вариантов сувальд. Трехсувальдные замки, для примера, имеют шесть серий. Если каждую из трех сувальд обозначить цифрой, начиная с единицы, то серии будут следующими;

1+2+3; 1+3+2; 2+1+3; 2+3+1; 3+1+2; 3+2+1.

Один комплект сувальд при выпуске четырехсувальдных замков обеспечивает 24 серии и т. п. Замки с двумя рядами сувальд и двухсторонними (двухбородчатыми) ключами имеют до 150 серий.

Некоторые заводы увеличивают количество серий того или иного замка путем применения на сборке дополнительных вариантов сувальд. Но этот метод усложняет и удорожает производство замков. Распространена практика повышения секретности сувальдных замков более доступной «дорогой»: варьируют профилем ключевины и сообразно профилем бородки ключа (рис. 3, 6). Так, например, наличие двух вариантов ключевины типа «выступ справа» и «выступ слева» увеличивает секретность этих замков.

Варианты секретности замков, зависящие в совокупности от всех используемых в производстве способов, обычно и называют «секретами».

Недорогие массовые замки, в которых серии на бородках ключей штампуют, обладают минимальной серийностью в пределах одного комплекта сувальд. Эту серийность иногда увеличивают в 2–4 раза за счет профилирования ключевины.

Количество серий достигает сотен вариантов в лучших сувальдных замках, что обеспечивают наличием при сборке разных сувальд. Ключи для таких замков готовят с фрезерованными бородками (рис. 3, б).


Цилиндровые механизмы замков

Они действуют по принципу сувальдных замков, но в совершенно ином конструктивном оформлении (рис. 4).



Рис. 4. Цилиндровые механизмы замков:

а — американский конца XIX в.; б — односторонний однорядный с индивидуальный ключом; в — анфас сердечника (цилиндра); г — односторонний двухрядный с индивидуальным ключом; д — двухсторонний однорядный с индивидуальным ключом; е — с индивидуальным и главным ключом; 1 — штифт-сувальда (наружного ряда) корпуса; 2 — пружина; 3 — корпус; 4 — сердечник (цилиндр); 5 — ключ индивидуальный; 6 — штифт-сувальда (внутреннего ряда) сердечника; 7 — дополнительный сердечник (цилиндр) для главного ключа; 8— штифты-сувальды для дополнительного сердечника; 9 — ключ главный (для группы замков); 10 — поводок (двигает ригель); 11 — шарики; 12 — задвижка


Цилиндровые механизмы замков XIX века принципиально не отличались от подобных современных замков. Достоинства таких замков четче «проглядывают» в описании, сделанном в XIX веке.

Ключ американского замка типа «Стуриа» представляет собой (рис. 4, а) плоскую или фигурную изогнутую пластинку толщиной 1,5–2,5 мм и весит всего около 4 граммов против 40 граммов обыкновенного ключа… Замок изготовляют обыкновенно из бронзовых отливок. Он состоит из наружного корпуса с кольцевым выступом и поверхностной винтовой резьбой. Сердечник в корпусе вращаем, если 5 штифтов-сувальд своими разрезами займут нужное положение. Это положение возникает, когда разрезы штифтов-сувальд попадают в плоскость раздела сердечника и корпуса благодаря движению ключа. Пружины постоянно нажимают на штифты, состоящие из двух частей. Нижние части штифтов совершают поворот вместе с сердечником при «родном» ключе. Верхние части штифтов при этом — неподвижны в корпусе.

Преимущество подобных замков: 1) легкость и плоскость ключа и возможность его ношения; 2) большая безопасность по сравнению с замками иного устройства; 3) малая замочная скважина.

Цилиндровый механизм замка состоит из следующих основных деталей и узлов:

а) сердечника с узким сквозным фасонным пазом под плоский ключ и 4–5 каналами, расположенными в одну линию перпендикулярно оси сердечника по центру узкой стороны паза;

б) корпуса круглой или фасонной формы со сквозным гнездом под сердечник и линией сквозных каналов на боковой утолщенной стороне, расположенных соотносительно с каналами в сердечнике; в навесных (висячих) цилиндровых замках корпусом цилиндрового механизма служит чаще всего сам замок;

в) штифтов-сувальд разной длины в соответствии с профилем ключа, которые закладывают в каналы сердечника (внутренний ряд);

г) штифтов-сувальд одной длины, заряжаемых в каналы корпуса (наружный ряд), их совокупность называют еще магазином;

д) спиральных пружин по числу штифтов в магазине;

е) заглушки в виде одной общей задвижки или отдельных пробочек для перекрытия каналов цилиндрового механизма после его сборки.

Цилиндровый механизм в собранном виде представляет своеобразное однорядное сувальдное устройство. Сердечник перемещаем при условии, когда верхние торцы вставленных в него штифтов расположены заподлицо с поверхностью этого сердечника. Это осуществимо (рис. 4, б) лишь при наличии в ключевом пазе «своего» ключа.

«Чужой» ключ, в котором хотя бы одна из канавок на рабочей грани даст выступание или утопание штифта на сердечнике, даже на долю миллиметра поворота не совершит. Линия разъема сердечника и корпуса будет пересечена либо выступающим из канала нижним штифтом, либо опустившимся верхним штифтом.

Высокая секретность цилиндровых механизмов как раз и построена на этих принципах. Они обеспечивают сотни тысяч различных секретов практически индивидуальных в отношении каждого механизма.

Секреты на ключах других замочных механизмов получают способом массовой штамповки или фрезеровки ограниченного количества серий (в лучшем случае нескольких десятков). Новый профиль для каждого замочного комплекта выфрезировывают на специальных станках для цилиндровых механизмов.

Надежность цилиндровых механизмов обеспечена еще и тем, что паз в сердечнике под ключ имеет фасонный пересеченный профиль (рис. 4, в), исключающий почти возможность оперирования внутри его отмычками.

Некоторые заводы замки с цилиндровыми механизмами для усложнения секретности фабрикуют (рис. 4, г) с ключевыми пазами не одного, а нескольких профилей. Понятно, что для каждого профиля — соразмерный ключ.

Приоритетные цилиндровые механизмы и ключи к ним клеймят заводским шифром секрета, например А — 13472. Литера А определяет вариант продольного профиля ключевого паза и ключа. Цифры — это номера штифтов-сувальд в механизме.

Цилиндровые механизмы всех видов перемещают засовы в корпусах замков поводками различных конструкций. Поводок, как правило, закрепляют на внутреннем торце сердечника (рис. 4, д). Причем при двухсторонних цилиндровых механизмах на поводок воздействуют с обеих сторон вставным ключом, при односторонних — вставным и постоянным ключом.

Существуют цилиндровые механизмы, которые отпирают и замыкают двумя ключами с различным рабочим профилем. Эту конструкцию используют для выпуска по особым заказам комплектов из 25—100 замков всех видов: дверных, мебельных и висячих. Каждый замок комплекта имеет индивидуальный ключ и одновременно главный ключ, который открывает и закрывает все единицы комплекта. Подобные наборы замков используют в личном хозяйстве, гостиницах и т. п. местах, когда одно определенное лицо должно иметь доступ к известному числу помещений, запираемых разными людьми.

Принцип конструкции системы «главного» ключа основан на введении в цилиндровый механизм третьей линии штифтов-сувальд. Они позволяют получить вторую линию разъема между дополнительным сердечником и корпусом соответственно профилю второго, главного, ключа (рис. 4, е). Шарик встраивают в начальные два канала первой линии штифтов-сувальд сердечника (со стороны замочной ключевины), облегчают заход ключа в паз основного сердечника.

Второй дополнительный сердечник введен для этой цели в некоторых замках данной системы. Основной сердечник срабатывает при индивидуальном ключе, при «главном» — блок из обоих сердечников.

Устройство цилиндровых замков с несколькими «главными» ключами основано на этом принципе. Один из главных ключей подходит ко всем замкам комплекта, а другие — только к группе определенных замков.


Сейфные механизмы замков

Эти замки, помимо обычных элементов замочных механизмов, имеют еще и специальные устройства. Последние позволяют их открывать только при установке индексированных рукояток в виде рычажков, колец и т. п. по присвоенному данному экземпляру замка шифру.

Подобные замки в основном монтируют в несгораемых шкафах и других предметах аналогичного назначения.

Упрощенные секретные замки изготавливают, например, навесными (велосипедные, на руль автомашины, дверные и т. п.).


Конструкции замков

Их применяют для замыкания дверей в жилых, подсобных, служебных и других помещениях. Замки оснащены в основном сувальдными и цилиндровыми механизмами.

По способу использования их делят (рис. 1) на врезные (вдолбные), накладные и навесные.

Замки по конструкции запорных устройств обладают следующими вариантами:

а) с одним ригельным засовом;

б) с ригельным засовом и роликовым фиксатором (катком);

в) фалевые, с ригельным засовом и приводимым в движение косым засовом-защелкой (рис. 5);



Рис. 5. Замки дверные врезные сувальдные:

а — малогабаритный пятисувальдный; б — малогабаритный марки ЗС1 по ГОСТ 5089-73; в — с регулируемым роликовым фиксатором и однобородчатым ключом по ГОСТ 5089-56; г — с регулируемым роликовым фиксатором и двухбородчатым ключом марки ЗСЗ по ГОСТ 5089-73; д — фалевый, с фиксатором в виде подпружиненного косого засова (защелки) по ГОСТ 5089-56; е — фалевый с засовом и защелкой марки ЗС2 по ГОСТ 5089-73; ж — фалевый, с косым засовом (защелкой) и рычагом для его отвода ключом по ГОСТ 5089-56;

1 —запорная планка; 2 — накладка-ключевина; 3 — передняя планка; 4 — ригель-засов; 5 — винт регулировки фиксатора; 6 — ролик фиксатора; 7 — скоба фиксатора; 8 — штифт фиксатора; 9 — основание корпуса; 10 — пружина фиксатора; 11 — ограничитель хода фиксатора; 12 — стойка винта фиксатора; 13 — проволочная пружина сувальды; 14 — ось сувальды; 15 — сувальда; 16 — косой засов (защелка); 17 — пружина фалевого узла; 18 — поводок фалевого узла; 19 — рычаг




Рис. 5. Продолжение


г) с комбинированным косым засовом, работающим в качестве защелки на полоборота и в функции ригельного засова при дополнительном полном обороте ключа или ручки рукоятки;

д) замки-защелки полуоборотные с одним засовом.

Косым называем такой засов, у которого выходящая из корпуса замка часть имеет клинообразную форму. Косой засов позволяет захлопнуть дверь, использовав лишь некоторые возможности замка. Хорошо, если при этом ключ от замка окажется в кармане. Ведь и сквозняк без воли хозяев квартиры или дома совершает оное. Как обезопасить себя от эдакого несчастья, рассмотрим попозже.

Согласно стандарту косые засовы (рис. 5) делают переставными (переворачиваемыми). То есть косой засов монтируют в корпусе замка в зависимости от того, куда открывают дверь, наружу или внутрь. Ясно, что скос должен скользить по запорной планке.

Направление скоса засова не нужно смешивать с понятием «правых» и «левых» дверных замков. Так называют дверные замки, когда их можно устанавливать только так, чтобы засовы были обращены лишь вправо или влево. Этим качеством обладают в основном сувальдные накладные замки, в которых ключевина при неверном монтаже будет в перевернутом виде.

Дверные замки в основном универсальны и применимы для монтажа на любых дверях. Запорные планки (рис. 5) с гнездами под выдвигаемые засовы и фиксаторы входят в комплект каждого замка. Чаще бывает, что одна запорная планка выполняет и фиксирующие функции и декоративные. Управление основного засова осуществляют ключами с обеих сторон дверей или изнутри ручкой, а снаружи ключом.

Косой засов (защелка) открывают в одних замках только двусторонними фалевыми рукоятками; в других — изнутри, как рукояткой, так и ключом, а снаружи такие замки отпирают только ключом, который «командует» одновременно ригелем и защелкой посредством специального рычага, связывающего оба засова (рычаг перевода защелки).

Ригельные засовы прячут в корпус или выдвигают из него двумя полными оборотами ключа.

Полуоборота ключа хватает на втягивание защелки в корпус при наличии рычага перевода-отвода.

Согласно ГОСТ 5089—80 «…площадь поперечного сечения головки засова ир должна быть менее: из стали — 160 мм, из других материалов — 320 мм». Это требование к конструкции замка, а качество его изготовления в отношении засовов определяет другое техническое требование. «Засовы, засовы-защелки и защелки в зафиксированном положении не должны выступать более чем на 0,5 мм и западать внутрь более чем на 1 мм относительно поверхности лицевых планок».


Замки дверные врезные

Важнейшие размеры этих замков определены ГОСТ 5089—56 и ГОСТ 5089 — 80 (рис. 5, 8, 9).

1. Ключевое расстояние от центра ключевины до наружной плоскости передней планки равно 45 и 55 мм.

2. Длина корпуса (коробки) по глубине гнезда в дереве 70 мм для замков с ключевым расстоянием 45 мм и 80–85 мм для замков с ключевым расстоянием 50 и 85 мм.

3. Расстояние между центром ключевины и центром квадрата фалевого узла — 55, 65, 72, 75 мм.

4. Размер квадратного гнезда фалевого узла 8x8 мм.

5. Длина квадратного стержня фалевого узла — 80 и 100 мм.

Корпуса этих замков изготовляют открытыми или открываемыми с плоскими основаниями и крышками. Но есть корпуса и глухие с коробчатыми основаниями или крышками, чаще всего литые. Все корпуса с сувальдными и цилиндровыми механизмами разборные.

Рукоятки для фалевых врезных замков самые различные:

1) Г-образные — литые из бронзы, алюминиевых сплавов или чугуна;

2) стальные, кованые с ключевиной;

3) стальные кованые, армированные деревом;

4) пластмассовые;

5) кнопки круглые, штампованные из листовой латуни или стали;

6) круглые пластмассовые или керамические с металлическими втулками и розетками;

7) стеклянные граненые с металлической арматурой.


Замки дверные врезные сувальдные

К ним отнесем сравнительно небольшое количество замков. Пятисувальдный малогабаритный замок (рис. 5, а) не имеет рукояток и обладает одним ригельным засовом. Каждый ключ к замку — двухбородчатый. Замыкание и отпирание замка наступает после двух оборотов ключа. Замок — многосерийный, количество серий — не менее 150. Как и замок типа ЗС1 (рис. 5, б), этот замок рекомендуем для установки в двери подсобных помещений. Причем замок ЗС1 — четырехсувальдный, со штампованным основанием корпуса и креплением запорной планки к последнему с помощью точечной сварки, что подчас не обеспечивает прочности.

Вторая группа — это замки трех- и шестисувальдные (рис. 5, в) с ригельным засовом и регулируемым роликовым фиксатором (катком) тульского образца полностью замыкают после двух оборотов однобородчатого ключа. Более позднего «происхождения» замок марки ЗСЗ. Он уже имеет двухбородчатый ключ (рис. 5, г). В обоих замках после монтажа в древесину двери следует с помощью винта регулировки фиксатора так отрегулировать выступание ролика, чтобы последний свободно заходил в соответствующее отверстие запорной планки. Рекомендуемая область применения — внутренние двери подсобных помещений. Учитывая эту рекомендацию, в ролике не всегда возникает необходимость. Он щелкает при фиксации двери, требует периодической регулировки и смазки и т. п. Поэтому если дверь прочно висит на петлях и отменно подогнана к своей коробке, то допустимо еще до монтажа замка снять крышку корпуса и удалить весь узел роликового фиксатора, включая и скобу. Понятно, что эта операция усложнена у замка в двери. Два шурупа тогда выворачивают, освобождая переднюю планку. Попеременно поддевая лезвием отвертки концы передней планки, извлекают замочный корпус и затем повторяют ранее описанные действия.

Следует четко себе уяснить разницу между фиксатором и защелкой. Фиксатор — это устройство, удерживающее дверь в прикрытом до дверной коробки состоянии. Защелка — своеобразный засов. Дверь, закрытую на защелку, отпирают поворотом фалевой рукоятки или ключа, а также оттягиванием рукоятки (в накладных замках).

Третью группу дверных сувальдных врезных замков составляют фалевые с засовом и защелкой. Давнего производства замки — это четырех- или шестисувальдные с ригельным засовом и фиксатором в виде подпружиненного косого засова (защелки). Такой замок изображен на рис. 5, д. Ключ для замка однобородчатый. Полное замыкание замка осуществляется двумя оборотами ключа. Косой засов, защелкиваясь, лишь удерживает дверь в дверной коробке после того, как входит в соразмерное отверстие запорной планки. Но это возможно только при условии скольжения скоса вначале по ребру запорной планки. Конструкция механизма замка и рассчитана на поворот косого засова в нужное положение. Для этого снимают крышку корпуса, разбирают узел косого засова, поворачивают его и выдвигают через запорную планку. Иногда для поворота косого засова достаточно его вдвинуть внутрь корпуса при снятой крышке и повернуть на 180°. Поводок позволяет отводить косой засов рукояткой, принципиальный вид которой приведен на рис. 5, ж. Обычно такая рукоятка — двухсторонняя. Одна ее часть имеет стальной квадрат, а вторая — квадратное отверстие. Соединение частей рукоятки осуществляют при помощи винта или штифта.

Установка замков дверных врезных сувальдных

Они в основном предназначены для наружных дверей подсобных и жилых помещений.

Для уяснения пооперационной установки замка возьмем тип ЗС2 (рис. 6).



Рис. 6. Установка дверного врезного сувальдного замка типа ЗС2 по ГОСТ 5089—73:

а — замок в сборе; б — монтаж корпуса с передней планкой и примыкающих деталей в торец обвязки двери; в — монтаж запорной планки в дверную коробку или в торец обвязки двери (при двухпольной двери);

1 — запорная планка; 2 — ключ двухбородчатый; 3 — винт; 4 — засов; 5 — крышка; 6 — поводок фалевого узла; 7 — защелка (косой засов); 8 — корпус; 9 — передняя планка; 10 — заклепка; 11 — рукоятка фалевая; 12 — обвязка двери; 13 — декоративная планка; 14 — шуруп; 15 — дверная коробка или обвязка двери (при двухпольной двери)


Он пригоден для монтажа левых и правых дверей, открываемых внутрь и наружу, однопольных и двухпольных (правая дверь закрывается по ходу часовой стрелки, левая — против).

В комплект замка входят:

корпус с механизмом — 1,

рукоятка фалевая — 2,

запорная планка — 1,

пластинка декоративная — 2,

ключ двухбородчатый — 3,

заклепка — 1, шурупы — 10.

Монтаж замка типа ЗС2 производят в определенной последовательности.

1. Ознакомление с паспортом (Руководство по монтажу и эксплуатации) замка. Особое внимание обращают на рисунки.

2. Выбор места под установку замка в древесине двери толщиной не менее 36–40 мм.

Замок марки ЗС2 устроен, как и описанный только что. Но в замке ЗС2 — двухбородчатый ключ (рис. 5, е). Вообще следует запомнить, что двухбородчатый ключ всегда требует двух оборотов, иначе его не вынешь из ключевины.

Рычаг для отвода косого засова ключом в дополнении к фалевой рукоятке имеет четырех- или шестисувальдный замок (рис. 5, ж). Это качество используют для монтажа замка вообще без рукоятки. Тогда замок можно закрывать лишь на косой засов (защелку) и отпирать вставляемым в отверстие поводка стальным квадратом рукоятки.

Все замки третьей группы следует рекомендовать как для внутренних дверей квартир и домов, так и для выходных дверей квартир при наличии лестничной площадки в подъезде. Конечно, такие замки нельзя подвергать «обстрелу» непогоды. Вода через квадрат рукоятки и ключевину будет попадать внутрь механизма замка. Смазка механизма — недостаточная защита против влаги.

Четвертую группу замков дверных врезных сувальдных образуют такие, которые имеют по два сувальдных узла механизма. Каждый узел управляет одним засовом. То есть в одном корпусе словно специально спрятали два замка… Если открыть крышку корпуса, то от одного или всех «замков» можно избавить этот корпус. Подпружиненные сувальды и засов или засовы без труда покинут «убежище». При полном комплекте «внутренностей» каждый замок этой группы для функционирования требует двух комплектов ключей, одно- и двухбородчатых.

3. Разметка места установки в соответствии с рисунками паспорта и размерами самого замка (ибо изменение размеров замка не всегда вносят в рисунки паспорта).

4. Выдалбливание или высверливание паза с торца обвязки двери для корпуса замка.

5. Вкладывание корпуса замка в паз и очерчивание контуров передней планки и отверстий в ней под шурупы.

6. Снятие тонкого слоя древесины, чтобы передняя планка оказалась заподлицо с торцом обвязки двери.

7. Вынимание корпуса из паза. Согласно разметке и проверке ее путем прикладывания корпуса с наружной стороны двери засверливают или выдалбливают отверстия под ключ и ось рукоятки.

8. Возвращение корпуса в паз, если направление скоса защелки совпадает с поворотом двери в сторону закрытия. В противоположном случае выкручивают винты и снимают крышку, поднимают поводок, переворачивают защелку на 180° и снова прикрепляют крышку. Но в любом случае при снятой крышке следует ОБИЛЬНО СМАЗАТЬ подвижные детали в корпусе консистентным составом: техническим вазелином, солидолом или даже салом. Тогда обеспечено многолетие действий замка. На заводах-производителях смазку или вообще не вносят или заложат грамм. Вот и скребут детали друг друга.

9. Засверливание через переднюю планку или без нее в торце двери двух отверстий на глубину, равную 1/2 — 2/3 длины шурупов. Этими шурупами планку вместе с корпусом замка и прикрепляют к обвязке двери.

10. Декоративные планки одевают на цилиндрические части рукояток, которые затем так вставляют в корпус, чтобы заклепка оказалась с внутренней стороны двери. Головку заклепки при этом располагают над рукояткой, что устранит ее выпадание (рис. 6, б).

11. Ключ вставляют через ключевины в декоративных планках и закрепляют последние шурупами. При этом декоративные планки в месте ключевин не должны препятствовать повороту ключа.

12. Размечают место под запорную планку в дверной коробке (рис. 6, в) при однопольных дверях или в дверной обвязке (раме) — при двухпольных дверях. Засов поворотом ключа выводят из корпуса замка и подводят дверь к дверной коробке или дверной обвязке. Защелку и засов обводят карандашом или гвоздем. Горизонтальные ограничительные линии определены, да и минимальная глубина пазов под защелку и засов становится известной. На торец дверной коробки изнутри или на косяк переносят эти горизонтальные линии. Вертикальные две линии проводят в определенной последовательности. Первую линию — на том же расстоянии, на каком засов расположен от края торца двери. Вторую вертикальную линию прочерчивают параллельно первой с учетом толщины засова плюс 2–4 мм. Запорную планку накладываем на возникшие два прямоугольника (для засова и защелки) и обводим ее. Это описан один из вариантов поиска правильного положения запорной планки.

13. Слой древесины снимают из расчета «утопить» заподлицо с торцом двери запорную планку. Углубления под засов и защелку проделывают во вторую очередь. Но можно их высверливать или выдалбливать поначалу. Это проще, ибо избегаем повторного рисования прямоугольников под засов и защелку.

14. Дверь «заводят» в дверную коробку или до нужного контакта с другой дверью (при двухпольных дверях). Защелка автоматически проверит правильность углубления под нее (пружина втолкнет защелку в углубление). Засов вводим в свое углубление поворотами ключа. Если шероховатости древесины препятствуют «вступлению» засова и защелки в углубления, то очистку производят стамеской, долотом или даже отверткой или ножом. Затем засов поворотами ключа «прячут» в корпус замка.

15. Дверь отворяют и устанавливают в положенное место запорную планку. Отверстия под шурупы засверливают на глубину 1/2—3/4 длины этих шурупов. Сверло применяют приблизительно на 1–1,5 мм меньше, чем диаметр шурупа под его головкой. При отсутствии дрели гвоздем проделывают первоначальную часть отверстия. Гвоздь постепенно слабыми ударами вводят в древесину на глубину 4—10 мм, все время раскачивая его. Он тогда не «засядет» и надобность в клещах отпадет. Обязательно ли делать углубления под шурупы через отверстия запорной планки? Нет. Можно лишь наметить законное расположение этих отверстий и убрать запорную планку. Но с запорной планкой точнее, и она как бы выполняет роль кондуктора. Шурупы перед вкручиванием смазывают. Это облегчает заворачивание и предупредит их ржавление.

16. Дверь снова притворяют и пробуют закрыть на замок. Если засов с трудом пробивает себе дорогу или защелка не входит в свое гнездо, то причина в неточном монтаже запорной планки. Она сдвинута в сторону, вверх, вниз и т. п. Невозможность произвести полный поворот ключа, сигнализирует о необходимости углубить гнездо или убрать что-то, мешающее продвижению засова.


Замки дверные врезные с односторонними цилиндровыми механизмами

Это замки, которые открывают ключом лишь с одной стороны двери, обычно с наружной. С внутренней части двери замок замыкают поворотом рукоятки. Эти замки в основном монтируют на входные двери квартир и индивидуальных домов.

Замок данной конструкции врезают в древесину двери в соответствии с разметкой, приводимой в его паспорте. Долотом выдалбливают прямоугольное углубление под корпус замка.

Отверстия под цилиндрический механизм и рукоятку проще всего высверлить. Крупное сверло не обязательно для этого иметь. Сверлом диаметром в 2…3 мм обеспечивают намеченный контур отверстия. Затем стамеской или долотом просекают возникшие перемычки. Ровные края отверстиям придают ножом, напильником и т. п.

Металлическую дверь можно «оснастить» подобным замком. Но без электрической дрели не обойтись, да иногда придется и приваривать уголки или иные «фигурные» детали для закрепления корпуса замка.

К первой группе описываемых замков относят такие, которые имеют цилиндровый механизм с наружной стороны двери и круглую рукоятку с внутренней стороны двери, лежащие на одной оси или почти на одной оси (рис. 8, а, б, в). То есть часть этих замков оснащена цилиндровыми механизмами типоразмеров, приведенных в таблице 1, а замки давнего производства (рис. 8, а, б) — несколько иными цилиндровыми механизмами.



Замки предназначены для запирания дверей толщиной приблизительно в 40 мм правого и левого расположения, открывающихся как внутрь помещения, так и наружу. Оригинальным среди замков этой группы является тот, который предназначен для раздвижных дверей. Он имеет крюкообразный ригельный засов.

Ключи к замкам с цилиндровыми механизмами по форме резко отличны от ключей к замкам с сувальдными механизмами. Эти ключи (рис. 8, в), во-первых, плоские, во-вторых, стержень и бородка или бородки у них объединены между собой, и к этому «альянсу» еще примыкает и рукоятка, в-третьих, бородка или бородки — удлинены, в-четвертых — удобнее для ношения в кармане или для припрятывания.

Однобородчатые ключи описанного типа — это «привилегия» первой и последующей групп замков с одинарными цилиндровыми механизмами.

Вторая группа замков — это те, в конструкции которых по сравнению с первой группой добавлены фиксатор и иногда еще пара управляющих ими фалевых рукояток (рис. 8, г, д, е). Эти замки предназначены для внутренних дверей помещений и имеют частично следующую маркировку: ЗВ4, ЗВ4Д1, ЗВ7Д1, ЗВ9, ЗВ9Д и т. п.

Рукоятки к фиксатору, да и его самого можно отделить от замка при необходимости. Винты крышки корпуса отворачивают и осторожно извлекают детали фиксатора после того, как удалены рукоятки. Сборка вобратном порядке.

Третья группа — это замки с усложненным двухрядным цилиндровым механизмом и рукояткой на одной оси, имеющие еще фиксатор. Такой регулируемый по степени выдвижения фиксатор расположен выше или ниже засова. Замки марок ЗВ5 (рис. 8, ж), ЗВ5 АПС (рис. 8, з) и т. п. относят к этой группе.



Рис. 7. Односторонние цилиндровые механизмы для врезных замков:

а — однорядный типа МЦ2А по ГОСТ 5089-80; б — однорядный типа МЦЗА по ГОСТ 5089-80; в — двухрядный повышенной секретности;

1 — поводок; 2 — ключ двухбородчатый (вынимаемый); 3 — постоянный ключ (рукоятка); 4 — шариковый фиксатор



Рис. 8. Замки дверные врезные с односторонними цилиндровыми механизмами:

а — для раздвижных дверей ГОСТ 5089-56; б — малогабаритный ГОСТ 5089-56; в — типа ЗВ1 по ГОСТ 5089-73; г — встроенный в фалевую рукоятку; д — с роликовым фиксатором; е — типа ЗВ4 по ГОСТ 5089-73 с защелкой; ж — типа ЗВ5 по ГОСТ 5089-73 повышенной секретности; з — марки ЗВ5 АПС по БГИЯ 332 583 006 ТУ повышенной секретности;

1 — рукоятка (внутренняя); 2 — корпус; 3 — запорная планка; 4 — засов; 5 — однобородчатый ключ; 6 — стопорный винт (крепления цилиндрового механизма); 7 — декоративная накладка; 8 — защелка (фиксатор); 9 — фалевая рукоятка; 10 — декоративная планка; 11 — односторонний двухрядный цилиндровый механизм; 12 — двухбородчатый ключ; 13 — передняя планка; 14 — винт регулировки защелки (фиксатора)



Рис. 8. Продолжение


Рис. 8. Продолжение


Ключи замков третьей группы обладают «зубчиками» с двух сторон плоского стержня. Они, значит, двухбородчатые. Это самый зримый показатель усложненности цилиндрового механизма. Да и форма цилиндрового механизма это подтверждает. Здесь центральное цилиндрическое «тело» большего диаметра, чем привыкли видеть глаза. Здесь диаметр (рис. 8, з) доходит до 22 мм в противоположность «нормальному» в 17 мм. Кроме того, от цилиндра в одной плоскости отходят не одна «арка», а две, образующие корпус.

Если в каналах одной «арки» обычного цилиндрового механизма расположено по несколько штифтов-сувальд одинаковой длины, то в усложненной конструкции цилиндрового механизма, во второй «арке», есть аналогичный набор штифтов-сувальд, обеспечивающих повышенную секретность замка. Кроме того, замки третьей группы обладают важным качеством. Достаточно после запирания двери на засов поворотом рукоятки (изнутри помещения) еще немного вывести эту рукоятку из фиксированного положения, которое определяют по щелчку шарикового фиксатора, как дверь невозможно будет открыть снаружи «родным» ключом (рис. 7, в).

(Продолжение следует)

Удобная мансарда

Л.А.Ерлыкин


Встроенный шкаф

Встроенная и трансформируемая мебель, как правило, дает возможность значительно улучшить планировку мансарды, не используя ее полезную площадь.

Встроенный шкаф (рис. 1) занимает объем между стенкой и крышей. Он имеет две неглубокие полки для белья 1 и 2, две штанги 3 для вешалок (легкая летняя одежда). Штанги закреплены одним концом к обрешетке крыши, другим — в доске 4. Внизу расположена еще одна полка 5. Для удобства пользования она имеет крышку 6.



Рис. 1


Основу шкафа составляет дверной косяк. Две вертикальные стойки 1 (рис. 1, сечение А-А) каркаса крыши — боковые части косяка. Зашивку стены 2 обрезают так, как это показано на рисунке. Дополнительно набивают рейку 3.

В вертикальные стойки 1 (рис. 1, сечение Б-Б) вверху врезают и прибивают гвоздями горизонтальную доску 2 — «потолок» шкафа. Здесь: 3 — зашивка стены, 4 — дверь, 5 — наличник.

Внизу к полу прибивают две рейки 1 и 2 (рис. 1, сечение В-В). Здесь 3 — дверь.

Посередине шкафа укрепляют вертикальную двойную рейку 1 и 2 (рис. 1, сечение Г-Г), имеющую Т-образное сечение. Здесь 3 — дверь.

Если посмотреть на рис. 1, то видно, что некоторый объем шкафа (на рис. 1 заштрихован) не используется, но и его можно приспособить к делу, если расположить в нем многокомпозиционную вешалку для брюк 7. Ее делают из фанеры толщиной 3–5 мм и окрашивают любой краской (лаком, эмалью).

Стенки шкафа зашивают оргалитом или другим листовым материалом. Внутри все окрашивают.

Двери филенчатые. Обвязка из доски толщиной 25–30 мм. Филенки из фанеры; можно использовать тонкий оргалит или декоративный бумажно-слоистый пластик. Навешивают двери на петли 4 (см. рис. 1, сечение А-А), которые ставят внакладку. Прибивают наличник 5. Двери (если они сделаны из фанеры) с обеих сторон покрывают бесцветным лаком, например, ПФ-283 (бывший 4С).


Ниши и рундуки

Пространство между стеной и крышей мансарды можно использовать для устройства ниш 1 (рис. 2). В них на полках располагают различную радио- и видеоаппаратуру, декоративную керамику, цветы и т. п.



Рис. 2


Ниже полок, на «первом этаже», обустраивают рундуки 2. В них убирают на день постельные принадлежности, хранят белье, одежду и т. п.

Каркас такой конструкции собирают в следующем порядке. Зашивку стены 1 (рис. 2, сечение А-А) обрезают вровень с вертикальными стойками 2 каркаса крыши. Стругаными досками 3 зашивают боковые стенки ниши и рундука. Крышку рундука (она же полка ниши) собирают на двух поперечных отрезках брусков 5. Крышка (в закрытом виде) опирается на два отрезка брусков 6, прибитых к доскам 3 боковой стенки. Крышку рундука навешивают на горизонтальный брусок, закрепленный к обрешетке крыши.

Вторая и третья полки и верх ниши делают из досок 1 (рис. 2, сечение Б-Б), прибивая их с помощью дополнительных реек 2 к боковой стенке 3. Обрешетку крыши обшивают фанерой (оргалитом, досками).

Такие ниши и рундуки можно сделать по обеим сторонам мансарды. Однако лучше смотрится мансарда, у которой встроенный шкаф расположен по одной стене, а ниши с рундуками — по другой.

Естественно, что некоторые из ниш можно застеклить, используя пластмассовые Ш-образные полозки (стекла раздвижные).


Столик

При небольшой мансарде и большом количестве спальных мест трудно выкроить место для стола. В этом случае проблему может решить раскладной (трансформируемый) столик, который в обычное время выполняет роль прикроватной тумбочки (рис. 3, а). При необходимости иметь столик поднимают и фиксируют две откидные доски. В таком виде за столиком свободно могут расположиться четыре человека.



Рис. 3


Царга 1 представляет собой четыре отрезка струганой доски, которые с помощью клея и шурупов закреплены к ножкам 2. Столешница 3 размером 450x450 мм собрана на нагелях и клею. Она крепится к царге с помощью двух промежуточных реек 4 (рис. 3, б).

С двух сторон столешницы 3 (см. рис. 3, а) на петлях закреплены две доски 5, превращающие тумбочку в столик. Доски 5 фиксируют в горизонтальном положении выдвижными рейками 6.

Выдвижные ящички 1 (рис. 3, в) скользят по двум Г-образным рейкам 2. Последние можно заменить двумя отрезками Г-образного алюминиевого профиля.

Столик окрашивают укрывистыми красками или покрывают бесцветным лаком.


Двери

Одним из самых сложных дел для начинающих строителей является изготовление дверей. При их устройстве важна точная и надежная связка узлов, иначе дверь со временем перекосит. В заводских условиях этого добиваются за счет точных шиповых соединений на клею.

Ниже предлагается дверь, которая по конструкции такова, что никогда не перекашивается. Ее может сделать любой начинающий строитель, умеющий держать в руках молоток и пилу.

Дверь на нагелях. Она (рис. 1) состоит из 5–8 сплоченных на нагелях сухих досок, кромки которых отфугованы. Для сплочения двух досок достаточно иметь в их соединении 5–6 нагелей! Нагели и кромки досок склеены клеем ПВА под давлением (с помощью клиньев).



Рис. 1


Снаружи дверь имеет декоративную окантовку из фигурного штапика. С внутренней стороны на двери имеются две накладки и планка для установки замка, задвижки, ручки и т. п.

Две накладки, представляющие собой отрезки доски, устанавливают на шурупах: по два шурупа на каждую доску двери.

Сплоченную высохшую дверь обрезают (выравнивают) с двух торцов по угольнику. На торцах двери (вверху и внизу) ставят на клею и прибивают рейки (по два гвоздя на каждую доску двери). Снаружи прибивают окантовку. Дверь готова. Навешивают ее так, чтобы петли приходились на торцы накладок.

Разметка нагелей. Для разметки положения нагелей желательно иметь разметчик — отрезок дюралевой тавровой (Т-образной) рейки 1 (рис. 2). Один (начальный) конец рейки окрашивают. В рейке просверлены два отверстия 3, расстояния между которыми выбирают из расчета, чтобы на доске было 5 или 6 нагелей. Если нагели имеют диаметр 8 мм, то отверстия делают диаметром 2,5 мм.



Рис. 2


В кромке доски сверлят через разметчик первое отверстие (рис. 3) на глубину чуть больше половины длины нагеля. Вставляют в это отверстие, не убирая разметчика, подходящий по диаметру гвоздь и сверлят второе отверстие. Передвигают разметчик на второе положение, фиксируют его гвоздем, сверлят третье отверстие и т. д.



Рис. 3


Во второй доске сверлят отверстия, прикладывая разметчик другой стороной (рис. 4). Только в этом случае отверстия будут попарно совпадать.



Рис. 4


Окончательно отверстия рассверливают под диаметр несколько меньший, чем диаметр нагеля (чтобы он входил с небольшим натягом). Нагели ставят на клею ПВА в одну кромку каждой доски так, чтобы направляющие концы нагелей были снаружи. Затем выступающие концы нагелей и кромки сплачиваемых двух досок намазывают клеем. Плотно сбивают их киянкой и стягивают в клиновом прессе (рис. 5). Выдерживают первую сплоченную пару досок не менее 8 ч, затем наращивают третью доску, стягивают все в клиновом прессе и т. д.



Рис. 5


После сплачивания третьей-четвертой доски ставят на шурупах обе накладки.

Изготовление нагелей. Их вытачивают с помощью простого самодельного инструмента (рис. 6).



Рис. 6


Его делают из закаливающейся стали толщиной 3–4 мм. Сначала в стальной пластине сверлят центральное отверстие, затем по разметке (обязательно накернить!) сверлят 8 или 12 радиальных отверстий. Рабочие поверхности затачивают и инструмент закаливают.

На каждый размер (диаметр) нагеля в инструменте делают три рабочих отверстия. Они различаются друг от друга на 0,6–0,7 мм (это для диаметра нагеля 8 мм).

Штапик из твердой древесины (береза, клен, бук и т. п.) квадратного сечения 8x8 мм с подструганным концом вводят в рабочее отверстие 1. Вращая штапик по часовой стрелке и слегка подавая вперед, снимают первую стружку. Таким же образом обрабатывают заготовку во 2-м и 3-м отверстиях. В результате получают круглую в сечении заготовку. Затем ее режут на нужные части (отрезки) — нагели. Концы нагелей заваливают (один, направляющий конец, — несколько больше).

Кроме дверей, на нагелях сплачивают столешницы, сиденья различной мебели, спинки кроватей, ставни и т. п.

Сложнее изготовить так называемую филенчатую дверь (рис. 7).



Рис. 7


Здесь надо проявить некоторое умение и тщательность в изготовлении всех узлов двери. Дверь состоит из обвязки 1, сделанной из ровных (без сучков) и сухих досок толщиной 40–60 мм и шириной не менее 90 мм. В окна обвязки по пазам вставлены и закреплены филенки 2 — щиты, набранные, например, из вагонки толщиной 15 мм. Филенки «классического» типа изготовляют из фугованных и склеенных в прессе досок такой же толщины, что и обвязка. Края филенки заваливают на фуговальном станке так, чтобы узкая сторона входила в паз обвязки (сечение А-А).

Пазы в обвязке выбирают на станке фрезой нужной толщины. Их можно также сделать вручную за два приема. Шпунтубелем с узкой железкой выстругивают две канавки, затем стамеской удаляют середину между резами.

Обвязку собирают на глухих шипах (рис. 8) и на клею (лучше применять клей ПВА, «Дубок», синтетический столярный и им подобные).



Рис. 8


Проушины для шипов делают так. Сверлят в нужном месте два сквозных отверстия диаметром чуть меньше толщины шипа (рис. 9). Затем стамеской выбирают всю проушину.



Рис. 9


Особое внимание уделяют изготовлению шипов. Шип должен входить в проушину с небольшим натягом. Скорректировать неточное изготовление проушины и шипа может любой безусадочный клей, а лучше шпаклевка на основе этого клея. В этом случае можно рекомендовать эпоксидный клей или эпоксидную шпаклевку. Последнюю можно получить из клея, замешав в нем (до введения отвердителя!) около 15 % по объему мелкопросеянного наполнителя (кварцевая мука, тальк, окись алюминия, чистый песок и др.).

Дверь с проклеенными шипами и вставленными на клею филенками закладывают в клиновый пресс и затягивают ее. Ставят в шиповых соединениях запирающие нагели и оставляют дверь сохнуть на сутки-двое.

Высохшую дверь извлекают из пресса, красят и устанавливают (навешивают) на место

УМЕЛЬЦЫ — УМЕЛЬЦАМ

Канализационная сеть на приусадебном участке

В.В. Ильин


Статья продолжает тему об инженерном благоустройстве сельского дома, начатую статьями «Артезианская скважина на приусадебном участке» («Сделай сам», № 3, 1994) и «Автономное водоснабжение и водяное отопление в сельском доме» («Сделай сам» № 3, 1995).

Наружная канализационная сеть может быть выполнена или только для утилизации сточных вод, или комбинированной, то есть такой, в которой наряду с утилизацией предусматривается еще и возможность использования канализационных отходов для удобрения и орошения приусадебного участка.

Использование сточных вод для орошения приусадебного участка в отличие от полевых условий имеет ряд специфических особенностей, которые необходимо учитывать.

При этом будем исходить из следующих условий:

1. Количество людей, постоянно проживающих в доме, — 4 чел.

2. Количество людей, временно проживающих в доме, — 3 чел.

3. Сроки проживания (п.2) — июнь — август

4. Норма водоотведения на 1 человека — 100 л/сутки

5. Глубина залегания водоносного слоя — 3,6 м

6. Почва участка — супесь рыхлая

7. Площадь участка —1200 кв.м

9. Планировка участка (рис. 2)

9. Планировка дома с указанием размещения санитарно-технических приборов (рис. 13)

10. Местность, в которой расположен участок — Подмосковье.


Сточные воды, их характеристика и биологический метод очистки

Если налить в прозрачную бутылку сточную воду и дать ей отстояться в течение нескольких часов, то на дне образуется осадок. Это выпали нерастворенные твердые вещества. Жидкость, находящаяся выше осадка, стала более светлой, но не прозрачной. Следовательно, в ней имеются полурастворенные вещества. Частицы этих веществ настолько легки, что остаются во взвешенном состоянии в результате тепловых обменов потоков, происходящих в жидкости. При фильтровании жидкость станет прозрачной, а полурастворенные вещества останутся на тонком фильтре.

Прозрачная отфильтрованная жидкость, оставленная на несколько дней на воздухе, начнет издавать неприятный запах, что свидетельствует о процессе гниения органических веществ.

Из приведенного примера можно сделать однозначный вывод: даже самая тщательная очистка сточных вод механическими средствами не в состоянии освободить ее от присутствия органических веществ, которые являются питательной средой для микробов, в том числе и болезнетворных. В одном кубическом сантиметре сточных вод содержится несколько сот миллионов бактерий. Они подразделяются на безвредные и болезнетворные (патогенные). Последние являются возбудителями таких заболеваний, как брюшной тиф, паратиф, дизентерия и пр. Сточные воды содержат еще яйца гельминтов (глистов), а также особого вида бактерий — группы кишечной палочки. Степень загрязненности канализационных стоков патогенными бактериями определяется наименьшим количеством воды, в которой содержится одна кишечная палочка (колититр). Так, если титр кишечной палочки равен 100, то это значит, что одна кишечная палочка содержится в 100 мл исследуемых стоков, если 10 — в 10 мл и т. д.

К сточным водам относят и дождь, так как он смывает на своем пути всю грязь с крыш, дворов и дорог.

Процесс самоочищения, происходящий в природе непрерывно, представляет собой разрушение органических веществ и переход их в минеральные вещества. В целом этот процесс называется минерализацией.

В природе она происходит в воде и в верхних слоях почвы под воздействием бактерий и микроорганизмов, использующих кислород. Эти бактерии носят название аэробных. Если кислорода в воде и почве достаточно, а концентрация загрязнений невелика, то органические вещества полностью преобразуются в минеральные кислоты и соли.

При недостаточном количестве кислорода и высокой концентрации загрязнений (например, выгребная яма) происходит более медленное разложение органических веществ с выделением сероводорода, аммиака и метана. Этот процесс протекает под воздействием бактерий, носящих название анаэробных. И в том и в другом случае переход органических веществ в минеральные лишает питательной среды микронаселение, и бактерии отмирают. Такой метод очистки называется биологическим. Очистка сточных вод на приусадебном участке основана на использовании биологического метода.

Бесплатное или почти бесплатное использование очищенных сточных вод для полива с одновременным внесением удобрений дает немалую выгоду.

В сточной воде, прошедшей биологическую очистку (в расчете на одного жителя в год), содержится: фосфатов — 1 кг; калия — 2,5 кг; органических веществ — 7 кг. Подобно сточной воде, осадки также содержат питательные вещества, которые могут быть использованы на сельскохозяйственные нужды (в расчете на одного жителя в год): азота — 500 г; фосфатов — 250 г; калия — 75 г; органических веществ — 7,5 кг.

Однако этого количества питательных веществ недостаточно для нормального роста растений. Поэтому требуется дополнительное внесение в почву минеральных удобрений. Тем не менее эффект от удобрения и орошения сточными водами составляет соответственно в среднем 20 и 80 %.


Наружная канализационная сеть с устройствами для биологической очистки и орошения

Прежде чем проектировать наружную канализационную сеть, необходимо определить местоположение границ первого и второго санитарного поясов относительно источника водоснабжения. Заметим, что канализационные стоки должны отводиться за пределы второго санитарного пояса.

По пути следования загрязнений к водоносному слою происходит их самоочищение. Мельчайшие примеси и бактерии остаются на поверхности частиц, из которых состоят земляные породы. Этот процесс называется адсорбцией. Адсорбция породы тем эффективнее, чем меньше отдельные частицы, из которых она состоит, так как с уменьшением размеров частиц площадь прилипания увеличивается.

Подземный источник в месте забора воды защищен от патогенной микрофлоры, если время фильтрации на пути до него длится более 31 суток. За это время патогенная микрофлора погибает.

Расстояние, необходимое для ее гибели, определяется формулой:

Iг = √(31∙KH) — Iв (1)

где:

Iг — горизонтальная составляющая пути фильтрации в метрах, равная расстоянию от артскважины до границы санитарного пояса;

Iв — вертикальная составляющая пути фильтрации в метрах, равная расстоянию между дном емкости с нечистотами и наивысшей точкой водоприемной части фильтра;

Н — величина расчетного напора (для ям, шурфов, выгребных ям и т. д. максимальная высота жидкости, содержащейся в них);

31 — время фильтрации в сутках, необходимое для гибели патогенной микрофлоры;

К — коэффициент фильтрации (он характеризует фильтрационные свойства породы, приводится в таблице 1).



Для облегчения расчетов коэффициент фильтрации принимается единый, так как коэффициенты фильтрации пород, лежащих выше начала фильтра буровой скважины, отличаются друг от друга не более чем на 50 %.

Другим упрощением расчетов является допущение того, что движение подземных вод считается как бы отсутствующим, так как оно в большинстве случаев лежит в пределах 0,1–1 м/сутки.

На территории первого санитарного пояса не должно быть ям, в которых могла бы скапливаться вода, не допускается складирование строительных материалов или мусора, сжигание последнего, применение удобрений. Нечистоты должны отводиться за пределы санитарного пояса по герметичной канализационной системе.

При определении расстояния от артскважины до границы первого санитарного пояса условно полагаем, что на ее границе существует ямка глубиной 0,1 м, заполненная атмосферными осадками. Такое предположение создает санитарный запас, так как отодвигает границу санитарного пояса.

Определяем числовые величины буквенных обозначений, входящих в формулу 1. Глубина залегания водоносного горизонта принимается равной 3,6 м. Считаем, что начало водоприемной части фильтра совпадает с глубиной залегания водоносного слоя. Вертикальная составляющая пути фильтрации (Iв) будет равна 3,6 – 0,1 = 3,5 м. Глубина ямки 0,1 м. За величину расчетного напора (Н) принимаем 0,1 м. Согласно таблице 1 коэффициент фильтрации супеси рыхлой колеблется от 0,864 до 5, 8 м/сутки. В целях создания санитарного запаса принимаем коэффициент фильтрации (К) равный 5,2 м/сутки.

Горизонтальная составляющая пути фильтрации (Iг) численно равна расстоянию от артскважины до границы первого санитарного пояса. Рассчитываем ее по формуле: Iг = √(31 x 5,2 x 0,1) — 3,5 = 0,52 м. Устанавливаем, что граница первого санитарного пояса находится на расстоянии 0,52 м от артскважины.

Санитарные требования к территории второго пояса несколько ослаблены, но и здесь считается недопустимым проникновение нечистот с дневной поверхности в водоносный горизонт. Поэтому все дороги и постройки должны иметь водонепроницаемые основания, применение органических удобрений возможно только после полноценного компостирования, а канализационные стоки должны надежно отводиться за пределы второго санитарного пояса.

Компостирование считается полноценным, завершенным, когда внутри компостной кучи не происходит гниения. Отбросы разлагаются микроорганизмами и грибками, при этом температура внутри кучи поднимается до 60–70 °C. Под действием температуры и антибиотиков, которые вырабатываются грибковыми образованиями, болезнетворные бактерии погибают. Непременным условием этого процесса является доступ воздуха внутрь кучи. Для чего кучу необходимо периодически перекладывать (перелопачивать) таким образом, чтобы нечистоты с поверхности кучи, не пронизанные грибковыми нитями, были заложены внутрь и весь объем кучи подвергся прогреванию. Обычно компостную кучу формируют в виде вала, высота которого должна быть не менее одного метра, а ширина и длина не регламентируются.

Согласно предварительно составленному проекту, система канализации должна заканчиваться фильтрующим колодцем, глубина которого 2,5 м, а высота заполнения 1 м (напор Н) (рис. 1).



Рис. 1. Фильтрующий колодец:

1 — люк; 2 — крышка; 3 — вентиляционная труба; 4 — наливная труба; 5 — фильтр; 6 — кирпичная кладка «в разбежку»


Расстояние между дном фильтрующего колодца и водоносным горизонтом равно 3,6 – 2,5 = 1,1 м. Эта величина является вертикальной составляющей Iв

Iг = √(31∙5,2∙1 – 1,1) = 11,5 м.

Следовательно, граница второго санитарного пояса проходит на расстоянии 11,5 м от артскважины. На рис. 2 представлен план приусадебного участка с нанесением границы второго санитарного пояса.



Рис. 2. План приусадебного участка:

1 — жилой дом; 2 — место артскважины; 3 — площадь второго санитарного пояса; 4 — смотровой (одновременно поворотный) колодец; 5 — канализационная трасса; 6 — септик; 7 — фильтрующий колодец; 8 — гараж; 9 — хозяйственные помещения; 10 — хлев; 11 — навозная куча; 12 — компостная куча


В приведенном примере первый санитарный пояс расположен под крышей строения и надежно защищен. В том случае если граница первого санитарного пояса находится под открытым небом, его территория должна быть спланирована так, чтобы дневные воды не могли на ней задерживаться. На площади первого санитарного пояса могут быть высажены только те растения, которые не требуют удобрения и искусственного полива: облепиха, сирень, акация, ландыш, цикорий, зверобой и др. На площади второго санитарного пояса могут произрастать любые растения при условии, что в качестве удобрения будет использован полноценный компост. Применять свежий навоз, химические удобрения и средства борьбы с вредителями не следует. Полив посадок производят только чистой водой.

За пределами второго санитарного пояса можно применять любые удобрения, в том числе и канализационные стоки, если только в месте орошения ими грунтовые воды будут находиться на глубине более 1,25 м от поверхности земли.

Наружная канализационная сеть, рассчитанная на использование сточных вод для орошения и удобрения приусадебного участка, находящегося на песчаных и супесчаных фунтах с глубиной залегания первого водоносного горизонта ниже 3,5 м и не имеющего сброса неиспользованных сточных вод в водоем, представлена на рис. 2 и 12.

Канализационная сеть начинается с выпуска (рис. 3), за которым следует первый смотровой колодец (рис. 4), промежуточные колодцы, аналогичные с ним по конструкции, септик (рис. 5) и фильтрующий колодец (рис. 1). Колодцы, устраиваемые на прямых участках канализационной сети, называются линейными, а в том случае, если меняется направление, — поворотными.




Рис. 3. Выпуск:

а — ниже фундамента здания (1 — выпуск; 2 — утеплитель; 3 — ограждение); б — через фундамент здания



Рис. 4. Смотровой колодец:

1 — основание; 2 — лоток; 3 — крышка внутренняя, 4 — люк



Рис. 5. Септик:

1 — бетонная плита; 2 — иловая часть септика; 3 — наливная и выпускная трубы; 4 — вентиляционная труба; 5 — наружная и внутренняя крышки; 6 — гидроизоляция «глиняный замок»; 7 — перегородка


Сточные воды, прошедшие десятидневное пребывание в септике, считаются достаточно перегнившими для сброса их в ближайший водоем.

В этом случае фильтрующий колодец не требуется.

Возможность сооружения септика определяется глубиной залегания верхнего водоносного слоя. Септик должен сооружаться выше уровня постоянного стояния грунтовых вод, допуская при этом, что уровень грунтовых вод может только временно подниматься выше дна септика. Канализационная сеть, сооруженная ниже уровня фунтовых вод, постепенно разрушаясь, может превратиться из системы канализации в систему осушения.

Для выпуска, как и для системы наружных канализационных трубопроводов, наименьшая глубина залегания должна выбираться на основании опыта эксплуатации сетей в данном районе. При отсутствии таких данных глубину залегания лотка трубопровода выбирают следующим образом: для труб диаметром до 500 мм — на 0,3 м менее наибольшей глубины проникновения в грунт нулевой температуры. Это объясняется тем, что опасность замерзания сточных вод в канализационных трубах значительно меньшая, чем в водопроводных, так как по ним протекают сточные воды с плюсовой температурой 5—10 °C. Кроме того, вся система канализации вентилируется теплым воздухом из септика.

В том случае если трубопроводы будут укладывать выше глубины промерзания более чем на 0,3 м, они должны быть утеплены. Утепляют их, укладывая в короба с теплоизоляционными материалами, как это показано на рис. 3, а. Ограждающий короб необходим для того, чтобы теплоизоляционные материалы «не растворились» в грунте. В качестве теплоизоляционного материала могут быть использованы: шлак, керамзит и стекловата, а в качестве материала для короба — доски, шифер, металл, кирпич и т. д. Толщина теплоизоляционного слоя должна быть не менее 120 мм.

В месте прохода выпуска через кладку фундамента в последний закладывают трубу большого диаметра, называемую футляром, а пространство между выпуском и футляром заполняют мятой глиной, смешанной с паклей. Наименьшие уклоны трубопроводов для хозяйственно-фекальных сточных вод при диаметре труб до 125 мм — 0,01, то есть уклон составит 1 см на длине 1 м. Это минимальный уклон, при котором скорость потока обеспечивает самоочищение труб. Естественным основанием для труб могут служить пески, супеси, суглинки, глины и более твердые фунты.

Сооружать системы канализации начинают с колодцев и очистных сооружений: септика и фильтрующего колодца. Для них роют котлованы с наклонными стенками. Вынутый фунт должен быть отброшен от края котлована на 1–1,5 м. Учитывая, что при сооружении канализации с участка должно быть удалено более 10 кубометров фунта, целесообразно организовать его вывоз одновременно с отрытием котлованов. Необходимость укрепления стенок котлованов решается в каждом конкретном случае. Копать котлованы далеко не безопасно, так как возможны обрушения стенок, особенно в сырую погоду. Люди, работающие в котловане, должны находиться под постоянным присмотром работающих на поверхности земли. В случае опасности последние должны оказать немедленную помощь, главная из которых — поднять работающих наверх.

Копать траншеи под прокладку канализационных трубопроводов необходимо после возведения колодцев и септика. Меры безопасности при этом аналогичны мерам безопасности, применяемым при отрытии котлованов.

Укладывать канализационные трубы начинают с самой глубокой отметки — от фильтрующего колодца в направлении к дому. Раструбы канализационных труб должны быть направлены навстречу потоку жидкости. Необходимо, чтобы трубы контактировали с дном траншеи по всей длине на площади не менее 1/4 диаметра трубы. В илистых, торфянистых и других слабых грунтах укладывают на искусственное основание слой щебня или гравия толщиной не менее 15 см.

Прямолинейность укладки труб между отдельными колодцами проверяют по шнуру, который натягивают на небольшой высоте над проложенными трубами, а уклон — по специально изготовленной линейке и уровню. В качестве линейки может быть использована прямолинейная жесткая рейка (типа планки штакета) длиной 1,1 м. На ней закреплены деревянные призмы, центры которых расположены на расстоянии 1 м друг от друга, а разность их высот равна величине уклона.

Из рисунка 6 (замер уклона и конструкция линейки) видно, что высота призм разнится на один сантиметр при расстоянии между ними 1 м, что соответствует заданному уклону.



Рис. 6. Линейка (1) с уровнем (2)


Герметизацию стыков канализационных труб производят с помощью просмоленного каната и цементной заделки (рис. 7).



Рис. 7. Заделка раструба:

1 — цемент; 2 — канат


Для создания герметичного соединения на вставленную в раструб трубу навертывают кольцом жгут из смоленого каната и при помощи канопатки загоняют в зазор раструба, заполняя его на 2/3. В этот момент трубы еще имеют небольшую подвижность в стыках. Перед цементацией последних необходимо проверить правильность расположения трубопроводов по уклону и прямолинейность, после чего оставшуюся часть раструба окончательно заделывают цементом. Цементную массу приготавливают из цемента марки 400 или 300 в соотношении: 9 частей цемента и 1 часть воды. Полученная масса должна быть рассыпчатой. Раструб заполняют ею, уплотняют и зачеканивают до тех пор, пока чеканка не начнет отскакивать от цемента. Перед засыпкой траншеи правильность укладки трубопровода проверяют на свет. Для этого на одном конце трубы устанавливают фонарь, а на другом — зеркало под углом к оси трубы. В зеркале должен отражаться правильный световой диск. Перед окончательной засыпкой траншеи трубопровод надо закрепить, для чего пространство между ним и стенками траншеи засыпают грунтом и притрамбовывают.

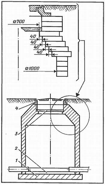
Первый смотровой колодец, изображенный на рисунке 4, должен быть расположен так, чтобы длина выпуска от стены здания до колодца была не менее 3 и не более 10 м. Линейные смотровые колодцы устраивают на прямолинейных участках сетей на расстоянии 20–25 м. Расстояние между поворотными колодцами не регламентируется.

Диаметр круглого колодца обычно равен 1000 мм. При глубине заложения до 1200 мм и диаметре трубы менее 150 мм он может быть уменьшен до 700 мм, а при глубине заложения более 3 м диаметр колодца следует делать не менее 1500 мм.

Основанием колодца служит бетонная плита толщиной 100 мм. Глубина лотка равна наружному диаметру трубы. Площадка, образующаяся между лотком и стенкой колодца, называемая «полочкой», имеет уклон в сторону лотка. Повороты в лотках должны быть плавными с радиусами закругления 200–300 мм. Начало поворота лотка находится на расстоянии 50—100 мм от стенок колодца. Для изготовления лотков используют цемент марки 400. Цементный раствор приготавливают из расчета 1:3. Бетонная смесь не должна содержать большого количества воды, так как пространство, занимаемое водой, после затвердевания станет порами, а затвердевший бетон будет водопроницаем.

Для придания прочности и водонепроницаемости лотки и полочки железнят. Для этого приготавливают тестообразный раствор, состоящий из одного цемента и воды, и наносят его на свежеуложенный раствор слоем 2–3 мм.

Круглые колодцы выкладывают, как правило, тычковыми рядами, переход в которых от рабочей камеры к горловине осуществляют благодаря напуску в каждом ряду от 2 до 3 см. Одна сторона кладки остается отвесной на всей высоте колодца. На ней через каждые 5–6 рядов устанавливают скобы в шахматном порядке, которые образуют лестницу. Горловины колодцев закрывают люками. Для установки люков опорную часть колодца выкладывают диаметром 700 мм. Чугунные люки изготавливают двух типов: тяжелые весом 134 кг, предназначенные для установки на проезжей части улиц и легкие весом 80 кг.

При сооружении канализации на приусадебном участке канализационные колодцы могут быть выполнены более экономично: рабочую камеру колодца выкладывают в 1/2 кирпича, а переход от рабочей камеры к горловине, хотя и выполняют тычковыми рядами, но напуск увеличивают до 4 см на каждый кирпич, в силу чего каждый переходной ряд уменьшает диаметр на 8 см, что, в свою очередь, уменьшает количество переходных рядов. Люк колодца устанавливают выше поверхности земли на 100–150 мм и вокруг него сооружают отмостку диаметром 1,5–2 м.

В таких колодцах вместо скоб используют навесные лестницы.

На рисунке 4 представлен вертикальный разрез первого смотрового колодца, выполненного в соответствии с данными рекомендациями.

Толщина его стенок — 1/2 кирпича, внутренний размер колодца — 1000 мм, диаметр рабочего кольца — 700 мм. Для выполнения перехода с 1000 мм на 700 мм необходимо определить количество рядов и высоту переходной части колодца. С этой целью производим следующие вычисления: 1) разница диаметров составляет 1000— 700=300 мм; 2) при напуске на один ряд 80 мм количество рядов равно 300/80 = 3,9 или округленно 4 ряда; 3) определяем высоту конической части колодца, исходя из того, что высота одного ряда кирпича с нанесенным на него раствором составляет 7,5 см; 4 x 7,5 = 30 см.

Между конической частью колодца и люком должно быть уложено не менее 4 рядов кирпича.

Все сточные воды, включая воды от стирки, мытья посуды и т. д., пройдя колодцы, поступают в перегниватель или септик, в котором происходит биологическая очистка. Септик представляет из себя проточный резервуар, в котором при медленном движении сточных вод на дно оседают взвешенные частицы веществ. При отстаивании из жидкости выделяется в осадок до 50–80 % гельминтов. Гнилостные бактерии разлагают содержащиеся в осадке органические вещества, а также вещества, находящиеся во взвешенном или полурастворенном состоянии. В результате биологической переработки все они превращаются в ил. Процессы, происходящие в септике под действием анаэробных бактерий, не требуют наличия света и воздуха. На скорость сбраживания существенное влияние оказывает температура жидкости. Сбраживание происходит в септике при температуре сточных вод +10 °C за 120 дней, при +25 °C за 25 дней.

На практике ограничиваются более короткими сроками сбраживания, при которых происходит лишь частичное разложение. Минимальный срок пребывания в септике составляет два дня, что необходимо для удаления только взвешенных частиц. Такое отстаивание сточных вод является минимальным требованием для отвода их в почву. Однако для отвода сточных вод в водоемы такой очистки недостаточно. Для получения более высокой степени сбраживания сточные воды выдерживают в септике в течение 10 суток. В этом случае сточную воду можно считать в значительной степени перегнившей.

Как мы условились, в доме постоянно проживают 4 человека, а в летнее время семья увеличивается до 7 человек. Количество воды, приходящейся на одного человека, составляет 100 л/сутки. Следовательно, ежедневное количество сточных вод от семьи будет составлять 100 x 7 = 700 л, а за 10 дней — 7000 л, или 7 м3. Значит, рабочая камера септика должна иметь рабочий объем, равный 7 м3.

Для определения геометрических размеров септика зададимся его глубиной, учитывая следующие соображения.

Содержимое септика распределяется таким образом, что внизу находится осадок, в средней части жидкость, а на поверхности плавающие вещества. Септик рассчитывают так, чтобы между донным осадком и слоем плавающего ила находился слой жидкости высотой 1–1,2 м. Тогда происходит перемешивание и сбраживание содержимого септика, благодаря чему вновь поступившая сточная вода эффективно заражается гнилостными бактериями. Для бытовых сточных вод расход выпадающего осадка составляет 0,8 л/сутки на одного человека.

При расчете емкости иловой части септика учитывают, что в нем происходит распад ила в среднем на 30 %. Для биологического разложения очень важно, чтобы поступающая в септик сточная вода постоянно заражалась, смешиваясь с водой септика, содержащей гнилостные бактерии. Этого можно добиться, если при эпизодическом извлечении из септика ила (осадка) последний будет удаляться не весь, а только на 80 %. Очищать септик от ила целесообразно один раз в году. Очистка от ила может производиться ассенизационной машиной или вручную — откачкой насосом с последующим вычерпыванием. Обычно расстояние от поверхности земли до дна септика принимается в соответствии с высотой всасывания насоса ассенизационной машины, но не более 3,2 м. На основании приведенных выше данных определим геометрические размеры септика (рис. 5).

1. Определение объема иловой камеры. Учитывая, что в летнее время количество проживающих в доме увеличивается на 3 человека, а в субботние и воскресные дни будут посетители, условно принимаем количество постоянно проживающих в доме не 4, а 5 человек.

Количество человеко-дней в году… 365 x 5 = 1825

Объем осадка, выпадающего в септик… 1825 x 0,8 = 1460 л.

Объем осадка с учетом его распада на 30 %… 1460 x 0,7 = 1022 л.

Объем осадка с учетом сохранения 20 %… 1022 x 1,2 = 1226 л.

2. Определение рабочего объема септика

(объем рабочей + иловой камер): 7,0 + 1,226 = 8,23 м3.

3. Определение диаметра рабочей камеры,

объем которой 7 м3 и высота 1,2 м. V = 7 м, Н = 1,2 м.



4. Определение высоты иловой камеры,

диаметр которой 2,75 м и объем 1,23 м



5. Определение высоты рабочего объема септика:

1,2 + 0,21 = 1,41 м.

6. Определение расстояния от уровня жидкости до начала перехода.

Наружный диаметр подводящей трубы… 109 мм

Расстояние от жидкости до подводящей трубы… 50 мм

Расстояние от подводящей трубы до начала перехода… 50 мм.

Итого… 209 мм

7. Определение количества рядов в переходе. Устанавливаем, что септик будет закрываться крышкой диаметром 1600 мм. Количество рядов, необходимое для перехода с диаметра 2750 мм на диаметр 1600 мм, равно

(2750 – 1600)/080 =14,3 ряда.

Округляем до 14 рядов.

8. Определение высоты перехода.

14 x 7,5 = 105 см=1,05 м.

9. Определение высоты цилиндрической части септика, расположенного выше перехода и состоящего из 5 рядов.

5 x 7,5 = 37,5 см = 0,375 м.

10. Определение полной высоты септика (выше бетонного основания).

1,41 + 0,209 + 1,05 + 0,375 = 3,045 м.

11. Определение местоположения разделительной стенки между камерами. В двухкамерных септиках перваякамера по размерам превосходит вторую в три раза, так как в нее поступает большее количество взвешенных веществ, в ней происходит совместное разложение сточных вод и осадка. Во второй камере жидкость более чистая, количество осадка и плавающих веществ резко уменьшается. Для того чтобы из рабочего объема септика выделить вторую камеру, объем которой составляет 25 % рабочего объема септика, необходимо вычислить расстояние Z (рис. 8, а). Эта величина может быть определена путем умножения внутреннего радиуса септика на коэффициент, равный 0,59. В нашем случае

Z = (2,75/2)∙0,59 = 0,81 м.



Рис. 8. Определение места перегородки в септике:

а — двухкамерный септик; б — трехкамерный септик


Разделительную стенку в септике делают в один кирпич, хотя она не несет одностороннего давления, так как при опорожнении септика камеры опоражняются одновременно, но она постоянно находится под разрушительным воздействием растворенных в жидкости органических и минеральных кислот.

Септики, рассчитанные на сбраживание сточных вод в течение 10 суток, чаще делают трехкамерными, как обеспечивающие более глубокое сбраживание В этом случае первая камера содержит половину всего объема сточной жидкости, а две другие — по одной четверти объема (рис. 8, б).

Камеры сообщаются между собой с помощью трубного соединения на уровне жидкости, в качестве которых используются стандартные канализационные тройники Dy 100x100, удлиненные погружными трубами, которые должны быть опущены в жидкость на глубину 300–400 мм. Это необходимо для того, чтобы отверстия в трубах не могли быть засорены плавающим илом, а газы, выделяющиеся в процессе брожения, могли беспрепятственно выходить из жидкости. Впуск канализационных стоков в первую камеру и выпуск из второй осуществляют с помощью аналогичных трубных соединений. Прочистка тройников трубных соединений осуществляется при открытом люке. В том случае, если откачку жидкости производят ассенизационной машиной, уровень жидкости в камерах септика во избежание разрушения стенки между ними должен понижаться одновременно. Для этого в перегородке между камерами септика на высоте 0,5 м имеется еще одно отверстие диаметром 100–150 мм.

Верхнюю крышку септика изготавливают из дерева. Она состоит из двух или трех частей. Сверху крышку для предохранения от гниения покрывают водонепроницаемым материалом. Целесообразно изготовить защитный кожух из кровельного железа. Для сохранения тепла зимой ниже, на расстоянии 250–300 мм, устраивают еще одну крышку, по материалу и конструкции аналогичную верхней. Расстояние между крышками должно заполняться негниющим теплоизоляционным материалом. Все части крышек прокрашивают краской и покрывают битумной грунтовкой. Готовят битумную грунтовку так: расплавленный битум разбавляют керосином и бензином. Процесс приготовления мастики пожароопасен, он должен проводиться на открытом воздухе при соблюдении следующих мер безопасности: работу проводят два человека на открытой площадке, удаленной от строений на расстояние 7-10 м; работающие должны быть в верхней одежде и рукавицах, а также обуты в сапоги; на площадке должен иметься запас воды и песка; запасы керосина и бензина должны находиться в стороне в 7-10 м.

Битум разбивают на мелкие куски, помещают в ведро, которое вешают над небольшим костром. Пламя должно доставать только до дна. Из битума после его расплавления начинают выделяться пузырьки, внешне напоминающие «кипение». Когда «кипение» прекратится, ведро с огня снимают, а костер заливают водой. Из запасов керосина в отдельную металлическую банку отливают первую порцию в количестве 100–150 мл. При тщательном перемешивании битума тонкой струйкой небольшими дозами керосин вливают в ведро. При соприкосновении с расплавленным битумом керосин будет интенсивно испаряться, но часть его соединится с битумом, сделав его менее горячим и более жидким. Эту операцию повторяют 5–6 раз, после чего аналогичным образом можно вливать бензин. Все содержимое ведра доводят до консистенции жидкой сметаны. Грунтовку на прокрашенные детали наносят кистью и после высыхания прокрашивают повторно.

Для выхода выделяющихся газов септик оборудуют трубой, выполненной из негниющих материалов. Она должна возвышаться над поверхностью земли на 0,4–0,5 м. Внутренний диаметр трубы в пределах 100 мм.

Изготовление септика необходимо начинать с изготовления бетонной плиты толщиной в 150 мм. Бетонирование производят на месте. В состав бетона входят гравий, размер зерен которого в основной массе не должен превышать 10 мм, и цемент марки не менее 200. Соотношение гравия и цемента 1:3. Бетонируют в два слоя, каждый из которых уплотняют. После выравнивания и железнения плиты можно приступить к сооружению стен септика. Для них необходимо использовать только красный обожженный кирпич. Кладка ведется на растворе 1:3 с заполнением швов. Гидроизоляцию септика осуществляют, заполняя глиной пространство между стеной септика и стеной котлована.

Для создания «глиняного замка» лучше всего подходит жирная глина, которую предварительно замачивают и дают вылежаться. Пластичность глины значительно повышается, если ее заготавливают с осени и в течение зимы и весны держат под открытым небом. Слои глины, находящиеся в состоянии естественной влажности (если ее сжать в кулаке, то она не рассыпается), укладывают слоями и трамбуют. Общая толщина «глиняного замка» должна составлять от 30 до 40 см.

Следующим устройством в системе канализации приусадебного участка является фильтрующий колодец, представленный на рисунке 1. Фильтрующие колодцы надлежит устраивать только в песчаных и супесчаных грунтах при количестве сточных вод не более 1 м3 в сутки. Основание колодца располагают выше уровня грунтовых вод не менее чем на 1 м. Площадь колодца должна быть не более 4 кв. м при глубине не более 2,5 м. Ниже подводящей трубы следует предусматривать донный фильтр высотой до 1 м. Фильтрующий материал засыпают внутрь колодца и присыпают к наружным поверхностям стен, образуя из него кольцо толщиной 30–40 см. Засыпку колодца следует выполнять таким образом, чтобы крупные частицы фильтрующего материала находились внизу, а мелкие — сверху. В качестве первого слоя фильтрующего материала следует использовать щебень, второго — шлак, третьего — мелкий гравий и четвертого — крупнозернистый песок, слой которого должен быть равен 20 см. При засорении фильтра частичками осевшего ила его фильтрующую способность восстанавливают путем замены верхнего песчаного слоя и промывки оставшейся части свежей водой.

Расчетную фильтрующую поверхность колодца определяют как сумму площадей дна и поверхности стенки колодца на высоту фильтра. Нагрузка на 1 м2 фильтрующей поверхности такова: 80 л/сутки в песчаных грунтах и 40 л/сутки в супесчаных. Нагрузку увеличивают на 10–20 % при устройстве фильтрующих колодцев в средне- и крупнозернистых песках или при расстоянии между основанием колодца и уровнем грунтовых вод свыше 2 м; на 20 % — при удельном водоотведении свыше 150 л/сутки и среднезимней температуре сточных вод выше + 10 °C. Для объектов сезонного действия нагрузка может быть увеличена на 20 %.

Определяем геометрические размеры фильтрующего колодца, учитывая следующие исходные данные: 1) фильтрующая нагрузка на 1 м2 — 40 л/сутки; 2) количество постоянно проживающих — 4 чел.; 3) количество временно проживающих в течение июня, июля, августа — 3 чел.; 4) водоотделение на одного человека — 100 л.

Площадь фильтрующего колодца равна 4 м2, а высота фильтра — 1 м (S = 4 м; Н = 1 м).

S = π∙D2/4, откуда

D = √(4∙S/3,14) = 2,26 м

Площадь поверхности стенки колодца равна

Sк = 2π∙R = π∙D = 3,14∙2,26 = 7 м2.

Общая фильтрующая поверхность колодца равна 7 + 4 = 11 м2. Пропускная способность колодца 40 x 11 = 440 л в сутки. Учитывая, что водоотделение семьи из 4 человек в течение 9 месяцев в году составляет только 400 л/день, считаем, что фильтрующий колодец удовлетворяет нашим требованиям.

В течение лета нагрузка на фильтрующую поверхность может быть увеличена на 20 % и составлять не 40, а 48 л на 1 м2, в силу чего пропускная способность колодца возрастет до 528 л/сутки при водоотделении семьи 700 л/сутки. Но июнь, июль и август являются наиболее теплыми месяцами года, в течение которых часть сточных вод из септика, не попадая в фильтрующий колодец, будет использоваться для орошения приусадебного участка. Из сказанного следует, что и в данном случае фильтрующий колодец соответствует санитарно-гигиеническим требованиям.

Как было сказано выше, сточные воды, прошедшие очистку и сбраживание в септике, могут быть использованы для орошения при расположении увлажнительных труб выше уровня грунтовых вод не менее чем на 1 м. В зимнее время эти воды могут быть использованы для намораживания льда на участках, предназначенных под весеннюю перекопку. В летнее время — для полива по бороздам, проложенным вокруг плодовых деревьев и кустарников, а также для полива внутрипочвенным орошением огородных культур.

На земледельческих участках орошения разрешается выращивать технические, зерновые и кормовые культуры, однолетние и многолетние травы, овощи, употребляемые в пищу после термической обработки: свекла, тыква, кабачки, баклажаны, капуста (не применяемая для салатов в свежем виде), картофель, плодовые и ягодные насаждения и другие культуры.

На земледельческих участках орошения не разрешается выращивать овощи и ягоды, употребляемые в пищу без термической обработки: морковь, петрушку, брюкву, репу, редис, лук, сельдерей, огурцы, помидоры, салат, арбузы, дыни, землянику и клубнику.

При внутрипочвенном орошении достигается полная механизация подвода воды к орошаемому участку. Потери влаги значительно меньше, так как самый верхний слой почвы (5-10 см) находится в подсушенном состоянии. Увлажнение приобретает более равномерный характер. Отсутствие загрязнений и корки на поверхности способствует воздухопроницаемости почвы. Возможен полив теплой водой (до 45 °C), соединяющий в себе орошение почвы с ее обогревом, что сокращает период вегетации растений. При этом способе орошения, если вода из-за напора и капиллярной подъемной силы не достигнет поверхности земли, надземные части растений остаются не замоченными, что уменьшает возможность их загрязнения. В качестве увлажнителей чаще всего используют асбоцементные трубы, в которых в двух противоположных сторонах прорезают отверстия шириной 10 мм, длиной 100 мм при шаге 200 мм (или насверливают отверстия) для прохода сточных вод.

Увлажнители укладывают на глубину 0,25 м с небольшим уклоном в направлении движения сточных вод. Под увлажнитель (рис. 9) по всей длине подкладывают полиэтиленовую пленку шириной 30–50 см, слегка засыпают землей, а сверху расстилают опять пленку, после чего окончательно покрывают землей. Нижняя пленка предотвращает фильтрацию воды в нижележащие слои, а в целом таким способом добиваются равномерного увлажнения почвы.



Рис. 9. Схема увлажнения почвы из внутрипочвенного увлажнителя:

1 — увлажнитель; 2 — пленка


Трубы укладывают на расстоянии 0,8–1,0 м друг от друга. Напор сточной жидкости во внутрипочвенных увлажнителях не должен превышать глубины их закладки на 0,2–0,4 м. Длина увлажнителей — 20–25 м. Равномерное орошение почвы по всей длине увлажнителей можно осуществить только при залповой подаче жидкости. На рисунке 10 показана конструкция устройства, обеспечивающего залповую подачу жидкости в увлажнитель.



Рис. 10. Устройство для залповой подачи жидкости:

1 — подающий шланг от насоса; 2 — емкость (бочка); 3 — сифон; 4 — воронка с системой увлажнителей; 5 — вентиляционная труба


Сточная жидкость по переносному шлангу благодаря насосу попадает в бочку, а затем при помощи сифона автоматически сливается в воронку. Если производительность насоса невелика, сифон будет действовать как переливная труба. В этом случае нижнее выходное отверстие должно быть уменьшено. Необходимо отметить, что труба сифона должна быть абсолютно герметична. В качестве насоса можно использовать «Малыш», который должен быть опущен до дна, после чего поднят на 35–40 см. Для предохранения от засорения насос помещают в проволочный каркас, обтянутый мелкой сеткой. Последнюю периодически осматривают и очищают. Емкость с сифоном и комплект оросителей, состоящий из коллектора с воронкой, оросительных дрен в количестве от одной до четырех штук и вентиляционных труб, могут быть использованы для орошения как сточной, так и чистой водой в любом месте садового участка. Коллектор монтируют из канализационных труб и фасонных деталей. Концы асбоцементных труб в месте присоединения к канализационной фасонине соответствующим образом дорабатывают. Схема расположения группы увлажнителей совместно с устройством для залповой подачи в них сточных вод представлена на рисунке 11.



Рис. 11. Увлажнители и устройства для залповой подачи сточных вод:

1 — емкость (бочка); 2 — сифон; 3 — приемная воронка; 4 — коллектор (монтируется из канализационных труб и канализационных фасонных деталей; ограничен пунктиром); 5 — увлажнители; 6 — вентиляционные трубы


Осадок сточных вод, извлекаемый из септика при его очистке, содержит большое количество питательных веществ. Но вместе с тем он содержит большое количество болезнетворных бактерий и гельминтов, в силу чего с санитарной точки зрения более опасен, чем сточные воды, прошедшие частичную биологическую очистку в септике. Если участок достаточно большой, то предусматривается площадка для подсушивания ила. Когда ил подсохнет до такого состояния, что не будет течь с лопаты, его можно компостировать с другим садовым мусором. Компостирование проходит в течение 5–6 месяцев, из которых 2–3 месяца должны выпадать на летнее время года. Необезвоженный осадок сточных вод может быть использован путем внутрипочвенного внесения на глубину 40–60 см, если грунтовые воды залегают ниже 1,25 м.

Для сброса сточных вод (прошедших очистку в септиках) в водоем или почву требуется разрешение местной санитарно-эпидемиологической станции.

Скорость передвижения воды в подземных источниках очень мала. В период биологической очистки сточных вод они минерализуются и с помощью фильтрующего колодца или внутрипочвенного орошения отводятся в грунт и постепенно достигают водоносного горизонта, изменяя в нем солевой состав. В силу этого на приусадебном участке желательно устраивать трубчатые колодцы и пользоваться водами второго горизонта.

Общая схема канализации представлена на рисунке 12.



Рис. 12. Схема канализации приусадебного участка:

1 — выпуск; 2 — смотровой колодец; 3 — септик; 4 — фильтрующий колодец


Внутренняя сеть канализации

Она предназначена для отвода сточных вод от санитарно-технических приборов в наружную сеть. На рисунке 13 представлена планировка жилой части дома, расположенной на первом этаже, с размешенными здесь санитарно-техническими приборами. Этот набор приборов можно считать стандартным для жилых помещений квартирного типа. Канализационная сеть (рис. 13) показана пунктиром. Принципиальная схема ее более подробно представлена на рисунке 14.



Рис. 13. Планировка жилого дома с размещением в нем санитарно-технического оборудования и приборов:

1 — отопительный котел; 2 — артскважина; 3 — ванна с водонагревательной колонкой на твердом топливе; 4 — водоподогреватель; 5 — площадка, под которой оборудовано место для хранения запаса топлива; 6 — раковина; 7 — унитаз; 8 — мойка; 9 — газовая плита; 10 — батареи; 11 — канализационный стояк; 12 — трасса канализационной сети (указана пунктиром); 13 — чистка



Рис. 14. Принципиальная схема внутридомовой системы канализации:

1 — отвод 135, Dy 100 (табл. 3); 2 — отвод 150°, Dy 100 (табл. 3); 3 — тройник косой 45°, Dy 100x100 (табл.4); 4 — колено Dy 50 (табл. 3); 5 — тройник прямой 90°, Dy 100x50 (табл.4); 6 — тройник прямой 90° Dy 100x100 (табл.4); 7 — ревизия Dy 100


Канализационная сеть проложена ниже пола и только в местах присоединения приборов выведена выше пола на высоту бортика канализационных труб. Сеть собирают из стандартных чугунных деталей. Прямолинейные участки ее изготавливают из канализационных труб, представленных в таблице 2. В том случае, если длина трубы не соответствует необходимому размеру, ее надставляют более коротким отрезком или обрубают.



На наружной поверхности канализационных труб имеется слой отбеленного чугуна очень высокой твердости. Зубило, с помощью которого производят обрубку труб, должно быть хорошо закалено и заточено. Место отруба очерчивают. По прочерченной линии необходимо прорубить отбеленный слой. Прорубив его, нужно углублять канавку до тех пор, пока по месту отруба труба не расколется. В том случае, если направление потока жидкости должно быть изменено на 90°, используется колено, представленное в таблице 3. Для изменения направления потока на 110, 120, 135 и 150° используются отводы, также представленные в таблице 3. Если необходимо создать более плавный поворот потока, можно сгруппировать два отвода на 135°.




Переход с одного диаметра на другой осуществляют при помощи переходных патрубков, представленных в таблице 5.



Из рисунка 14 видно, что магистраль, идущая от унитаза до стояка, имеет два отвода. Канализационная сеть от унитаза до выпуска монтируется из труб диаметром Dy 100 мм, а отводные линии для приема сточных вод от умывальника, мойки и ванны — Dy 50 мм. Присоединение отводов к магистральной трубе производится с помощью тройников, представленных в таблице 4.



В системе канализации предусмотрено, что каждый отрезок канализационной сети в случае его засорения может быть прочищен. Устранение засорения горизонтального канала от унитаза до стояка осуществляют через прочистку, размещенную в углу кабины туалета (рис. 13, поз. 13). Учитывая, что прочисткой при правильной системе эксплуатации вообще не придется пользоваться, раструб, выходящий в кабину туалета, заделывают декоративной крышкой. В качестве пробки, вставляемой в раструб, можно использовать отрезок водопроводной трубы Dy 100 с приваренным дном. Пространство между раструбом и трубой должно быть законопачено просмоленным шнуром. Для прочистки вертикального стояка и отвода до первого смотрового колодца служит ревизия, представленная в таблице 5. Прочистка отводов от ванны, умывальника и мойки осуществляется через раструбы, выведенные в помещения первого этажа, для присоединения санитарно-технических приборов, при этом с раковины и мойки сифоны должны быть сняты, а с ванны снята отводная труба (рис. 22, поз. 12). Верхнюю часть стояка выводят выше крыши строения на высоту 0,7 м. Вертикальная часть стояка, расположенная в теплом помещении, прогревает воздух внутри себя и тем самым способствует воздушному движению в системе канализации, что очень важно, так как это препятствует возникновению в трубопроводах зон разряжения при сбросе вод от сантехнических приборов, в первую очередь от унитаза.

При прокладке сети из чугунных канализационных труб крепление необходимо устанавливать через каждые 2 м. В том случае если подполье высокое, крепление линии канализации осуществляют с помощью конструкций, не подверженных гниению, опирающихся на кирпичную стену или укрепленные площадки. Если подполье низкое, наиболее простым и надежным видом крепления канализационной сети является размещение ее горизонтальной части в неглубокой траншее.

Все канализационные линии прокладывают с уклоном i = 0,02—0,03.

Герметизация стыков в системе домовой канализации аналогична герметизации стыков при прокладке дворовой канализации, представленной на рисунке 7. В отличие от монтажа наружной сети, которая состоит почти исключительно из прямых труб большой длины, внутренняя сеть состоит из большого количества значительно меньших элементов, которые можно собирать в отдельные звенья на верстаке (рис. 15).



Рис. 15. Сборка отдельных звеньев канализационной сети на верстаке


Промышленность выпускает широкий спектр сантехнических приборов, как по назначению, так и по внешнему оформлению. Сантехнические приборы одного назначения, принципиально не отличающиеся друг от друга, могут отличаться размерами и монтажом. Так, например, в раструб, подготовленный для монтажа унитаза «Компакт» с косым выпуском, невозможно смонтировать унитаз «Компакт» с прямым выпуском, так как расстояния между раструбом и стеной будет недостаточно для монтажа смывного бачка. В силу этого, прежде чем производить монтаж системы канализации, необходимо приобрести весь комплект необходимых сантехнических приборов.

В настоящее время наибольшее распространение приобрели фаянсовые умывальники, представленные на рисунке 16, оборудованные никелированными бутылочными сифонами (рис. 17) или пластмассовыми (рис. 18), которые устанавливают на кронштейнах (рис. 19), унитазы «Компакт» с прямым и косым выпуском (рис. 20) и ванны чугунные эмалированные типа ПВ (рис. 21), оборудованные чугунными сифонами с латунным выпуском и переливом (рис. 22).



Рис. 16. Умывальники фаянсовые:

1 — прямоугольный со спинкой без перелива; 2 — прямоугольный с утолщенными бортами без перелива; 3 — полукруглый с переливом без спинки



Рис. 17. Сифон никелированный бутылочный



Рис. 18. Сифон пластмассовый:

1 — пробка; 2 — уплотнительная прокладка; 3 — выпуск; 4 — накидная гайка; 5 — отвод горизонтальный; 6 — угольник; 7 — отстойник; 8 — корпус сифона; 9 — переходный патрубок; 10 — гайка выпуска



Рис. 19. Кронштейны:

1 — кронштейн чугунный для умывальников большой величины; 2 — кронштейн чугунный для умывальников малой величины; 3 — кронштейн чугунный для моек



Рис. 20. Унитазы «Компакт»:

1 — с прямым выпуском, схема установки унитаза, 2 — с косым выпуском, схема установки унитаза



Рис. 21. Ванны типа ПВ:

1 — ПВ-0, L = 1500 мм; 2 — ПВ-1, L = 1700 мм; 3 — ПВ-2, L = 1800 мм



Рис. 22. Сифон и переливная арматура для ванны, присоединение к системе канализации:

1 — чугунный отвод; 2 — крышка перелива; 3 — шайба; 4, 6 — резиновые прокладки; 5 — корпус выпуска; 7 — пробка; 8 — корпус; 9 — патрубок; 10 — накидная гайка; 11 — тройник; 12 — отводная труба; 13 — раструб; 14 — набивка; 15 — декоративный кожух; 16 — муфта; 17 — контргайка


ЛИТЕРАТУРА

1. Гольченко М.Г., Железко В.И. Орошение сточными водами. М., Агропромиздат, 1988.

2. Григоров М.С. Внутрипочвенное орошение. М., Колос, 1983.

3. Грингауз Ф.И. Санитарно-технические работы. М., Высшая школа, 1968.

4. Монтаж внутренних санитарно-технических устройств / Под редакцией Староверова И.Г. М., Стройиздат, 1984

5. Рудольф Рандольф. Что делать со сточными водами. М., Стройиздат, 1987.

6. Салтыков Е.В. Проектирование зон санитарной охраны источников водоснабжения. М., Издательство Министерства коммунального х-ва РСФСР, 1959.

7 СНиП. Часть II. Нормы проектирования. П-3-79. Глава 3. Строительная теплотехника.

8. СНиП. Канализация. Наружные сети и сооружения. 2.04.03-8.

9. Шматов В.П. Благоустройство сельского дома. М., Московский рабочий, 1985.

10. Яковлев С.В., Карелин А.Я., Жуков Д.Д. Канализация. М., Стройиздат, 1975.

ПРИРОДА И & ТВОРЧЕСТВО

Волшебные дары флоры

В.А. Воронов


Человечество — без облагораживания его… растениями погибнет, оскудеет, впадет в злобу отчаяния, как одинокий в одиночестве.

А. Платонов


Листья деревьев и кустарников, отдельные цветки, соцветия, пух, цельные травянистые растения или их части, засушенные плоскостно или объемно, — неисчерпаемый материал для оригинальных по технике исполнения, работ. Будь то портрет, пейзаж, натюрморт, изображения животных, цветочные композиции, миниатюры. Подобные произведения всегда привлекают внимание посетителей на выставках декоративно-прикладного искусства своей выразительностью, яркостью красок, изысканностью форм, простотой исполнения. Этот вид прикладного творчества называют флористикой (от латинского «флос»-цветок). Следует иметь в виду, что в строго научном плане флористика — это наука, связанная с изучением и систематизацией видов растений, «обитающих» на планете или в ее отдельных регионах.

Каждое растение в природе, помимо биологических особенностей, имеет и ярко выраженные эстетические черты. Это причудливые силуэты стеблей, веточек, их тончайшая пластика и совершенные формы, ритмическое и последовательное расположение листьев, лепестков, фактура листовых пластинок, ажурный рисунок прожилок…

Собранные и засушенные с соблюдением определенных правил, растения надолго сохраняются. Обилие и устойчивость цветовой гаммы, нежные переливы света, подобные игре граней самоцветов, неповторимый блеск листьев, ворсистость, сравнимая по фактуре с замшей, мехом, — все это делает природный материал одним из самых желанных в руках художников-прикладников и любителей декоративного искусства.


Живопись цветами

Взяла однажды в руки карандаш,
Но не цветной, а карандаш природы,
Нарисовала им цветы, лесной пейзаж,
Панно, портреты, небо и восходы…
И.Иванова


В картинах художников-флористов, словно созданных самой природой, растения как бы обретают вторую жизнь. Издали эти работы мягкостью тонов напоминают акварель, и лишь подойдя совсем близко, видишь, что созданы они из листьев, лепестков, отдельных цветков, соцветий и целых засушенных растений. В «палитру» флориста могут войти любая травинка, любой стебелек, листочек, не говоря уже о ярких, нарядных подснежниках, васильках, ромашках и тысячах других «живых самоцветов». Ложась разноцветными пятнами на листы плотной бумаги, они составляют дивные пейзажи, натюрморты, декоративные композиции и даже портреты (рис. 1).



Рис. 1. Творческие композиции художников-флористов


Заготовка сырья

Сбор сырья можно производить в любое время года. Зимой это будут комнатные растения, весной, летом, осенью — дикорастущие и садовые. Наиболее благодатная пора — осень. В это время набор «живых красок» особенно богат: от телесного оттенка листьев клена до иссиня-черных, тронутых первым морозцем, листьев мать-и-мачехи, подорожника, груши.

В лесу вы можете запастись в первую очередь мхом, папоротником, ландышем. Вдоль склонов балок и дорог — донником, гвоздикой, иван-чаем, цикорием. На заброшенных городских пустырях — спорышем, пастушьей сумкой, тысячелистником, просвирником, полынью, крапивой, лопухом, осотом, пасленом и т. д. Не лишними будут и злаки.

Отправляясь за растениями, берут с собой достаточное количество газет, сложенных вдвое. Бумагу вкладывают в специальную папку или между двумя фанерками, связанными толстым шнуром.

Собирают и закладывают растения в бумагу только в сухую погоду, когда сойдет роса и растения полностью просохнут от прошедшего дождя. Иначе в тех местах, где осталась влага, при подсушивании образуются бурые пятна.

При сборе растений желательно учитывать особенности их развития. Например: мак, шиповник, лен берут в первое утро цветения; подсолнечник, гайлардию — в первый день цветения; василек, ромашку — во второй день. Соцветия георгинов, циний, тагетеса срывают, когда распустились все язычковые лепестки; дельфиниум — когда кисть расцвела на две трети. Цветки, взятые позже указанного срока, после высушивания рассыпаются.

Самые устойчивые к свету: астры, георгины, пионы, гладиолусы, васильки, маргаритки, сциллы… Среднестойкие: тюльпаны, жасмин, черемуха, бархатцы, ромашка садовая… И наконец, неустойчивые, сохраняющие свой цвет в течение недолгого времени: анютины глазки, лютики, ноготки, настурции, флоксы… Заготавливая растительное сырье, важно придерживаться одного правила: чем «моложе» цветки или соцветия, тем устойчивей их окраска.

Для работы следует брать цветки, листья, побеги самой различной окраски и формы. Это значительно расширит будущую палитру цветов. В некоторых композициях с успехом могут быть использованы яркие осыпающиеся лепестки пионов, тюльпанов, роз, которые собирают в коробку и сразу пускают в обработку. Подобранные осенние листья очищают от пыли, грязи мокрой ваткой, мягкой тряпочкой. Успевшие подсохнуть — слегка увлажняют. У растений, имеющих крупные жилки (листья лопуха), их подрезают с помощью скальпеля.

Белого цвета на ваших работах можно добиться, применяя пух тополя, пушицы, иван-чая, мать-и-мачехи, одуванчика, осота. Волоконца очищают от примеси семян, мусора и укладывают в коробку или целофановый пакет.

И еще — постоянно надо помнить о бережном отношении к природе. Не следует рвать много цветущих побегов в одном месте. Необходимо оставить соцветья на семена. Тем более нельзя заготавливать виды, занесенные в «Красную книгу».

Сушка собранного материала — самый ответственный трудоемкий и кропотливый процесс. От того, как высушено сырье, зависит цветовая гамма будущей работы и ее долговечность. Существуют несколько приемов плоскостного засушивания растений.

Термический способ. Прием позволяет ускоренно, с помощью горячего утюга засушить практически любые растения или их части, в том числе комнатные и оранжерейные цветы, трудно поддающиеся гербаризации. В первую очередь это растения с широкой листовой пластинкой: плющ, ландыши, листья деревьев и кустарников.

Техника работы проста: на стопку газет укладывают растения, прикрывают другим листом бумаги и быстро проглаживают горячим утюгом. Затем растение смещают в сторону, слегка проветривают и снова проглаживают. В течение считанных минут оно полностью высыхает, не изменяя своей окраски. Однако увлекаться этим приемом не стоит, так как обработанные таким образом растения довольно быстро теряют цвет. Исключение составляют васильки.

Высушивание под прессом. На фанерку кладут 2–3 газеты, сложенные вчетверо, укладывают лист бумаги с заправленным в него растением. Это так называемая «рубашка». Тщательно расправив растение, «закрывают рубашку» и сверху кладут слой бумаги (2–3 газеты, сложенные вчетверо). Поверх этого слоя помещают «рубашку» с новым растением, затем снова прокладка и т. д. В одной стопке не следует размещать более 5–6 листов с растениями. Полученную стопку прикрывают фанеркой, на которую укладывают от 4 до 10 кирпичей. Чтобы качественно просушить растения, сохранив при этом их естественную окраску, ежедневно меняют прокладки, не трогая «рубашку» с размещенным в ней растением. Место сушки — сухая комната, солнечная веранда. Сушить надо как можно быстрее, тогда происходит минимальное разложение красящих пигментов. Для тонких, нежных растений груз не должен превышать 8—16 кг, а для жестких, плотных — 32–40 кг и более.

Если на стебле имеются мелкие цветки, они укладываются вместе со стеблями «лицом» вниз. Сверху каждый цветок накрывают тонким слоем гигроскопической ваты. У крупных пышных цветов (астры, бархатцы, георгины, пионы, розы) цветки отделяют от стеблей и засушивают отдельно. С цветочных головок удаляют все зеленые части, кроме тех, что непосредственно держат лепестки. Приподнимая лепестки пинцетом ряд за рядом, прокладывают между ними тонкие слои ваты, сверху и снизу цветка также прокладывается вата. Обработанные таким образом цветы помещают в закладку под пресс на один день, а затем переносят в гербарную сетку. Засушенные цветки хранятся в закладках. Вата снимается с каждого цветка непосредственно в ходе работы.

При засушивании небольших растений удобно пользоваться старыми ненужными книгами, толстыми журналами, так как газетная бумага хорошо впитывает влагу и выполняет роль пресса. При желании можно сделать настоящий пресс (рис. 2).



Рис. 2. Самодельный пресс для засушивания растения:

1 — основа из доски или 10-миллиметровой фанеры: 2 — крепежный болт с барашкой; 3 — фанерные прокладки с пазом; 4 — пресс в собранном виде


Из листа толстой (10 мм) фанеры вырезают две квадратные заготовки со стороной 20 см — 1. По углам, в полутора сантиметрах от края, просверливают отверстия, по диаметру равные заранее подобранным длинным стальным болтам (шпилькам) с резьбой — 2. Длина их не более 10 см. Кроме того, потребуются четыре шайбы и четыре гайки (лучше барашковые), а также шесть дощечек с небольшими углублениями (гофрой) с обеих сторон — 3 и несколько десятков листов промокательной или газетной бумаги. Цветы укладывают между листами бумаги, покрывают дощечкой. Когда стопка соберется полностью, останется навернуть на шпильки барашковые гайки и несколько затянуть — 4.

Высушивание в гербарных сетках. Данный способ подготовки растительного материала самый надежный и высококачественный. Используются специальные ботанические сетки, которые нетрудно изготовить самостоятельно: на две деревянные рамки размером 44x29 см и толщиной 2 см набивают мелкую металлическую сетку. Работа ведется аналогично предыдущему способу. В сетку закладываются шесть, максимум десять «слоев» растений с прокладками (2–3 сложенные газеты).

Чтобы избежать налипания частей растений друг на друга (при этом происходит деформация и изменение окраски), прибегают к дополнительным прокладкам из ваты или фильтровальной бумаги. Их кусочки вставляют в нужных местах, изолируя лепестки друг от друга.

Закончив закладку растений, стопку укладывают в сетку и прочно увязывают крепким шнуром. Просушку ведут в хорошо проветриваемом помещении, лучше в подвешенном состоянии, не забывая ежедневно менять прокладки. Для ускорения сушки иногда прибегают к дополнительным тепловым источникам: сушильный шкаф, духовка, печь, электрообогреватель, батареи отопления.

Перед закладкой в гербарную сетку растений с сочными стеблями (тюльпаны, нарциссы, дицентра), их разрезают лезвием, ножом продольно и выскабливают сердцевину. Толстые или деревянистые стебли (лук, гвоздика, гербера, роза) разделяют вдоль пополам.


Не только цветы, но и…

Мох, часто используемый в композициях из засушенных частей растений, сушат так же, как и листья. Проглаживают теплым утюгом, кладут под груз или закладывают в гербарную сетку.

Изумительный по красоте и изяществу материал получается из нитчатых водорослей. Обращение с ними требует осторожности. Вытянутый из воды пучок слегка отжимают фильтровальной бумагой. Затем с помощью пинцета закладывают в газетную «рубашку» и расправляют шилом, иголкой, добиваясь при этом образования ажурного зеленого облачка. Рубашку с прокладками укладывают под легкий груз.

Широкие крупные листья кукурузы и обвертки от ее початков — отличный материал для изготовления фона пейзажей. Их аккуратно разглаживают утюгом, стараясь избежать образования складок, а затем, переложив листами плотной бумаги, помешают в толстую большую книгу.

Для получения четких графических изображений на контрастном фоне заготавливают подземные части растений. Нежные мочковатые корни, тщательно расправив, укладывают под пресс.

При всех способах плоскостного высушивания растений определить конец сушки довольно просто: нужно взяться за край лепестка, стебля, и если растение не сгибается, а остается прямым — процесс закончен.

Высушенный материал желательно классифицировать по отделам: «листья», «травы», «цветы», «хвоя», «корни», «лепестки»…


Разработка рисунка

Непосредственному выполнению композиции в материале предшествует определенная творческая работа, требующая от автора тонкого художественного вкуса, способности видеть красоту, чувствовать материал.

Прежде всего определяют сюжет картины, ее возможное название, цветовое решение, формат. Содержание рисунка может подсказать само растение. Иногда образ возникает при рассмотрении альбомов с цветными фотографиями, картин художников, всевозможных рисунков, при пристальном взгляде на окружающую природу. Для более точного представления о предстоящей работе разрабатывается эскиз, хотя вполне достаточно будет схематично набросать рисунок и в процессе работы держать его перед глазами. В ходе выполнения работы он дорабатывается, уточняется, вносятся коррективы в цвет, в форму, в сам сюжет.


Подготовка основы

Для создания картин из засушенного природного материала идеальным будет грунтованный картон, специально выпускаемый для художественных работ.

Но с успехом подойдут: ватман и полуватман; типографский и упаковочный картоны; ткани из шелка, хлопка, шерсти, льна, бархата; велюровая (бархатная), наждачная или плотная цветная бумага; фанера и оргалит. Можно делать оригинальные композиции на выструганных дощечках, спилах деревьев, плетенках (из лозы, соломки, шпона, макраме), на бересте, циновках и т. д.

Цветную или бархатную бумагу следует предварительно наклеить на картон клейстером или разбавленным клеем ПВА. Клеевой раствор равномерным тонким слоем наносят по всей поверхности бумаги без пропусков и после небольшой паузы накладывают на основу. Тщательно проглаживают через лист чистой бумаги, после чего укладывают под груз.

Если для основы используют холст, то по размерам он должен быть на 2–3 см больше, чем картонная заготовка. Края чуть увлажненной ткани поворачивают на изнаночную сторону основы и подклеивают густым клеем ПВА, после чего также закладывают под пресс. Можно воспользоваться каркасной рамкой и закрепить натянутое полотно мелкими гвоздиками.

Красота, своеобразие и изящество композиции в значительной степени зависят от фона основы. Помимо уже указанных материалов (бархатная бумага, ткань, спилы, плетенки), дающих равномерный, чаще всего нейтральный тон с однородной фактурой, нередко прибегают к составным компонентам.

Многие мастера-флористы в качестве фона основы используют сплошное покрытие из листьев деревьев, лепестков цветов, являющихся одновременно украшающим элементом картины. Лучше всего для этой цели подходит обратная сторона листьев осины, лопуха, мать-и-мачехи, напоминающих замшевое полотно. Не менее красив фон из набранных листьев черноплодной рябины, клена, каштана. Работу по укладке фона начинают обычно с одного из углов картины и ведут по диагонали к противоположному. Каждый лист при этом выходит из-под другого. Торчащие у высушенных листьев черешки обрезают. Получившийся ковер должен быть сплошным, без просветов, каких-либо видимых дефектов. Непосредственно к основе лист крепится легкими мазками резинового клея или ПВА.

Отличным материалом для изготовления фона пейзажей являются листья кукурузы. Они тонкие, мягкие и легко поддаются обработке. При желании их можно отбелить, прокипятив 7-10 минут в отбеливателе, или окрасить. Кипячение листьев кукурузы в содовом растворе окрашивает их в желтый цвет, в синьке — в синий. Смешав растворы синьки и соды, окрашивают листья в зеленый цвет. Слабая концентрация растворов дает более светлые тона, и наоборот. Окрашенные листья проглаживают утюгом и укладывают на хранение.

Очень эффектно смотрятся работы, выполненные на коре березы — бересте, которую снимают с поваленных деревьев, дров. Снятую бересту укладывают под тяжелый пресс, выдерживают до полного высыхания, после чего нарезают кусками необходимого размера и наклеивают на толстый картон, фанеру, оргалит.

Оригинальным фоновым материалом является мох. Будучи равномерно распределенным по поверхности основы и закрепленным мазками клея, он дает ажурное, изумрудно-зеленое поле.

Во всех случаях выполняемый фон по цвету и фактуре должен гармонировать с выбранной композицией, рисунком.


Заполнение основы деталями изображения

Прежде чем браться за работу, следует запастись некоторыми инструментами, материалами. В первую очередь потребуются: нож, ножницы, иголка с нитками, пинцет, шило, кисточки для клея и прочистки фона, клей (ПВА, резиновый, «Момент» и другие быстросохнущие), тряпочка для вытирания рук. Используемый клей не должен быть жидким, тогда при нанесении на растение он не образует капель.

Чтобы цветные, полупрозрачные детали при накладывании на темный фон сохраняли свою первоначальную окраску, их сначала наклеивают на тонкую белую бумагу. Затем вырезают по контуру и включают в композицию. К такому же приему прибегают, когда необходимо воспользоваться не всей листовой пластиной, а лишь частью. Из тонкой бумаги вырезается деталь соответствующей конфигурации, на нее наклеивается засушенный лист нужного цвета. Выступающие края листовой пластинки обрезают ножом или ножницами.

Иногда фантазия художника позволяет из самого необычного материала (изогнутых плодов, семян, чешуек лука, чеснока,чаинок создавать сказочные, невиданные по красоте цветы. Некоторые флористы создают свои пейзажи, портреты, используя отдельные кусочки растения, имитируя мазки. Создание таких произведений требует от художника большого терпения, умения, вкуса.

Основу заполняют деталями изображения, осторожно прихватывая их пинцетом, начиная с заднего плана картины и постепенно переходя от крупных листьев к более мелким, от краев к центру. При этом необходимо следить, чтобы нижняя часть каждого растения была перекрыта частью следующего. Когда композиция будет полностью составлена и внесены соответствующие поправки, осторожно, листик за листиком, цветок за цветком отделяют детали от основы, смазывают клеем и прикладывают на фон. Аккуратно приминают и проглаживают (лучше через лист бумаги) пальцем или тыльной стороной руки.

Детали изображения можно фиксировать и без клея — с помощью ниток нейтрального цвета, проложенных редкими короткими стежками. Иногда прибегают к смешанной технике: крупные детали пришивают, мелкие — приклеивают. Тополиный или иной пух, а также всевозможные волокна, ввиду их легкости, хорошо скрепляются с шероховатой поверхностью бархатной бумаги без всякого клея.

В работах, где присутствуют изображения ваз, корзиночек, строений и т. д., прибегают к использованию вспомогательных материалов и приемов. Это могут быть соломка, шпагат, полоски бумаги и даже небольшие подрисовки.

Со временем у каждого художника-флориста появляются и свои маленькие открытия. Вот некоторые из них.

• Чтобы придать изображаемому на картине небу оттенок голубого цвета, берут листья комнатного растения каприфоли. Их укладывают в морозилку холодильника, отчего они быстро синеют.

• Листья кукурузы лучше клеить маленькими полосками, тщательно притирая гладилкой или не очень горячим утюгом. Появление морщинок, неровностей в этом случае исключено.

• Для изображения кроны деревьев хорошо подходит мох или листья лопуха. Крупные листья лопуха предварительно обрабатывают: по поверхности свежесорванного листа бьют железной щеткой до тех пор, пока он не превратится в «кружево». Затем, не смещая битый лист с бумаги, его закладывают в пресс. В ходе работы от высохшего листа отрывают пинцетом кусочки и «моделируют» крону любого дерева.

• Крону деревьев можно также получить из крошек измельченного сухого листа. Поверхность будущей кроны смазывается тонким слоем клея, а затем это место присыпают листовой крошкой.

• Изображая на картине стволы берез, лучше всего использовать бересту. При этом следует помнить, что в нижней части дерева она всегда более темная, с неравномерными пятнами. Оттеняют бересту легким подкрашиванием разбавленной черной тушью, акварелью.

• Порой самые неожиданные материалы используют в аппликациях. Среди них и «иголки» хвойных деревьев. Хвоинками ряд за рядом, впритык или частично накладывая друг на друга, заполняют детали изображения, используя при этом клей ПВА. При необходимости длину хвои можно менять, подстригая ее ножницами.


Отделка изделий

Прежде чем работу «запрятать» под стекло или прозрачную пленку, ей следует день-другой отлежаться. Свежим взглядом оценивают «нарисованную» картину, вносят какие-то «штрихи», цветовые пятна, недостающие детали. Подкрашивание и подрисовывание крайне нежелательно, так как ведет к далеко не всегда оправданному смешению изобразительных техник.

Законченную картину необходимо окантовать под стекло. На картон подходящего размера укладывают получившееся изображение, закрывают чистым стеклом и все вместе закрепляют большими канцелярскими скрепками. С изнаночной стороны укрепляют петельку из тесьмы.

Нарядней работа будет смотреться с кантами из пластыря, а еще лучше — из цветной бумаги. Полоски бумаги, по цвету гармонирующие с изображением картины, шириной в 5–6 сантиметров наклеиваются (клей ПВА или казеиновый) узкой каймой в 1 сантиметр на стекло. Остальная часть загибается на заднюю стенку основы.

Стекло можно заменить полиэтиленовой или целлофановой пленкой. Чтобы пленка не сморщилась и всегда была натянута, ее укрепляют в специально изготовленной рамке.

Из картона ножом вырезают рамку, внутренние размеры которой меньше «полотна» картины примерно на 2 сантиметра (рис. 3).



Рис. 3. Окантовка картин под стекло, прозрачную пленку:

1–2 — оклеивание внутреннего края рамки (картонной основы); 3 — разметка и раскрой лицевого листа бумаги; 4 — наклеивание прозрачной пленки; 5 — наклеивание лицевого листа бумаги на рамку с закрепленной прозрачной пленкой; 6 — вклеивание картины и петли для подвешивания; 7 — законченная работа


Внутренние края рамки оклеивают полосками бумаги шириной в 3 сантиметра. Далее на лист белой бумаги размером на 2–3 сантиметра больше картонной рамки наносят контур рамки. По внутреннему контуру вырезают отверстие, а наружные уголки срезают наискось. На картонную рамку наклеивают декстриновым или казеиновым клеем сначала полиэтиленовую пленку, а потом выкройку из белой бумаги так, чтобы внутренние края совпали.

Картины размещают в защищенном от солнца месте, чтобы на них не падали прямые лучи. На ярком свету засушенные части растений плохо сохраняют свою естественную окраску. Не менее губительна для сухих растений и сырость.


Объемные композиции

Цветы — великие учителя художников.

П. П. Кончаловский


Засушенные цветы во все времена являлись приятным украшением. Венки и букеты из сухих цветов и хвойных веток придавали жилищам особую прелесть. Мода на сухие букеты постоянна, и с каждым годом все большее число поклонников появляется у этого вида творчества. Все чаще хозяйки наряду с вареньями и соленьями заготавливают на зиму веточки, травы, листья, цветы, из которых осенью составляют удивительно красочные и неповторимые композиции.


Растения для сухих букетов

Растения для столь необычных композиций окружают нас повсеместно. Это и придорожная трава, и «обитатели» пустырей, лесных опушек, гарей, топей. Из всего этого разнообразия заготавливают в первую очередь такие растения, отдельные части, форма и цвет которых длительное время не изменяется (рис. 4).



Рис. 4. Растения для зимних букетов:

1 — пушица; 2 — тростник; 3 — ежеголовник; 4 — белоус; 5 — рогоз; 6 — папоротник; 7 — пижма; 8 — трясунка; 9 — ежа сборная; 10 — кермек; 11 — гомфрена; 12 — гелиптерум; 13 — целозия; 14 — акроклиниум; 15 — мордовник; 16 — синеголовник; 17 — ксерантемум; 18 — гелихризум; 19 — физалис; 20 — лунария


Среди луговых трав таким требованиям отвечают колосья злаков и растения типа трясунки, вейника, полевицы… Помимо этих растений, можно использовать пушистые «лапки» клевера пашенного (котики), из степных видов — ярко-желтый цмин, синеголовник, ковыль.

Помимо луговых трав, много интересного материала дают болотные растения (рогоз, камыш, частуха, пушица), сухие веточки с шишками или ягодами (лиственница, ольха, шиповник, барбарис), стебли с декоративными плодами (мак, физалис) или засохшими соцветиями (луки) и многие другие.

От дикорастущих видов получено множество культурных сортов, объединенных в группу растений-сухоцветов, которые называют также «бессмертниками» (иммортелями). Это в основном однолетние растения. Благодаря их соломистой твердой структуре, после срезания и естественной сушки в подвешенном состоянии они долгие месяцы сохраняют привлекательный вид. К сухоцветам относятся: акроклиниум, аммобиум, гелихризум, гомфрена, ксерантелиум, роданте, статице и некоторые другие. Однако среди культурных декоративных растений европейской части России все они, за исключением гелихризума, встречаются довольно редко.

По пальцам можно пересчитать декоративные растения, употребляемые для букетов после цветения и созревания семян. Ради прозрачных перламутровых перегородок семенных коробочек специально выращивают лунник садоводы-любители. Лунария — так правильнее называть это наидревнейшее растение на Земле, произрастающее здесь с доледникового периода. Овально-прозрачные пластинки — стручковые перегородки, оставшиеся после созревания семян, опадения створок и листьев, напоминают ущербную луну. Отсюда и пошло название рода.

А китайский фонарик называют еще и физалисом, пузырником, песьей вишней… Примечательно это растение своим плодом, имеющим вздутую бокаловидную форму, образованную тонкой красной ярко-оранжевой кожицей. Внутри нарядного чехольчика вишнеобразная ягода, причем вполне съедобная. Из нее приготавливают ароматное варенье, овощные консервы, добавляют в кондитерские изделия. Однако основное применение физалис находит в зимних букетах и композициях. «Фонарики» месяцами не теряют своей формы и окраски. Для сушки стебли срезают, когда все плоды станут красно-оранжевыми. Их связывают пучками, подвешивают в притененном месте, оборвав предварительно листья.

Кроме сухоцветов, для объемных аранжировок подойдет практически любое дикорастущее или культурное растение. Важно лишь правильно засушить его.


Объемное засушивание растений

Существуют разнообразные способы засушивания и сохранения цветущих растений во всей их первозданной красоте. Необходимо помнить, что:

— сбор цветов нужно вести только днем, в сухую солнечную погоду, когда в воздухе мало влаги;

— чуть подвядшие растения ставят в воду, чтобы лепестки расправлялись и приобрели естественный вид;

— предпочтение при сборе отдается цветам, которые находятся в стадии почти полного роспуска;

— засушиваются практически все цветы, за исключением растений с толстыми мясистыми лепестками, содержащими в себе много воды (хризантемы, гладиолусы, ирисы и др.);

— цветы можно засушивать круглый год, травы — в июне, т. е. в пору их цветения; ветки кустарников, обильно покрытых ягодами — в конце лета — начале осени.

Самый простой, естественный способ засушки растений условно называют «пучковым». Срезанный материал связывают по нескольку штук в свободные рыхлые пучки и подвешивают «вниз головой» в сухом, проветриваемом, предпочтительно темном помещении. Если комната все же светлая, головки цветов оборачивают цветной бумагой, чтобы они не поблекли. Для лучшей сохранности естественного цвета лепестков цветы на короткое время опускают в слабый раствор соляной или азотной кислоты (10–12 г воды на 1 г кислоты).

Растения с синими цветками во время сушки даже при соблюдении всех мер предосторожности чернеют. Чтобы избежать этого, головку цветка на минуту опускают не в раствор кислоты, а в денатурированный спирт.

Недотрогу-одуванчик срывают рано утром, когда соцветие закрыто, а в сердцевине просматривается белый пушок. Соцветие на несколько секунд опускают в кипяток, после чего подвешивают вниз головкой. Когда цветок подсохнет, он сам раскроется белым шаром из прочно «приклеившихся» парашютиков.

Злаки собирают в букетики и расставляют в сухие вазы, где они постепенно высыхают.

Сушка в песке — наиболее эффективный способ «консервации» растений. Он годится на все случаи и незаменим при заготовке таких нежных цветов, как розы, тюльпаны, гвоздики, георгины, пионы, кувшинки и многие другие. Для работы требуется мелкий, просеянный, хорошо промытый и прокаленный на огне речной песок, а также коробки, по размеру немного большие, чем раскрытый цветок (очень удобны прямоугольные пакеты из-под молока, соков).

Можно специально изготовить разборную картонную коробку с размерами дна примерно 20x30 см и высотой бортика 10 см. Отгибают бортики коробки, сшивают их толстой ниткой или соединяют скрепками. Затем в коробку насыпают слой песка в 1 см и на него укладывают растение, цветок, ветку. После этого осторожно подсыпают песок, следя, чтобы песчинки полностью заполнили все промежутки между лепестками и не повредили их. В целях предосторожности лучше всего между лепестками заранее вложить тоненькие кусочки ваты. Засыпав коробку песком доверху, ее ставят на сетку в сушильный шкаф с постоянной температурой (не выше 40°) или выносят на солнцепек.

Сушка может длиться от нескольких дней до недели. После высыхания разбирают коробку или осторожно, через край, удаляют песок. Освобожденное растение помещают на хранение в закрывающуюся просторную емкость.

Если соцветие имеет сложную форму (сирень, черемуха, каштан…) — из тонкого картона изготавливают кулек или берут цилиндрическую коробку. Цветущую ветку засыпают «стоймя».

С помощью подсыпаемого песка растению легко придать нужный изгиб. Пальцем прижимают стебель около бутона, придают соответствующее направление и место присыпают песком.

Любители-флористы иногда вместо речного песка применяют для засушки растений мелкие просеянные опилки, манную крупу и некоторые другие однородные сыпучие материалы.

В отличие от предыдущих, сухих способов консервации, есть так называемый влажный (мумификация), при нем растения выдерживаются в растворе равных частей глицерина и воды. Листья, ветки, цветки помещают в сосуды и заливают раствором так, чтобы все они были полностью погружены. Сосуд плотно закрывают полиэтиленовым пакетом или пленкой и завязывают бечевкой. Через стебель раствор постепенно заполнит все клетки растения. По окончании пропитки оно приобретает несколько неестественный восковой матовый оттенок. Растение вынимают из раствора и досушивают на воздухе, закрепив головкой вниз. После такой обработки все части растения становятся эластичными.

Мало кому известен старинный способ сохранения окраски растений, предназначенных для высушивания. Суть его такова. Только что сорванное растение (или отдельные части) опускают целиком (можно даже с корнями), на 6-12 часов в специально подготовленный, еще горячий, раствор. Рецепт его: в 190 г подогретой воды растворяют 30 г калийных квасцов и 5 г селитры. Затем, стряхнув или сняв мягкой тряпочкой излишки влаги, плоскостно или объемно, с соблюдением всех правил гербаризации, высушивают растение.


Декоративная отделка высушенного материала

После полного высушивания растений их всегда можно отбелить или обесцветить. Готовят 2 %-ный раствор хлорной извести или соды. Выливают его в сосуд с погруженным растением и закрывают крышкой. Размещенные части растения выдерживают при комнатной температуре в течение 4–5 дней. Затем раствор сливают, а цветы, ставшие почти белыми с чуть голубым отливом, высушивают в подвешенном состоянии.

С целью получения более насыщенного цвета, изменения его или необходимостью освежить растение прибегают к приемам окрашивания. Используются самые различные красители. Жесткий и прочный материал (семенные коробочки мака, льна, ваточника…) покрывают гуашью, в которую для закрепления красочного слоя подмешивают клей ПВА. Для получения белого и пастельного тона берут водоэмульсионную краску с добавлением гуаши (без добавления клея).

Можно окрашивать части растений гуашью, акварелью, анилиновыми и пищевыми красителями, не добавляя клей. В этом случае после окраски растения его слегка промывают водой и вновь просушивают. Краска при этом не смывается, а, наоборот, распределяется более равномерно.

Если в композиции нужны «серебряные» или «золотые» пятна, части растений покрывают бесцветным или черным нитролаком и на невысохшую поверхность тампоном наносят алюминиевую или бронзовую пудру.

Чтобы получить разноцветные метелки злаковых и некоторых других растений, их «купают» в горячей воде, а затем вымачивают 10–12 часов в крепком растворе хлорной извести (3 ст. ложки на 1 л воды). Обесцвеченные метелки промывают в холодной воде, дают ей стечь, после чего их помещают в горячий раствор анилинового красителя до получения нужного тона. Закончив процедуру, растения на сутки подвешивают вниз метелками, а потом ставят в сосуд до полного высыхания.

Крупные растения, колосья, гипсофилу нередко прямо в букетах обрабатывают красителями в аэрозолях.

Листовые обвертки от початков кукурузы легко связать бантом или закрутить по спирали винтом. С этой целью обвертки (лучше от молодых растений) вываривают в течение 20–30 минут и, придав листу необходимую форму, зафиксировав ее, высушивают в подвешенном состоянии.


Составление объемных композиций

Основой для крепления растений в сосуде является самый разнообразный материал. Надежней поместить их в пластилин, оконную замазку, мокрую глину, но учесть, что последняя быстро высыхает и переставить цветы в букете не удастся. Для закрепления растений на деревянной поверхности делают наколки на некотором расстоянии друг от друга вбивают несколько гвоздей без шляпок или острием вверх и облепляют пластилином. В крупных композициях берутся большие гвозди и опутываются стальной проволокой. Металлические наколки, а также дырчатые держатели не совсем удобны, так как тонкие и хрупкие стебли сухих растений крепить на них трудно. Под очень крупные работы лучше взять мелкопористый, плотный пенопласт, в котором высверливают или прожигают в нужных местах под необходимым углом отверстия. Идеальным материалом для основы является оазис-приспособление, выпускаемое за рубежом специально для работы с сухоцветами. Используемые в композиции стебли, веточки для удобства подрезают острым ножом наискось, чтобы они лучше втыкались в основу.

При составлении букета не обойтись без проволоки, которая позволяет скрепить растения относительно друг друга, создать дополнительные ячейки для мелких деталей, придать полому стеблю необходимый изгиб, закрепить головку соцветия на тонком стебле и т. д. Проволоку лучше всего брать мягкую стальную или медную толщиной до 1 мм.

Кроме засушенного растительного сырья: листьев, цветов, веточек, коры, при аранжировке широко используют мятую цветную бумагу, подкрашенные древесные стружки, плетеные кружева, ленты, фольгу и даже перья птиц. Выполненные из них веера, банты, конусы, манжеты и т. д. незаметно, с помощью проволоки монтируются среди основных деталей композиции.

При составлении букетов стараются исходить из основного правила цветочных композиций: каждый цветок должен хорошо просматриваться и нести определенную смысловую нагрузку. Естественно, необходимо учитывать соразмерность элементов букета, его цветовое решение.

Среди флористов встречается немало любителей миниатюрной композиции. Их делают из самых мелких растений или даже из их частичек, а также из умело и искусно подобранных вспомогательных материалов, порой очень неожиданных.

Особую роль в них играют «вазочки». Это может быть скорлупа грецкого ореха, аккуратно разделенная на две половинки, короткое «поленце» из стволика бамбука или пустырной травы, раковина и другое натуральное «сырье». Нередко берутся выбрасываемые пластиковые колпачки от баночек, тюбиков, флаконов. Изнутри их заполняют пластилином, а снаружи маскируют под «благородный» материал — отделывают песком, опилками, обматывают нитками, окрашивают и т. д. Для изысканных миниатюр специально выплетают из соломки, бересты, тонких веточек корзиночки, вазочки различных конструкций (рис. 5).



Рис. 5. Декоративные вазочки с букетами из сухих цветов


Плакетки

Столь необычное название носят работы из засушенного природного материала, выполненные на плотной основе и обрамленные красивой рамкой. Однако изобразительные элементы «картины» находятся не только в обрамленной плоскости, но и вне ее. Плакетки — это так называемые полуобъемные прикладные изделия. Их характерной особенностыо является наличие замкнутого пространства и взаимосвязанность всех элементов композиции (рис. 6).



Рис. 6. Плакетки разнообразной формы


Основа может иметь самую разнообразную форму — округлую, квадратную, вытянутую, шестигранную, прямоугольную с усеченными углами… Однако на практике форму изделия чаще всего диктует готовая рамка, которую покупают в специализированных магазинах. Качественно выполнить рамку в домашних условиях весьма затруднительно. Поэтому не случайно умельцы часто прибегают к подручным, порой бросовым материалам: пяльцам для вышивания, плоским тарелкам, пластиковым и металлическим крышкам. Большинство из них имеют выпуклый кант — чем ни рамка будущей композиции.

Работа начинается с подготовки основы. Если это каркасная рамка, ее обтягивают тканью. Плотную поверхность оклеивают бархатной или текстурированной (под дерево) бумагой, тканью, заполняют засушенными листьями с бархатистой поверхностью или лепестками цветов. Иногда основой служат плетеные коврики; из соломы, ленточек, бересты, шпона, редкая плетеная сетка и т. д. В подготовке и дополнительной обработке основы каждый проявляет фантазию, воображение, свою приверженность к тем или иным материалам. Смело экспериментируя, художник находит порой самые неожиданные решения.

Крепление растений ведется по-разному. Если основа достаточно мягкая, то детали прикалываются тонкими длинными иголками, изготовленными из стальной проволоки. На плотную основу детали фиксируют капельками быстросохнущего клея. По тканевой поверхности — пришивают иголкой с ниткой, на конце которой завязан узелок, прокалывают цветок и основу, затягивая нитку так, чтобы узелок не был виден среди лепестков цветка. На обратной стороне тканевой основы нитку закрепляют кусочком пластыря или гуммированной бумаги. Фиксируя стебель или колосок, основу прокалывают с обратной стороны. Перехватывают деталь таким образом, чтобы нитка была не видна. Вводят иголку в это же место, закрепляя с обратной стороны конец нитки.

При свободном (безосновном) размещении частей растений их закрепляют на растяжках из прозрачной тонкой лески, фиксируя ее концы к внутренней стороне рамки картины.

Разрабатывая и собирая цветочную композицию, придерживаются тех же правил, приемов, что и при выполнении плоскостных, объемных аранжировок.

Законченные композиции доводят «до ума». Например, если фоном служит бархатная бумага, можно ввести дополнительные цветные пятна: луна, солнце

в дымке, силуэты строений и т. д. Выполнить их несложно — набрызгом через трафарет, притиркой поверхностного слоя ластиком, втирая меловую пудру (мелок) с постепенным ослаблением ореола.

Сами же растения нередко подцвечиваются различными красителями.

В выполнении такого излюбленного сюжета как «Букет цветов» особую выдумку следует проявить при изготовлении вазы. Очень эффектно выглядят накладные полуобъемные плетенки из соломки, бересты, стеблей трав и других материалов.

Можно попробовать составить композицию с засушенными грибами. Не всякий гриб подойдет для гербария. Выбирают самые крепкие, плотные. Сначала разрезают гриб вдоль на две равные половинки и осторожно выскабливают всю мякоть. Затем обе половинки укладывают на гуммированную (желатинную) бумагу, а сверху прикрывают калькой. Под прессом из среза выделится сок и грибные половинки накрепко приклеются к бумаге. Когда грибы высохнут, аккуратно, по кромке вырезают их и прикрепляют на гербарный лист. На месте гербарного листа может быть плотная основа для декоративной композиции.


Лепестковые композиции

Отличительной особенностью подобных букетов является то, что составными частями «растения» могут быть разнообразные лепестки, цветоложа, стебли, плоды, обвертки и т. д. (рис. 7).



Рис. 7. Последовательность изготовления лепестковых композиций:

1 — заготовки для работы; 2–3 — закрепление лепестков; 4 — вклеивание сердцевины; 5 — законченное изделие


Для составления будущих «лжерастений» заготавливают лепестки бархатцев, гайлардии, рудбекии, цинии, космоса (космеи), подсолнуха, шиповника, имеющих теплые тона и хорошо сохраняющих натуральный цвет. Сушить их удобно в старых книгах с мягкой пожелтевшей бумагой. Лепестки аккуратно, не сминая, раскладывают на развороте через каждые 20–30 страниц. Плоские цветы — флоксы, гортензии, виолы, а также имеющие сросшиеся доли околоцветника (петунии, душистый табак) засушивают целиком. У флоксов к тому же после высыхания довольно долго сохраняется тонкий аромат.

«Сборку» цветов ведут на цветоложе растений с опавшими лепестками: рудбекии, гайлардии, космоса, василька, ромашки, гвоздики, пижмы… Вместо цветоложа используют иногда плоды лопуха с нейтральной серой окраской, коробочки мака, льна. Изредка прибегают к срезам пробки, применяемой для закупорки бутылок. В детских работах это обычный кусочек пластилина или сырой глины.

Цветоножками таких «растений» являются соломинки злаков, веточки полыни, пижмы, шиповника, винограда, барбариса и некоторых других видов.

В отдельных случаях «цветки» включают в себя опушенные семена одуванчика, пушицы, иван-чая. Лепестки заменяются семенами овощных и бахчевых культур (огурцов, кабачков, тыквы, арбуза), чешуйками шишек, летучками клена, ясеня. Последние лучше заготавливать осенью, пока они свежие, приятного желто-зеленого цвета.

Имея под руками необходимый материал, продумав содержание будущей композиции, подбирают одну или несколько «скелетных» веточек. На них клейкой лентой, пластилином или клеем прикрепляют листочки, мелкие цветки, отдельные скомпонованные соцветия, формируя тем самым определенную композицию. В дело идут также цельнозасушенные или комбинированные болотные растения, хвощи, злаки, луки. Полную законченность букету может придать веточка гипсофилы, частухи, которые словно опутывают его легкой дрожащей вуалью.

«Растения» букета фиксируют чаще всего пластилином, прикрепленным ко дну вазы, или в обыкновенном куске пенопласта, вырезанного по размеру дна сосуда.


Имитация бонсая

Чтобы вырастить японского «карлика», нужно не одно десятилетие напряженной работы с растением. Тут и регулярное подрезание корней, и формирование кроны, и особая система полива, и температурный режим, и многое другое, прежде чем деревце-малыш примет черты, присущие настоящему бонсаю.[1]

Можно поступить значительно проще, искусственно смоделировав миниатюрные деревца. С этой целью нужно найти ветку медленно растущего растения, которое произрастало в неблагоприятных условиях. Годичные приросты у него минимальные, поэтому на стволах образуются неравномерные утолщения. Выбранный «ствол» должен иметь красивую, причудливо изогнутую форму и заметное утолщение у основания. Для «оживления» деревца потребуются также объемно засушенные в темном месте побеги с мелкими листочками травы или папоротника…

Немаловажна в искусстве бонсая «колыбелька» растения — емкость, заполненная почвой, в которой формируется корневая система. В нашем случае корневая система отсутствует, поэтому почва, как таковая, не нужна, а вместо нее берут другие материалы, обеспечивающие жесткость и неподвижность деревца. Это может быть свежая сырая глина, пластилин, моток проволоки, которую затем фиксируют гипсом, алебастром с добавлением клея ПВА или цемента. Сверху после посадки «карлика» емкость присыпают перлитом, опилками. Поверхность вокруг закрепленного растения выкладывают кусочками сухого зеленого мха. Чтобы покров образовал однородную ровную поверхность, кусочки мха предварительно опускают на 1–2 секунды в горячую воду.

Помимо мха, прилегающую к дереву поверхность можно обработать промытым речным песком, мелким галечником, обломками «скальных» пород и т. д.

Самая ответственная операция в искусственном бонсае — формирование кроны. Сначала из ветки, если это необходимо, выстригают основу-скелет. Затем, из заранее подготовленного материала, нарезают маленькие побеги с высушенными листочками или побегами папоротника. Продумав пропорции, общую композицию деревца, начинают приклеивать облиственные детали. Из клеевых составов лучше всего подойдет «Момент». Из инструментов в первую очередь необходим пинцет.

Особое очарование «подделке» придают сухие цветы, бутоны, которые могут быть и отдельными частями крупных соцветий. Предпочтительней, чтобы цветы имели светлые оттенки. Сидящая на одном из цветков бабочка (жук, пчела) приятно «оживит» деревце.

Полученное «чудо-дерево» (рис. 8) лучше всего поместить под стеклянный колпак (колокол) или коробку из прозрачного пластика.



Рис. 8. Искусственный бонсай


Декоративные ветки

Желание сохранить красоту уходящего лета, тепло солнечных лучей, жар расцвеченных осенними красками листьев, приводит любителей природы к созданию незабываемых композиций (рис. 9).



Рис. 9. Композиция из веток и засушенных листьев


Принесенные из леса листья укладывают под пресс. Если они чуть пересохли, но очень привлекательны по своей красоте, их сначала заворачивают во влажную ткань — размягчают, а затем проглаживают через бумагу утюгом и укладывают под пресс.

Выбранную ветку очищают или промывают от придорожной пыли (если есть необходимость) и подсушивают. Проводя первичную обработку, определяют, как она будет использована: поставлена в воду, подвешена на стену, прикреплена к камню и т. д. Перекрашивающиеся или слишком густые побеги осторожно вырезают, оставляя лишь основные. Отдельным побегам можно придать иную форму, слегка изогнув пальцами или стянув нитками. Высохнув, они сохранят приданное положение.

К подготовленной ветке начинают подбирать подходящие по величине и форме листья. Количество их должно быть минимально. Силуэт ветки сам по себе настолько декоративен, что нет необходимости плотно закрывать его. Сначала заполняется листьями серединная часть «скелета», а затем концевые части веток. Имеющиеся у листьев утолщения черенков обрезают, чтобы место крепления было малозаметно. Выбрав место крепления листа, прижимают черешок, обматывают ниткой, кончики обмазывают клеем. Законченную ветку ставят в подходящую вазу. С помощью пластилина ее можно также прикрепить к камню, маскируя основание мхом, лишайником, камешками. Украшение иногда подвешивают на нитке к стене или зацепляют за вбитый в стене гвоздь.

Осенняя ажурная ветка может уступить место ветке загадочного растения, густо усеянной небывалыми цветками. Ими будут плоско или объемно засушенные растения, расчлененные или одиночные цветки пеларгонии, дельфиниума, гортензии, монтбреции, фрезии, герани, жасмина и другие. Для миниатюрных веточек подойдут мелкие цветки некоторых сухоцветов, луков, плоды синюхи…

Высушенные цветки сортируют по интенсивности окраски, размеру, форме. Цветоножки сильно укорачивают или срезают совсем. Подготовленную веточку закрепляют на основе. Капельку быстро сохнущего клея наносят на нижнюю сторону цветка и на место его соприкосновения с веточкой, после чего лепестки осторожно прикрепляют к основе. Мелкие и более яркие цветки приклеивают ближе к концам ветвей. Опавшие лепестки используют для имитации бутонов, прикрепляя их к самым кончикам веточек. Крупные цветки и соцветия укрепляют как листья.


«Деревья из сказки»

Во многих странах мира и поныне существует культ дерева как символ благополучия и долголетия, как символ силы, предостерегающей от зла. Поэтому желание людей иметь столь необычного покровителя в доме вполне объяснимо. Чаще всего оно представляет собой искусственное, стилизованное под живое дерево, «сооружение». Выполненное со вкусом, сообразно с местом и обстановкой, оно являет порой настоящее произведение искусства, а в новогоднюю ночь способно заменить ель.

В отличие от искусственного бонсая подобные композиции не копируют настоящие растения, а создают некий вымышленный образ. Среди «сказочных деревьев» встречаются большие, с богатой роскошной листвой, приближающиеся по размерам к природным собратьям; миниатюрные сувениры, где «кроной» служит просто одно сухое соцветие гортензии, лука, частухи, борщевика и т. д.

Стволом «сказочного дерева» служит ветка, укрепленная на подставке или в плоской вазе. К ней различными способами (на клею, липкой лентой, в отверстия) крепятся другие облиственные или голые веточки. Основание закрывают мхом, песком, мраморной крошкой…

Небольшие настольные деревца делают в основном из сухоцветов, мелких веточек. Технически это выполнить просто. На деревянном основании (доске, спиле) устанавливают ветку, закрепив ее гвоздями или приклеив в выдолбленном отверстии. На вершине «ствола» закрепляют кусочек пенопласта, пластилина, глины или иного достаточно мягкого материала. В нем шилом протыкают отверстия, куда вставляют концы маленьких веточек, стеблей трав, предварительно смазав их (при необходимости) клеем.


Фитопечать

С помощью засушенных листьев, собранных с различных растений, в том числе и комнатных культур, можно декоративно украсить, «расписать» материалы, имеющие плотную гладкую поверхность: бумагу, картон, ткань, фанеру, оргалит, бетонные стены…

Наиболее долговечным получается рисунок, пропечатанный масляной краской. Для этой цели больше подойдет краска для художественных работ. Достаточно иметь 3–4 подходящих по тональности цвета, хотя можно обойтись и одним. Предпочтительно, чтобы листья имели бархатистую, шероховатую поверхность, тогда лучше будет удерживаться краска.

На кусок стекла, пластика выдавливается небольшое количество краски. С помощью тампона на лист наносится тонкий слой красителя.

Затем крашеной поверхностью его укладывают на материал и через тонкий слой бумаги равномерно проглаживают ребром ладони или кончиками пальцев. С одного листочка можно получить несколько отпечатков, нанося перед каждым оттиском новый слой краски. По-разному располагая отпечатки, создают неповторимые по рисунку, цветовой гамме композиции, узоры, орнаменты, силуэтные картины (рис. 10). Таким способом украшают обложки книг, осуществляют оформительские работы, отделывают стены небольших помещений.



Рис. 10. Печатные панно из засушенных листьев


Для «набивки»-печатания рисунка на ткани больше подойдет специальная краска (для росписи ткани). Мягкой кистью в направлении толстой центральной жилки (чтобы краска не скапливалась) покрывают красителем высушенную поверхность листа. Обработанный лист переворачивают и осторожно укладывают на полотно. Накрывают бумагой и с легким нажимом прикатывают валиком в направлении от черешка к кончику листа. После этого лист отделяют от ткани и печатают новый рисунок, повторяя знакомые операции. Закрепляют краски на ткани, проглаживая изделие с нанесенным рисунком горячим утюгом. Воспользовавшись этим приемом, украшают скатерти, салфетки, подушки и т. д.

Подарочную открытку, оригинальное панно, украшение можно выполнить, используя обычную гуашь. Поверхность листа покрывают тонким слоем густой гуашевой краски. Цвет ее зависит от задумки автора. Растение сразу же, пока не подсохнет краска, укладывают покрашенной стороной вниз на бумажную основу. Сверху накладывают чистый лист бумаги и проглаживают рукой. Осторожно снимают бумагу, затем само растение. Если остались «пробелы — аккуратно подкрашивают их. Если изделие — подарочная открытка, не забудьте сделать красивую надпись. Для «картины» потребуется большое количество растений, разнообразие красок, хорошее воображение, терпение и аккуратность.


Крапчатая живопись

Во всем многообразии растительного мира каждый цветок, травинка, стебелек имеют неповторимый, только свой, рисунок, силуэт. Художники широко используют естественные контуры растений в создании различных графических работ. Среди них есть прием, заслуживающий особого внимания.

Для будущих картин необходимо подобрать плоскозасушенные цветки, листья, веточки различной величины, имеющие красивую замысловатую форму. Из красок подойдет любая: акварель, гуашь и даже тушь, цветные чернила, хотя палитра последних несколько ограничена. Кисть заменит зубная щетка и мелкоячеистая сетка или расческа.

На подготовленном листе плотной белой или тонированной бумаги, равной по размеру будущей картине, раскладывают засушенные части растений. Если картина будет с полями, то их предварительно прикрывают полосками бумаги; оставшееся чистое поле — для рисунка. Раскладка листьев, лепестков, цветов — самый сложный момент всей работы. Он требует от создателя значительных творческих усилий, незаурядного воображения, вдохновения.

Первоначально по всей поверхности «полотна» раскладываются мелкие цветки, листочки, имеющие по краям тонкий узорчатый рисунок (вьюнок, гвоздика, тысячелистник и др.). Поверх этих растений делается вторая раскладка — листья изрезанные, но более крупные (полынь, папоротник, крапива, череда, одуванчик, земляника и др.) или совсем простой формы. Они будут служить задним планом, фоном, оттеняя тем самым первый ряд раскладки. С появлением опыта можно вводить и дополнительные ряды раскладок.

На зубную щетку набирают краску. После набора краски щетку осторожно стряхивают, чтобы избавиться от крупных капель, которые, попав на картину, испортят ее. Затем, приблизив под небольшим углом к раскладкам сетку (расческу) и щетку, осторожно, движением от себя, обрабатывают поверхность картины. На ней остаются мельчайшие капельки краски. Чем мельче брызги, тем интересней и выразительней будет рисунок. Вместо сетки (расчески) можно воспользоваться лезвием ножа, которым проводят по щетке в направлении к себе.

Прежде чем снять листья, следует убедиться, насколько четким получился отпечаток. Для этого один из листков осторожно приподнимают. Подсушив разбрызганную краску, снимают верхнюю раскладку листьев. Набранной краской другого цвета повторяют набрызг, но уже по оставшемуся первому ряду, приглушая тем самым уже получившиеся теневые изображения.

Сочетание красок может быть различное, но желательно, чтобы их было не более 2—3-х. Это придаст работе большую строгость и изящество. Законченную картину окантовывают, вставляют в рамку, наклеивают на плотную основу (рис. 11, 12).




Рис. 11, 12. Рисунки, выполненные в технике набрызга


Искусство фотограмм

Тем, кто увлечен фотографией, хорошо известна техника изготовления фотограмм — одного из интереснейших направлений в фотоискусстве. Эти картины, являющиеся по существу теневым изображением растений, отличаются строгостью линий и силуэтов, совершенством композиций, тончайшей игрой полутеней (рис. 13).



Рис. 13. Фотограммы


Процесс создания фотограмм предельно прост, даже фотоаппарата не требуется. Весь арсенал художника состоит из фотобумаги, источника света, проявителя с закрепителем и набора засушенных растений, их частей. Все работы с фотобумагой осуществляются при красном свете. Эмульсионную сторону фотобумаги прикрывают стеклом. На нем, прямо над листом фотобумаги, раскладывают подготовленные растения в соответствии с задуманным рисунком. Включается свет и делается определенная выдержка. Она зависит от прозрачности объекта и мощности источника света. Затем следует, как при обработке обычной фотографии: проявление, промежуточная промывка, закрепление, окончательная промывка и просушка, для глянцевых бумаг — глянцевание.

Фотобумагу лучше брать повышенной контрастности. Оптимальный выставочный формат — 18x24 см. Для работ, решенных в полутонах, больше подойдет мягкая фотобумага.

Засвечивать картину проще всего через фотоувеличитель со снятым объективом, или у него полностью открывают диафрагму. В качестве источника света можно использовать настольную лампу и даже карманный фонарь, хотя выдержка при этом несколько увеличится. В любом случае при засветке фотобумаги выдержку определяют опытным путем. Поэтому части растений раскладывают не сразу на фотобумагу, а на тонкое, абсолютно чистое и прозрачное стекло. Это дает возможность, не разбирая растения, менять листы фотобумаги, подбирая выдержку или дублируя снимки.

Несколько практических советов для желающих овладеть этим видом фотоискусства:

— фотобумагу для силуэтных картин лучше брать с тисненой или матовой поверхностью — она почти не отражает свет;

— прижимать размещенные детали стеклом нет необходимости, растение от этого теряет свою естественную графическую форму, объемность; в то время как для получения резких контрастных пятен и линий лучше им воспользоваться;

— один и тот же предмет на бумаге можно засвечивать несколько раз, перемещая его по поверхности;

— различные выдержки дают различные световые эффекты: от густых теней до полутонов;

— для смягчения рисунка после экспонирования растений на лист фотобумаги кладется полупрозрачная ткань, которая создает эффект вуали, заметно снижающий контраст, а сами растения как бы приобретают сетчатую структуру;

— рисунок, получаемый на фотограммах, имеет негативное изображение, поэтому для получения позитивного снимка с имеющегося бумажного негатива контактным способом печатают изображение на новом листе фотобумаги;

— оригинальные теневые изображения можно получить из тонких срезов овощей и фруктов с «ажурной» мякотью;

— для оживления картин в искусстве фотограмм нередко используются: птицы, крылья бабочек, стрекоз, мелкие насекомые;

— подбирать в композицию минимум изобразительных деталей;

— каждая фотограмма уникальная — дважды повторить ее невозможно, поэтому не стоит спешить выбрасывать или уничтожать неудачные работы, можно, к примеру, попробовать расписать их акварельными красками.


Растения… под воском

Подсушенные, тонкие, изящные, разноцветные лепестки розы, гвоздики, лютиков, изысканной формы листья люпина, клена, герани… могутстать оригинальным украшением гладкой поверхности вазы, сосуда, кафельной плитки, свечки. С этой целью растапливают небольшое количество воска. На декорируемую поверхность накладывают высушенные лепестки, листья и быстро промазывают их и прилегающую плоскость кисточкой с теплым воском. Если лепестковый узор выложен на поверхности свечи, сверху на нее надевают защитное кольцо. Оно предохраняет «рисунок» от заливания воском тающей свечи.


Тополевый планер

Модель планера из листа тополя, кусочка пластилина и листка тетрадной бумаги соорудить совсем не трудно. Сначала необходимо нарисовать на бумаге симметричный вид модели сверху. Затем рисунок переводят на высушенный лист тополя средних размеров, вырезают и, приклеив киль, «загружают» нос пластилином. На «стабилизатор» наклеивают бумажные «рули» высоты (рис. 14).



Рис. 14. Планер из тополевого листа


Растения в металле

Среди приемов декоративной обработки высушенных растений есть способ, который заслуживает внимания художников-ювелиров. Суть его проста — объемно высушенное миниатюрное растение или часть его (цветок со стеблем, ажурный листочек и т. п.) сплошь покрывается тончайшим слоем благородного металла. В западных странах есть фирмы, специализирующиеся на выпуске таких украшений, пользующихся большим покупательским спросом. Все технологические тонкости изготовления столь необычных ювелирных изделий, как правило, держатся в секрете. Тем не менее в домашних условиях можно попытаться освоить столь необычное производство.

Прежде всего необходимо тщательно отобрать растения. Они должны быть безупречными как до объемного высушивания, так и после. Затем их обрабатывают в спирте или растворах хлорида натрия, бария или кальция, уксусной или салициловой кислоты в течение нескольких минут. Пропитанное одним из растворов и поверхностно подсушенное растение покрывают несколькими слоями щелочного лака.

Для металлизации растений готовят на дистиллированной воде четыре раствора:

1-й раствор — 4 г гидроксида натрия на 100 мл воды;

2-й раствор — 4 г нитрата серебра на 10 мл воды;

3-й раствор — 7 г аммиака (25 %-ный раствор) на 100 мл воды;

4-й раствор — 2,5 г сахара на 85 мл воды.

Все четыре раствора сливают в один сосуд и в полученную жидкость опускают растения. После того как поверхность растений покроется серебром, их вынимают из раствора, промывают водой и загружают в гальваническую медную ванну. Чтобы избежать плавучести растений, их, с помощью капелек парафина, прикрепляют к стеклу или кусочку пластмассы.


С цветами на… врага

С мышами, появившимися в доме, есть верный способ борьбы — посыпать пол и полки сушеной ромашкой.

Высушенные соцветия ромашки кавказской (пиретрума) издавна применяют для окуривания теплиц против вредных насекомых. Порошок или соцветия целиком сжигают на железных противнях, сковородках. При обработке помещений исходят из расчета: на один кубический метр пространства расходуют 5–6 г высушенного сырья.

Чтобы уберечь землянику от заболеваний сырой гнилью, почву вокруг растений мульчируют хвоей сосны.

Конопля (все части растений), будучи внесенной в почву под яблоню, надежно защитит ее от непрошеных гостей — насекомых-вредителей.


БИБЛИОГРАФИЯ

1. Гульянц Э.К., Базик И.Я. Что можно сделать из природного материала. — М.: Просвещение, 1991. — 175 с.

2. Перевертень Г.И. Самоделки из разных материалов. — М.: Просвещение, 1985. — 112 с.

3. Мамонтова З.А. Засушивание растений с сохранением их цвета и формы. — М.; Сельхозиздат, 1959. — 182 с.

4. Филенко Ф.П. Поделки из природного материала. — М.: Просвещение, 1976. — 110 с.

В работе над статьей были использованы многочисленные публикации в журналах: «Биология в школе», «Бурда», «Начальная школа», «Сделай сам», «Цветоводство», «Школа и производство», «Юный техник», «Юный художник» и др.

Овощи и фрукты — почти как настоящие

А.И.Каторгин


При составлении учебных или творческих натюрмортов педагоги художественных учебных заведений и художники, наравне с живыми овощами и фруктами, используют муляжи, изготовленные из парафина.

Муляжи, изготавливаемые Московским комбинатом наглядных пособий и мастерской города Мичуринска Саратовской области, отвечают всем требованиям имитации плодов. Но в наше время купить их практически невозможно. Отсутствие муляжей в натюрмортном фонде художественной школы, в которой я работаю, натолкнуло на мысль разработать технологию изготовления муляжей в школьных или домашних условиях, ведь литературы по этой теме практически не существует. Эта статья сможет стать практическим пособием для желающих научиться изготовлять овощи, фрукты, ягоды и грибы. Муляжами, изготовленными мной, пользуются практически все художественные учебные заведения города Ульяновска и области, а также художники-профессионалы.

Изготовление муляжей делится на пять этапов:

1. Подготовительный этап.

2. Изготовление гипсовой формы.

3. Отливка из парафина.

4. Роспись.

5. Глазурование и отделка.


Подготовительный этап

Лучше всего начинать освоение техники изготовления муляжей с овощей или фруктов простой формы и небольшого размера — не крупнее куриного яйца. Чем проще форма плода, тем легче снять с него гипсовую форму, на мелкие плоды пойдет меньше материалов. И еще один совет: изготавливайте муляжи сразу 3–4 плодов различной формы. Например: огурец, томат, редис, яблоко, груша, мандарин и т. д.

Отобрав плоды, желательно свежие без вмятин и гнили, удалить плодоножки и чашелистики, которые необходимо замочить на 2–3 дня в растворе глицерина с водой в пропорции 1:3 (одна часть глицерина, три части воды), это предохраняет плодоножки и чашелистики от пересыхания и гниения, сохраняет их почти естественный цвет. Насухо протертые и покрытые тонким слоем подсолнечного или другого растительного масла, плоды готовы к следующему этапу — снятию гипсовой формы. Все дальнейшие процессы будут рассматриваться на примере изготовления муляжа яблока.


Изготовление гипсовой формы

Для снятия гипсовой формы понадобится: гипс или алебастр, полоска картона, линолеума или эластичного пластика, кусок фанеры или стекла 20x20 см.

Гипсовка — сосуд для изготовления гипсового раствора, в идеале это половинка резинового мяча среднего размера (рис. 1, а) или эластичная пластмассовая миска емкостью 1 литр.

Также будут необходимы подсолнечное или любое другое масло, нож, мебельный лак НЦ или паркетный ПФ, пластилин или глина, канцелярские скрепки.

Для формовки или отливки используют формовочный или строительный гипс (алебастр). Алебастр предварительно необходимо просеять через мелкое сито. Подготовить опалубку из куска картона или линолеума в три раза выше формуемого яблока, а диаметр опалубки должен быть на 4–5 см больше диаметра яблока. Согнутое кольцо из картона скрепляется канцелярскими скрепками или проволокой, устанавливается на кусок стекла или фанеры и тщательно промазывается пластилином или глиной, чтобы не было утечки раствора (рис. 1, б).



Рис. 1


При одновременном изготовлении большого количества форм для экономии времени можно поступать следующим образом: на кусок фанеры или стекла наливается тонкий слой гипсового раствора (2–3 мм) и на него устанавливаются подготовленные опалубки для отобранных плодов. Этот способ дает полную гарантию неподвижности и герметичности опалубок.

Опалубка установлена, яблоко подготовлено — можно готовить гипсовый раствор. Раствора нужно развести столько, чтобы он заполнил 1/3 высоты опалубки (но лучше развести немного больше). Хороший раствор можно получить, если смешать воду и гипс 7:10. При замешивании раствора гипс засыпается в воду, а не наоборот. Готовый раствор употребляют немедленно. Помните, что свежеприготовленный раствор только в течение 2–5 минут сохраняет необходимую текучесть. Через 7–8 минут он уже теряет пластичность, а через 15–20 минут затвердевает полностью. Процесс затвердевания гипса необратим, поэтому разводить загустевший раствор водой не пытайтесь. Замешанный на теплой воде, он затвердевает еще быстрее.

Гипсовый раствор заливают в опалубку на 1/3 ее высоты, опускают в него яблоко так, чтобы оно утонуло в растворе точно до середины и придерживают его в таком положении до затвердения раствора. Необходимо подчеркнуть, что яблоко опускают в раствор вниз цветоносом, значит, углубление плодоножки будет вверху. Если яблоко опускать боком, то из будущей формы будет невозможно вынуть не только само яблоко, не повредив его или форму, но и парафиновую модель. Через 20–30 минут после того, как гипс хорошо затвердеет, ножом или стеклом делают два конических углубления в половинке гипсовой формы, тщательно очищают опалубку, яблоко и форму от гипсовых крошек, смазывают форму и особенно углубления в ней подсолнечным маслом, готовят новую порцию гипсового раствора. Заливку начинают тонкой струей в ямку плодоножки, а когда все яблоко будет облито раствором, заполняют опалубку до краев. Через 20–30 минут снимают опалубку, аккуратно ножом разъединяют форму и вынимают яблоко. Получены две половинки формы («раковины»). На одной половинке — два углубления, на другой — два конических выступа. Они служат замками, не дающими половинкам формы сдвигаться относительно друг друга. «Раковины» соединяют, обрабатывают по периметру затеки и наплывы, с одной стороны делают плоскость, чтобы форма могла стоять, с противоположной стороны — коническое отверстие диаметром 10–12 мм для заливки парафина (литок) и рядом отверстие диаметром 5–6 мм для выхода воздуха при заливке парафина (воздуховод) (рис. 1, в). После чего форма разъединяется, очищается от крошек и просушивается.

Форму можно сушить на батарее парового отопления, возле печки или других отопительных приборов, но температура не должна превышать 40–50 °C. Когда форма полностью просохнет, ее внутреннюю сторону, включая леток и воздуховод, покрывают 2–3 раза лаком НЦ или ПФ, тщательно просушивая каждый слой. «Раковины» после обработки лаком должны иметь гладкую, глянцевую поверхность, их нужно смазать керосином, соединить половинки формы, стянув резиновым кольцом от мотоциклетной камеры. Если нет резиновых колец, можно связать прочным шпагатом или веревкой — форма готова для заливки парафина.


Отливка из парафина

Материалы и инструменты, необходимые для изготовления парафиновой модели: парафин 300–500 граммов (5–6 стандартных свечей), керосин для смазки форм, нож с деревянной ручкой, шило или спица с деревянной ручкой длиной 15–20 см, трубка металлическая или пластмассовая с наружным диаметром 3–4 мм, длиной 15–20 см, глина, спиртовка или электроплитка, две емкости для растапливания парафина.

Парафин растапливают на водяной бане по принципу клееварки (рис. 1, г). Меньшая емкость с парафином устанавливается в большую с водой и ставится на огонь. Емкость под парафин должна быть такого объема, чтобы в ней, не задевая стенок, можно было утопить изготавливаемый муляж. Парафин размельчают, воду доводят до кипения и после полного расплавления парафина кипятят еще 10–15 минут, доведя, таким образом, температуру парафина почти до 100 °C. Это необходимо для того, чтобы при заливке в форму парафин дольше не застывал и не пенился.

Подготовленную форму поставить на поднос или на мелкую тарелку, а если форм заливается большее количество, можно взять кусок линолеума, загнув края в виде подноса (рис. 1, д). Это необходимо для того, чтобы вылившийся из форм парафин можно было бы собрать и использовать вновь. Заливать парафин в формы можно из той емкости, в которой он растапливался, а лучше иметь сосуд типа кофейника. Заливают парафин быстро, до полного заполнения формы, пока он не начнет выливаться из воздуховода. Если парафин вытекает через стык формы, ее нужно промазать глиной. Залитой форме дают выстояться, доливая парафин при его осадке. Стенки формы не могут нагреться до температуры парафина, поэтому он постепенно «намерзает» на стенках и, чем дольше выстаивается форма, тем толще слой парафина «намерзает». Поэтому время выстойки зависит от размера отливаемой модели и температуры в мастерской. Мелкие плоды (редис, вишня, слива, земляника) не имеет смысла делать тонкостенными, поэтому их выдерживают 7—10 минут. Более крупные плоды (яблоки, груши, мандарины), размером с куриное яйцо, выдерживают 15–25 минут при температуре в мастерской 18–20 °C. Если температура в мастерской ниже или выше, делается поправка — 2–5 минут на каждые 3°. После выдержки и двух-трех доливок парафина длинным шилом или спицей очищают литок, из формы сливается лишний парафин, форма переворачивается вниз литком и ставится на поднос для выстойки на 10–20 минут в зависимости от размера плода и наружной температуры. Долго держать нельзя, т. к. парафин сильно затвердеет и это может привести к порче не только отливаемой модели, но и самой формы. Из литка удаляется затвердевший парафин, в литок вставляется трубка, герметизируется мягким парафином. Если она засорилась — прочищают шилом и делают сильный поддув. Это делается для того, чтобы исправить деформацию теплой парафиновой модели, которая может произойти при выстойке формы. Если у вас форма стянута резиновым кольцом, то поддув делается до легкого разжима формы. Кольцо, стягивающее форму, вернет половинки на место.

Вынуть трубку, снять резиновое кольцо или шпагат, очистить литок и всю форму от парафина и аккуратно снять одну из половинок формы, осторожно вынуть модель плода из второй половины. Белая, теплая и еще мягкая модель требует осторожного обращения. Острым или горячим ножом срезать наплывы литка и воздуховода, если там образовались сквозные отверстия, их заделывают теплым парафином и заглаживают горячим ножом, который нагревают на спиртовке или электроплитке. При обработке этой части плода, его необходимо держать вниз литком, подняв на уровень глаз, иначе мягкие еще стенки могут провалиться, а вернуть их на место чаще всего не удается. Но если уж это случилось, модель помещают в форму, связывают вновь, заделывают в литке трубку и делают поддув. Если модель не успела сильно остыть, то провалившаяся ее часть встанет на место, если же этого не произойдет, то модель бракуется и отправляется в переплавку. Если углубление провала небольшое, то оно заделывается горячим парафином, но само углубление необходимо подплавить горячим ножом или шилом, каплями внести нужное количество расплавленного парафина и загладить горячим ножом. Этим же способом можно реставрировать старые муляжи.

Литок и воздуховод заделаны, теперь срезаем и заглаживаем наплывы, образовавшиеся на месте стыка формы, всю модель оглаживаем руками и отправляем в сосуд с холодной водой для полного остывания. Через 20–30 минут матово-белая, остывшая и затвердевшая модель готова к следующей операции.


Роспись

По количеству изготовляемых муляжей заготовить палочки длиной 20–25 см и толщиной с карандаш, но желательно не цилиндрического сечения. Пригодится: шило, масляные краски, плоские и круглые беличьи кисти различных номеров, керосин, пульвелизатор, аэрограф или зубная щетка для набрызга краски. Банка или коробка с бортами около 10 см, наполненная песком.

Для того чтобы было удобно расписывать и сушить муляжи, в них необходимо вделать деревянные палочки, заостренные с двух сторон. Для этого в углублении для плодоножки делается нагретым шилом отверстие, и в него быстро вставляется палочка до упора в противоположную стенку модели, не протыкая ее. Если палочка укрепилась плохо, то вокруг нее можно еще раз оплавить парафин и дополнительно положить парафиновых крошек, расплавить их ножом или шилом. Палочка укреплена, можно приступать к росписи, именно к росписи, а не к раскрашиванию.

Цвет яблок очень неоднороден, особенно красных сортов, поэтому необходим довольно большой набор красок, а именно: белила, кадмий желтый, стронциановая желтая, охра, марс коричневый, черная — любая, кадмий красный, светлый и темный, краплак, кобальт зеленый, зеленая ФЦ. В качестве разбавителя используется керосин. Качественно расписать яблоко в один прием не удается (имеются в виду красные сорта), зеленые или желтые сорта расписываются в один прием. Вначале нужно внимательно рассмотреть цвет натурального яблока и постараться повторить все его цветовые оттенки, стараясь не накладывать краски слишком густо, но и не слишком жидко, чтобы краска не стекала с модели. Первоначально наносятся светлые тона: желтый, зеленый и мягкие переходы в розовый или красный. Темные тона наносятся после полного просыхания светлых (через 2–3 дня при температуре 18–20 °C). Цвет наносится мягкой кистью или аэрографом, если нет аэрографа или пульвелизатора, набрызг делают зубной щеткой, обмакнув ее в жидкую краску и проведя по ней линейкой или металлической пластиной, как бы счищая с нее краску. Таким способом достигается естественность расцветки плода. А если на яблоке имеются красные штрихи, их наносят тонкой колонковой или беличьей кистью, строго следя за направлением этих штрихов, их длиной и толщиной. Расписанное яблоко укрепляют в банке с песком для просушки (рис. 1, е).


Глазурование и отделка

Через 2–3 дня яблоко или другие плоды готовы к глазуровке. Парафин разогревается на водяной бане до температуры, приближающейся к 100 °C. Расписанный и просохший муляж берут за палочку и на 1–2 секунды полностью опускают в расплавленный парафин (рис. 1, ж). Яблоко необходимо держать за палочку не вертикально, а горизонтально, это необходимо для того, чтобы в нижнем углублении цветоноса не образовался воздушный пузырь, а в верхнее углубление не затек излишек парафина. Вынув муляж из парафина, его держат над сосудом до полного остывания, а остывает он в течение 1–2 минут, и буквально на глазах матовая поверхность муляжа превращается в блестящую, закрепляя и выявляя все прелести и недочеты в росписи. Затем нужно срезать и загладить образовавшиеся на муляже капли.

Последний этап обработки муляжа — закрепление плодоножки и цветоноса. Плодоножка от натурального яблока, выдержанная в глицерине, закрепляется в нужном месте с помощью кусочков парафина, которые расплавляются нагретым шилом или ножом.

Цветонос для яблока и груш изготавливают из кальки, которую нарезают прямоугольниками размером 2x3 см, окунают в расплавленный парафин на 1 секунду. После остывания их скручивают в тонкую трубочку и, наполовину утопив в отверстии, проделанном в месте закрепления цветоноса, припаивают ее разогретым шилом. Затем в трубочке делают 4–5 продольных надрезов маникюрными ножницами, окрашивают в коричнево-зеленый цвет и слегка приминают пальцем. Цветонос мало чем отличается от натурального.

В заключение хочется дать описание нескольких приемов обработки муляжей для придания им более натурального вида.

Муляжи всех расписанных плодов необходимо глазуровать, но не все плоды имеют глянцевую поверхность. Например, гранат, груша, мандарин, апельсин имеют матовую поверхность; персик и абрикос — бархатистую; слива, терн — матово-бархатистый налет. Матовость плодов делают щетинной одежной щеткой, слегка натирая ею муляж.

Сделав легкие наколы маникюрными ножницами на муляже груши и втерев в них коричневую масляную краску, получают темные точки, характерные для груши. Бархатистую поверхность персиков и абрикосов делают той же щетинной щеткой, слегка постукивая ею по муляжу. Выдавить немного белил на ладони, растереть их обеими руками, а затем покатать в ладонях муляж сливы. Плод получит почти естественный матовый налет.

Работаем в стиле Хохломы

А.Л.Сорокина


На берегу реки Волги, в старинном селе Хохлома с XVII века существует искусство «огненной росписи» — «золотая хохлома». Близость селения к ярмарке и реке стала благоприятным условием для развития промысла и торговли.

Слава промысла, вышедшая за пределы России, утверждалась в XVIII–XIX веках. В это время село Хохлома, где можно было купить выточенную неокрашенную посуду — «белье» и продать готовые расписные изделия, стало центром, объединяющим «красильщиков» окружных деревень. Над росписью работали семьями.

Деревянную ложку с миской можно было увидеть на столе боярыни и в избе крестьянина, в хозяйстве богатого вотчинника и в царском обиходе. Красиво отделанная ложка или ковш считались завидным подарком. Самой почетной посудой на столе была расписная солоница. Вместе с караваем хлеба соль в солонице участвовала в ритуалах, хлебом — солью встречали гостей, молодоженов в день свадьбы. «Без соли, без хлеба — худая беседа!» — говорит пословица.

Очень часто посуду называли «красная, писанная». Сочетание пламенного цвета киновари (минерал — краситель) и сияющего золота в искусстве Хохломы восходит к древнерусской живописной традиции. Именно иконопись дала развитие народному промыслу. Техника росписи, испытанная веками, почти без изменений сохранилась до наших дней, обновившись лишь в материалах и технологии.

Из баклуш (полешков) березы или липы вытачивали, вырезали, выдалбливали ложки, чаши, ковши, кондейки и иную утварь. «Белье» точилось из сырого дерева, поэтому его потом еще выдерживали при комнатной температуре двенадцать дней. Затем «варили», т. е. производили раствором глины грунтовку, чтобы изделие стало гладким. Дело в том, что древесина — очень пористый материал, и чтобы закрыть все поры, создать водонепроницаемый слой, ее нужно было особо обработать. Хорошим материалом для этого оказалась обычная глина, специально выдержанная в воде. Эту глину хохломичи называют «вапой», отчего и сам процесс пропитки изделий глиной стал называться «ваплением».

После вапления-грунтовки просушенное изделие обмазывали льняным маслом при помощи кусочков шерсти (теперь это можно делать поролоновым тампоном, тряпочкой), чтобы слой глины смешался с маслом, затем изделие шлифовали лычным мочалом (можно фетром) и окончательно — льняной тканью. После шлифовки изделие ставили для просушки в печь на четыре-пять часов.

Затем изделие шпаклевали смесью глины с олифой. Прошпаклеванное изделие снова ставили сушить и обрабатывали олифой для создания масляной пленки. Олифой изделия промазывали и подсушивали три раза.

Последний слой подсушивали, но не до полного высыхания поверхности. Только потом изделие лудили, натирая поверхность оловянным порошком, чтобы оно становилось сначала серебряным, а потом (под олифой) золотым. В конце XIX века пользовались алюминиевым порошком. После этого изделие расписывалось. Завершался процесс покрытием всего изделия олифой и окончательной «закалкой»-сушкой в закрытых печах при температуре 100°. Слой олифы приобретал золотистый оттенок, сквозь который блестел металлический фон. Мастер твердой рукой расписывал сажей черные плавные и обвивающие кривые линии на выпуклых изделиях. Короткими, мягкими мазками кисти изображали листья, цветы, тычками «золотили» их середины. Сверкание золота разных оттенков составляет особенность хохломских изделий. Основу колориту придают киноварь и сажа в сочетании с золотом. Зеленый и желтый цвета дополняют и разнообразят основное звучание цвета. В старину хохломские изделия расписывались масляными красками.

В Хохломе постепенно сложился свой стиль — приверженность к цветочному орнаменту. Киноварно-красные ягоды и плоды оттеняли черный контур растений, выступавших на солнечно-золотистом фоне.

По способу нанесения на расписываемую поверхность письмо делится на «верховое» и «фоновое».

При верховом, более древнем традиционном письме на золотом фоне писался узор и после закалки фон оставался золотым.

При фоновом — напротив, золото фона закрашивается красным или черным цветом, а рисунок — листья, ягодки, цветочки — сверкает золотом.

На основе обеих систем хохломские мастера создали множество вариантов узора. Самый распространенный для верхового письма — «травка» (рис. 1). «Травный» орнамент мягко стелется по поверхности изделий, гибкие мазки образуют узор из волнистых тонких стебельков, чередуются красные и черные цвета.



Рис. 1


Старый классический для хохломы прием верхового письма «под листок» (рис. 2) расписывается по серебряному фону и состоит из сочных ягод, листьев на гибкой и подвижной веточке. В сравнении с «травкой» этот орнамент более многоцветен: к черному и красному добавляют желтый, зеленый и коричневый цвета. Естественная фактура дерева иногда применяется как фон.



Рис. 2


Орнамент «под фон» родился, как вариант фонового письма (рис. 3). Обычно на черном или красном фоне остаются золотистые листья и ветки.



Рис. 3


Приступая к росписи, на луженую поверхность черной контурной линией наносится рисунок, затем все свободное пространство записывается черным, красным или зеленым цветом.

Орнамент «Кудрина» является одним из приемов фоновой росписи, узор которой отличается укрупненным размером, а все ее формы напоминают закручивающиеся завитки (рис. 4).



Рис. 4


При письме завиток оставляют незакрашенным (после закалки он светится золотом), окружают цветным фоном. Силуэт орнамента дополнительно прорисовывается внутри мелкими прожилками. На цветы наносятся тычинки и сердцевинка, на листья — прожилки, а поверх фона — ягодки и листочки. Мастера любят «вплетать» в этот орнамент изображения рыб, птиц и цветов.

При построении орнамента основу любой композиции составляют плавно изгибающиеся, как бы вырастающие друг из друга ветви, которые называют «корнем», или «ведущей». Вокруг «ведущей» располагаются другие детали росписи, чередование которых подчиняется определенному ритму.

В центре помещают крупный главный элемент — гроздь рябины или цветок. Вокруг главного элемента узора располагают второстепенные — листья, травки, отдельные ягоды и цветы.

Небольшое изделие можно выполнить своими руками дома. Ассортимент хохломских изделий велик, но для начала попробуем выполнить небольшую доску-панно (рис. 5–8).


Рис. 5



Рис. 6



Рис. 7



Рис. 8


Для росписи выбираем хорошо высушенную деревянную заготовку без вмятин и трещин. Деревянная доска хорошо зачищается и ошкуривается. Разметьте и распределите на доске орнамент рисунка. Переведите рисунок на кальку, а затем, укрепив ее на изделии кнопками, карандашом на доску (поверхность дерева должна быть гладкой). Для росписи используйте гуашевые краски, разведенные в 3–5 %-ном столярном клее. Клей нужно добавить в баночки с краской и хорошо размешать. Получившаяся масса хорошо набирается на кисть. Гуашью такой консистенции можно писать по незагрунтованной поверхности, т. к. краска не растекается.

Роспись выполняйте мягкими беличьими и колонковыми кистями разной величины. По окончании работы с красками кисти промойте теплой водой с мылом.

Мы предлагаем несколько рисунков фонового письма. При желании рисунки можно увеличить, повторив рисунок в зеркальном изображении.

У росписи «под фон» много общего с «Кудриной». Сначала заливаем фон черной тушью, оставляя главный рисунок — ветки и листья (рис. 6). Затем красной гуашью рисуем по черному фону ягоды, цветы (рис. 5, 7), серединки цветов (рис. 7). Зеленой гуашью прорисовываем травку. Белой гуашью дорисовываем цветы (рис. 5, 7).

В рисунке «Кудрина» (рис. 6) заливаем только фон, оставляя орнамент, затем прописываем черной гуашью тычинки и сердцевинки цветов и листьев.

После полного высыхания доска лакируется специальной кистью лаком ПФ-283/4С. Лакированное изделие сушат 12 часов, избегая сквозняков и пыли. После нанесения второго лакового слоя, изделие сушат более суток.

Также можно отлакировать изделие нитролаками НЦ-221, НЦ-316, также нанося два слоя вручную или краскораспылителем. Сушка после такого лакирования длится 30–60 минут при комнатной температуре.

Под блестящей пленкой лака и без того яркие краски приобретают глубину и звонкость.

Этот способ росписи относительно прост и поэтому доступен каждому. Изделие готово и может стать хорошим подарком.

СТОИТ ПОПРОБОВАТЬ

Русские присолы и салаты

Известно, что уже в XII веке на Руси солили огурцы и квасили капусту. Затем круг овощей и плодов, перерабатываемых в соленья, все более расширялся. В конце концов оказалось, что можно солить грибы, огурцы, помидоры, кабачки и дыни, горох, зелень… и все без уксуса. Были созданы свои, русские, способы консервирования: соленья, квашенье, моченье. Вот эти-то присоли, характерные для русского стола, и стали первыми закусками к столу наших предков.

В России закуски складывались также из крестьянского обычая рано утром, сразу после сна, еще до выхода в поле, съесть что-нибудь быстренько уже готовое, холодное, не требующее никакого приготовления, и запить простоквашей или квасом. Русский человек издавна привык к горячим сытным блюдам. Вот почему закуски, получившие распространение в XVII и XVIII веках, главным образом, за столом знати, с самого начала включали чаще всего легкие для усвоения продукты или возбуждающие аппетит. И делалось это не для насыщения, а лишь как вступление к обеду. Так попала вместе с хлебом на стол соленая, вяленая, отварная и залитая своим соком севрюга, осетрина, стерлядь, а также икра. Появляются на столах знати и немецкие бутерброды, французские и голландские сыры, совмещаемые наряду с рыбой еще и с мясом, студнем, бужениной, ветчиной. Начиная с петровских времен, русская знать заимствует и вводит у себя западноевропейские кулинарные традиции, выписывая поваров шведских, немецких, голландских, австрийских и французских.

Только после Отечественной войны 1812 года в связи с общим подъемом патриотизма в стране и борьбой с иностранным влиянием начинает возрождаться интерес к национальной русской кухне. Собирание, восстановление и разработка забытых старинных русских рецептов в помещичьих усадьбах шло вплоть до 70-х годов прошлого столетия. Источником для этого собирания была народная кухня с огромным числом безымянных и безвестных, но талантливых поваров. Восстановлены были и основные черты русской кухни, обилие яств, разнообразие закусочного стола, рыбного и грибного, широкое применение солений и овощей…

И снова на русском столе появились присолы, закуски и салаты, созданные в начале нашего столетия на базе национальных закусок: соленых грибов, квашеной капусты, соленых огурцов, моченых яблок, перемешанных с луком и русской заправкой — подсолнечным маслом, уксусом, перцем и хреном. Само же слово «салат» оставалось для нас новым еще накануне первой мировой войны. Но благодаря неповторимому ассортименту, изысканному и тонкому вкусу русские салаты и закуски не уступали салатам ведущих кухонь мира. Не уступают и сегодня.


Соусы и заправки для холодных закусок

Заправка уксусная

Уксус известен на Руси давно. Уже в «Домострое» есть описание его приготовления. Готовили уксус ржаной, хлебный, березовый, малиновый, яблочный, винный и др. Настаивали для ароматизации на различных травах и пряностях.

Уксусная заправка характерна для многих русских закусок, употребляется она и в салатах.

Чтобы приготовить уксусную заправку, в поллитра 3 %-ного уксуса кладут 40 г сахара, 2 г перца, 20 г соли, вливают поллитра растительного масла и все тщательно размешивают.


Заправка горчичная

«Как утверждают, средь трав, заслуживающих хвалу Пифагора, первой по праву горчица его получила», — говорит древняя книга «О свойствах трав». И среди множества прочих достоинств горчицы называет и такое, ради чего и употребляем мы ее в пищу: «В пище острит ощущенья, желудок она возбуждает; съешь — и нутро повредить не позволит грибам вредоносным…»

В виде приправы на Руси известна она с незапамятных времен. Любопытно, что при археологических раскопках был найден глиняный черепок с надписью, сделанной кириллицей, — «горощуха» (горчица).

Приготовить горчичную заправку для закусок и салатов несложно. Желтки трех вареных яиц хорошенечко растирают с 50 г уже готовой горчицы, таким же количеством сахара и 20 г соли. Затем понемногу добавляют 300 г растительного масла, продолжая растирать смесь. Когда все масло соединится с желтками и горчицей, вливают 650 г 3 %-ного уксуса и добавляют 2 г молотого перца.


Чесночная заправка

Название «чеснок» почти одинаково звучит во многих славянских языках. Первоначально оно означало «расщепленный на дольки лук». И хотя чеснок считается вероятным выходцем из киргизских степей, однако популярен он во всех странах мира.

В Египте на строительство пирамид сгоняли тысячи рабов, которым ежедневно давали лук и чеснок, чтобы они не болели. В Древнем Риме чеснок входил в обязательный рацион легионеров, так как считалось, что, кроме целебных свойств, способен он был придавать воинам силу и мужество. Славяне и греки считали это растение незаменимым средством против укуса змей, так и называя его «змеиной травой».

И все-таки основное его назначение, конечно же, — пищевое. Он и специя, и пряность. Один-единственный зубчик чеснока способен совершенно обновить блюдо, сделать его таким аппетитным!

Итак, чесночная заправка: 100 г чеснока очищают, меленько рубят и разводят квасом, уксусом или сметаной — все в одинаковом количестве, граммов по двести.


Соус винегрет

Винегрет — исконно русское старинное блюдо. У нас его называют по-французски: «винегр» — уксус, а во Франции, да и во многих других странах известен он как «русский салат». Потому и «соус винегрет» — изобретение наше, отечественное.

Соленые огурцы (100 г) очищают от кожицы, семян и мелко рубят. Шинкуют зелень укропа, лука, петрушки (всего 200 г) и все добавляют в горчичную заправку (500 г).


Русский хрен

Главной русской холодной приправой ко многим закускам следует считать хрен. В русской классической кухне его готовили всегда непосредственно к столу и старались не оставлять более чем на день-два, так как считалось, что хрен должен быть обязательно злым, «хорошо шибать в нос», а оставленный долее, он теряет свою силу. К тому же по-русски готовили хрен всегда без уксуса, который убивает силу хрена и сообщает ему свой привкус и остроту, не свойственную национальным русским блюдам. А хрен на уксусной основе, или «хрен по-польски», готовили в Беларуси, на Волыни и в Литве. Своим же русским «шибанием» наш хрен в национальном застолье играл и еще одну традиционную роль, специфически застольную, развлекательную, так как всегда давал повод к шуткам и веселью за столом по поводу неумения пользоваться этой приправой.

Между тем секрет этот чрезвычайно прост: надо употреблять хрен только после того, как откусишь и лишь слегка прожуешь (но не проглотишь!) очередной кусок закуски. Запомни, иначе: «Ты за хрен, а хрен за тебя!». «Хрен редьки не слаще». «Дешев хрен, да черт ли в нем!».

А теперь приготовим свой хрен, и сначала в истинно русском, «сметанном» варианте. Корни хрена, обязательно свежего, добротного, замачиваем в воде, скоблим ножом, промываем проточной холодной водой, измельчаем на мелкой терке, предварительно приготовив баночку (стеклянную, фарфоровую) с налитой на ее дно холодной кипяченой водой. В эту посуду по мере натирания хрена все время складываем натертые порции, не давая им выдыхаться на открытом воздухе. Когда натирать закончим, к тертой массе прибавляем еще немного воды до консистенции густой кашки, затем подслащиваем куском сахара и щепоткой соли Хорошо дополнительно добавить тертую цедру лимона, сократив соответственно количество воды. Оставшиеся при натирании кусочки корня также помещают в посуду с готовым хреном, повернув их ложкой так, чтобы они оказались на дне.

Перед подачей к столу каждую столовую ложку такой заготовки разводят десертной ложкой сметаны. Именно этот состав и будет называться «русским столовым хреном», в отличие от, скажем, приправ хрена с добавкой уксуса, употребляемых в Прибалтике или Закавказье, где на 100 г тертого хрена добавляем 80 г уксуса 3 %-ного, воды 100 г, сахар, соль по вкусу. И без сметаны или майонеза.


Маринады для салатов и закусок

Маринады для закусок и салатов, конечно же, не русское изобретение, они заимствованы из европейских стран, однако в кухне России употребляются нередко.

Маринад I

2 ст. ложки винного уксуса, 3 ст. ложки растительного масла, 1 мелко нарезанная луковица, по щепотке соли и сахара.

Уксус и растительное масло смешать вилкой, добавить репчатый лук, соль, сахар.

Маринад II

1 лимон, 3 ст. ложки растительного масла, 1 ст. ложка измельченной зелени.

Помешивая растительное масло, капать в него лимонный сок. Когда масса загустеет, добавить зелень.

Маринад III

1/2 лимона, 1/2 стакана сметаны, 1 ст. ложка измельченной зелени.

Лимонный сок и сметану смешать вилкой, добавить зелень.

Если при приготовлении этого соуса вместо сметаны использовать кислое молоко или кефир, то нужно будет добавить еще и немного растительного масла.

Маринад IV

1/2 стакана кефира или 50 г перемешанного с молоком творога, 2 ст. ложки растительного масла, 1 ст. ложка измельченной зелени.

Кефир или измельченный творог взбить, затем добавить растительное масло, зелень. Все перемешать.


Огурчики малосольные

Отбирают мелкие огурцы, моют их, отрезают плодоножки, накалывают вилкой и кладут в неокисляющуюся посуду, пересыпая тертым хреном, чесноком и перекладывая стеблями укропа и смородиновым листом. Затем их заливают 5 %-ным горячим раствором соли и в нем дают остыть. За сутки огурцы готовы — малосольные, хрустящие, закусочные.

На 1 кг огурцов — 1 лист смородиновый, укропа пару веточек, чеснока пару зубчиков, 1 лист хрена, соли 50 г на литр воды.


Огурчики с водкой

Чисто русское изобретение. Такие огурчики, подсказанные, верно, прабабушкам прадедушками нашими, испробовать стоит, жалеть не будете.

Выбрать крепкие огурчики, промыть, обдать кипятком, уложить в стерилизованные банки, перемежая листом черной смородины, хрена, душистым перцем, чесноком. Залить огурцы прокипяченным горячим рассолом, добавив в него водку и виноградный уксус. На другой день долить банки холодным рассолом и плотно закупорить. Поставить в холодное место.

На 10 л воды — 500 г соли, стакан уксуса, 3/4 стакана водки, смородиновый лист, хрен, душистый перец, чеснок — на глазок.


Помидоры от Адама и Евы

Свежие, полузрелые помидоры вместе с зелеными «звездочками» черешков обмыть и завернуть каждый в свежий, промытый виноградный лист. Уложить в пастеризованные банки, перемежая зеленью укропа и (по желанию) стручками перца. Прижать крестовиной из деревянных палочек и залить прокипяченным, охлажденным маринадом: 5 %-ный уксус, вскипяченный с горошком черного перца, лавровым листом, гвоздикой и солью по вкусу.

Банки закатать и хранить в холодном месте.

* * *

Нельзя держать вместе свежие огурцы и яблоки. Выделяющиеся из яблок вещества способствуют быстрому увяданию огурцов.

* * *

Перец боярский

Вымытый и очищенный от семян перец, промытые кабачки или патиссоны порезать кольцами в сантиметр толщиной, добавить дольки яблок с вырезанной сердцевиной — все это опустить на 5 минут в кипящий раствор: 1 часть меда, 1 часть яблочного уксуса или яблочного сока, I часть воды. На литр такого раствора — 3 ст. ложки соли. Затем овощи уложить в стерильные банки, залить этим же кипящим раствором, накрыть прокипяченными крышками, закатать и перевернуть банки вверх дном, чтоб остыли.

В такой заготовке воду можно заменить растительным маслом.


Закуска зауральская

Вареную свеклу и моченые арбузы нарезать мелкими кубиками, заправить чесноком и медом, украсить зеленью петрушки, моркови, укропа и подать на стол.

Арбуз моченый 200 г, свекла 200 г, мед 60 г, чеснок, зелень.


Сельдь по-русски

Очищенную сельдь нарезают, укладывают в селедочницу, посыпают луком, нарезанным колечками, поливают маслом и уксусом. Отварной горячий картофель подают отдельно.

* * *

При обработке рыбы для закусок необходимо удалить остатки крови на внутренней части позвоночника.

* * *

Русский салат

250—500 г очищенного вареного картофеля, 250 г вареной или жареной свинины (можно говядины), 2 яйца, 1 яблоко, 2 соленых огурца, 1 небольшая вымоченная и очищенная от внутренностей сельдь, 250 г вареной, нарезанной кубиками свеклы (по желанию).

Соус для салата: 1 ст. ложка тертого хрена, 125 г сметаны, 2 ст. ложки уксуса, 1 ч. ложка горчицы, 1/2 стакана мелко нарубленной зелени петрушки и укропа.

Гарнир: 4 листика салата, 1–2 помидора, несколько ломтиков огурца. Картофель, очищенное яблоко, огурцы, мясо, сельдь нарезать мелкими кубиками. Из сметаны, хрена, горчицы, уксуса и зелени приготовить соус для салата. Смешать соус с салатом.

Готовую смесь выложить на зеленые листья салата, украсить дольками помидоров, ломтиками яйца и огурца.


Винегрет постный

Сварить и охладить овощи. Нарезать мелкими кубиками морковь, картофель, огурец, мелко порезать лук и капусту, полив маслом, перемешать. Затем добавить нарезанную кубиками свеклу и, долив еще масла и посолив, перемешать. Важно сохранить эту последовательность для того,чтобы остальные овощи не покрасились свеклой и винегрет был более красивым.


Винегрет с грибами

Готовят обычный постный винегрет и добавляют к нему соленые грибы, которые предварительно промывают и мелко шинкуют.

Винегрет овощной 150 г, грибы соленые 30 г.

В народной кухне обычно готовят овощной винегрет, но квашеную капусту полностью заменяют солеными грибами.

* * *

Овощи для салатов, кроме свеклы и моркови, варят в подсоленной воде. Их лучше немного не доварить, чем переварить. Отваренные овощи лучше чистятся, если их сразу же обдать холодной водой. Очищенные овощи до использования хранят в холоде, но не замораживают.

* * *

Винегрет «Павлин»

Этот винегрет можно подать как в холодном, так и в горячем виде.

Очищенные и промытые овощи нарезают: картофель — кружочками, морковь, свеклу — тонкими пластинками, лук — соломкой. Огурец соленый и квашеную капусту мелко рубят.

На дно кастрюли укладывают картофель, на него свеклу, морковь, заливают горячей соленой водой, доводят до кипения и варят 5–6 минут, не перемешивая, настаивают с закрытой крышкой без нагревания минут двенадцать.

Овощи выкладывают в блюдо, добавляют огурцы, квашеную капусту, лук, все перемешивают. В оставшийся от овощей отвар добавляют растительное масло и смесью поливают винегрет.

3 шт. картофеля, 2 моркови, 2 луковицы, 1 свекла, 1 стакан квашеной капусты с рассолом, 1 соленый огурец, 3 ст. ложки растительного масла, 1 стакан воды, соль по вкусу.


Винегрет сборный

Берут по равной части жареной телятины, говядины, дичи, все без костей, режут мелкими кусочками, прибавляют вареного нарезанного картофеля, резаной отварной или печеной свеклы, 2 корня отварного сельдерея, немного маслин, оливок, каперсов, маринованного крыжовника, вишен и огурчиков, несколько раковых шеек и отварных грибов, а также несколько крупных рубленых крутых яиц и, если возможно, свежих огурцов, все это хорошо перемешивают и обливают соусом (смесь столовой ложки горчицы, 4 сырых желтка, 1 ст. ложка уксуса, чуть сахара) и посыпают молотым перцем.

По 200 г жареной говядины, телятины и дичи без костей, 5 картофелин, по 2 свеклы, сельдерея, 2 свежих огурца, по нескольку штук оливок, маслин, каперсов, 1 ст. ложка маринованного крыжовника и столько же вишен, отварных грибов, маринованных корнишона, 3 яйца, 3 стакана соуса, перец.


Винегрет мясной по-русски

Нежирное отварное мясо режут мелкими кубиками и добавляют в овощной винегрет. Заправленный винегрет укладывают горкой в салатник или вазу, сверху кладут дольки вареных яиц, украшают шинкованным зеленым луком, моченой брусникой, мочеными яблоками.

На 150 г овощного винегрета — мясо вареное 40 г, яйца 1–2 шт., моченая брусника 10 г, моченые яблоки 30 г, лук зеленый 15 г.


Винегрет рыбный

Мякоть вареной рыбы (трески, хека, щуки и др.) мелко рубят, добавляют в овощной винегрет. Готовый винегрет кладут горкой в салатник или вазу, посыпают зеленью, моченой брусникой, а вокруг укладывают горками мелко нарезанные соленые огурцы, шинкованный зеленый лук, дольки моченых яблок.

На 150 г овощного винегрета — рыба вареная 40 г, огурцы соленые 30 г, моченая брусника 10 г, яблоки моченые 30 г, лук зеленый 15 г.


Капуста квашеная с луком

Известно немало древних легенд, повествующих о возникновении капусты. По одной из них, бог плодородия и виноделия Дионис решил наказать в чем-то провинившегося фракийского царя и повелел подвергнуть его жестокому избиению палками. Гордый воин не вынес унижения, и из глаз его потекли крупные слезы ненависти к Дионису. Падая на землю, превращались те слезы в невиданные ранее круглые, как голова, растения, которым присутствующие при наказании дали название «каптум» — голова.

Человек познакомился с этим растением, судя по археологическим находкам, еще в конце каменного века. Росла она тогда по европейскому побережью Атлантического океана и Средиземного моря. А возделывать ее первыми начали иберийцы — древние племена, населявшие в эпоху неолита территорию современной Испании. К VI веку до н. э. она распространилась в Древний Египет, затем в Грецию и Рим, а уж оттуда попала к славянским народам.

О капусте упоминается и в древнейших русских письменных памятниках — в Смоленских уставных грамотах 1150 года и еще раньше в «Изборнике» Святослава. А уже «Домострой» (XVIвек) дает подробное описание, как капусту вырастить, да как лучше уберечь от порчи и на что с пользой употребить.

Русская кухня немыслима без этого овоща. Не зря на Руси бытовала поговорка: «Капуста не пуста, сама летит в уста». А осенью, когда она поспевала, и по всей Руси буквально во всех дворах стучали сечки, рубившие капусту для квашения, стук этот вызывал неописуемый восторг и удивление иностранцев. И еще больший восторг испытывали они, когда хлебосольные русские потчевали их квашеной капусткой в самых различных вариантах, а после чарочки угощали и капустным рассольничком.

Прошли сотни лет, а капуста в России практически столь же любима и популярна, и особливо квашеная: с яблочком, с тмином, с ржаной корочкой, с лаврушкой, с морковью и свеклой… Любима кислая капустка в щах и борщах, в солянках и в пирогах, в винегретах и салатах, просто как закуска.


Итак, отведаем капустную закусочку с луком. Порубим квашеную капусту, если крупно нашинкована, помельче. Лук репчатый тоже пошинкуем, зальем капустным рассолом, нагреем почти до кипения и охладим. В капусту добавим лук, перемешаем, заправим сахаром, польем маслом. Переложим капусту в миску для подачи, а сверху уложим соленые огурцы, нарезанные дольками, украсим блюдо клюквой и посыплем зеленью. Приятного аппетита!

Капуста 150 г, огурцы соленые 30 г (можно и без них), лук репчатый 30 г, сахар 20 г, масло растительное 12 г, клюква по вкусу.


Салат из квашеной капусты с луком-пореем

Квашеную капусту откинуть на дуршлаг и дать стечь рассолу. Лук-порей очистить, тщательно вымыть, нарезать очень мелкими перышками вместе с зелеными листьями, оставив один для украшения. Перемешать капусту с нарезанным луком, семенами укропа или тмина, заправить сметаной, солью и перцем по вкусу. Выложить в салатник, украсить нарезанным листом лука-порея.

На 250 г квашеной капусты — 250 г лука-порея, 1/2 стакана сметаны, 1 ст. ложка семян укропа или тмина.


Салат из белокочанной капусты с яблоками и сельдереем

Капусту, исключая кочерыжку, тонко нашинковать (чем тоньше, тем нежнее будет салат), слегка присолить и перетереть руками, чтобы она стала мягкой. Выделяющийся сок отжать. Очищенные яблоки нарезать ломтиками, сельдерей нарезать тонкой соломкой длиной 4–5 см. Все перемешать, сложить в салатник, а заправить уксусом, смешанным с сахаром, и оставить на полчасика. Желательно добавить столовую ложку растительного масла.

Можно салат заправить майонезом, но тогда не следует добавлять уксус.

На 500 г капусты — 1 яблоко, 1 стебель сельдерея (салатного или корневого), 1/4 стакана уксуса, 1/2 ст. ложки сахара.


Салат из краснокочанной капусты

Острым ножом очень тонко нашинковать кочан красной капусты. Сложить в кастрюлю, обдать крутым кипятком, накрыть крышкой, дать постоять минут двадцать, после чего откинуть на дуршлаг. Затем облить ее холодной водой, отжать, сложить в салатник, заправить уксусом, солью, сахаром, мелко рубленным сельдереем, перемешать и дать постоять еще минут двадцать. В готовый салат добавить яблоки, очищенные от кожицы и нарезанные ломтиками. Неплохо добавить и порубленные крутые яйца.

Добавить столовую ложку растительного масла или майонеза (тогда уксус заменить лимонной кислотой на кончике ножа).

Капусту можно и не обдавать кипятком, а поступить точно так же, как и с белокочанной, — посолив, перетереть руками.

Этот салат хорош к мясу, птице и рыбе.

На 500 г капусты — 2 яблока, 1/4 стакана уксуса или 3 ст. ложки майонеза, 1/2 ст. ложки сахара. Для перетирания капусты — 1/2 ч. ложки соли.


Салат из цветной капусты

Вымытую и разделенную на соцветия (мелкие кочерыжки) цветную капусту опустить в кипящую подсоленную воду и варить до мягкости (однако не переваривать) Свежие огурцы очистить от кожицы, а помидоры — от плодоножек. Нарезать ломтиками. Нашинковать зеленый лук. Смешать овощи и заправить их сахаром, солью и смесью майонеза со сметаной. Выложить в салатник и украсить красиво нарезанными помидорами и огурцами, положить веточку петрушки или сельдерея.

На 500 г капусты — по 200 г огурцов и помидоров, 1 небольшой пучок зеленого лука, 1/2 ст. ложки смеси майонеза и сметаны.


Салат закусочный

Нашинкованную капусту перетираем с солью, добавляем соломку из моркови, горошек, рубленое яйцо и, заправив майонезом, подаем к столу.

* * *

Горьковатый привкус некоторых сортов капусты ликвидируется погружением ее на 2–3 минуты в кипяток.

* * *

Капуста с чесноком

Нашинкованная, протертая с солью капуста соединяется с растертым чесноком, перемешивается со сметаной и подается к столу, соответственно украшенная веточкой зелени.

На 500 г белокочанной капусты — 3–4 зубчика чеснока, 200 г сметаны.


Салат из вареной капусты

Свежую капусту крупно нарезать, залить соленым кипятком, закрыть крышкой, поставить на сильный огонь. Когда капуста закипит, снять крышку на 5 минут и варить капусту открытой, чтобы исчез специфический запах.

Потолочь в ступке орехи вместе с чесноком до получения однородной массы, похожей на густое тесто.

Готовую капусту отжать в марлевом мешочке, сложить в миску и туда же положить орехово-чесночную массу. Растирать все деревянной ступкой до тех пор, пока капуста совершенно не разотрется и вся масса не станет однородной. Добавить майонез и перец по вкусу. Выложить в мисочку и подавать на стол, накрыв крышкой.

На 500 г свежей капусты — 100 г орехов грецких очищенных, 3–4 дольки чеснока, 1–2 ст. ложки майонеза.

* * *

Когда варят капусту для салата, во избежание ее подгорания дно кастрюли смазывают растительным маслом.

* * *

Салат из цветной капусты

Кочан цветной капусты средней величины проварить в соленой воде, не переваривая.

Приготовить смесь приправ: 1 стакан кефира, 2 ст. ложки томатной пасты или пасты из красного перца, 2 ст. ложки растительного масла, 1/2 ч. ложки соли, щепотка сахара. Приготовленной смесью приправ полить капусту и, украсив зеленью, подать к столу.


Салат витаминный

Квашеную капусту, даже если она стала к весне очень кислой, не стоит промывать — этим вы уничтожите большую часть витаминов. Лучше положите в капусту побольше сахара, заправьте подсолнечным маслом и соедините с тонко нарезанными апельсинами и обваренным кипятком очень тонко нашинкованным луком.

1 стакан квашеной капусты, 1–3 ч. ложки сахара, пол-апельсина, половина луковицы, подсолнечное масло.


Салат с хреном

Очищенные морковь и хрен натереть на мелкой терке. Очищенные яблоки нарезать соломкой. Свежую лимонную цедру очень мелко нашинковать и соединить с морковью, хреном, лимонным соком и сахаром. Салаг чуть-чуть посолить.

1/4 корня хрена, 2 моркови, 2 яблока, половина лимона, 1 ч. ложка сахара, соль по вкусу.


Салат из редьки

О возрасте этого овоща говорят надписи на пирамиде Хеопса, построенной в Древнем Египте, изображение этого корнеплода встречается на развалинах Карнакского храма. В дни празднеств, посвященных богу Аполлону, древние греки приносили в дар к его алтарю изображения трех главных, по их понятиям, овощей — редьки, свеклы и моркови.

В России, особенно на Севере и в Сибири, не мыслят обеденного стола без редьки. В старину называли редьку покаянным овощем. Дело в том, что больше всего съедалось ее в «покаянные дни» — во время семинедельного великого поста. Он приходился на весну, когда свежей капусты уже не было, репа кончилась, а вот редька, хорошо хранящаяся, разнообразила тогда постный стол. Ели ее с маслом, с квасом и так, пустую, нарезая ломтями. Надо отдать этому овощу должное — любим он и поныне у россиян.

Очищенную редьку положите на 15–20 минут в холодную воду для удаления горечи. Затем натрите мелкой стружкой, посолите и заправьте сметаной и майонезом поровну. Можно заправить и растительным маслом с сырым или жареным репчатым луком и шкварками, растопленным гусиным жиром.

* * *

Редька станет более сочной, если ее на непродолжительное время опустить в холодную воду. Горький вкус редьки смягчится, если салат заправить сметаной.

* * *

Редька с капустой

Редьку нарежьте тонкими ломтиками, добавьте нашинкованную капусту, подсолнечное масло и молотые сухари. Заправьте солью по вкусу и перемешайте.

Редька 200 г, капуста белокочанная 100 г, масло подсолнечное 2 ст. ложки, сухари молотые 4 ст. ложки.


Салат из редьки с яблоками

Редьку и морковь очистить, натереть на мелкой терке. Яблоки тоже почистить и натереть. Овощи и яблоки перемешать, добавить растертый со свежей цедрой лимона чеснок и влить лимонный сок. Вновь перемешать, добавить соль.

2 редьки (небольшие), морковь и яблоки по 2 шт., чеснок 6 зубчиков, лимон 1/2 шт.


Редька с грецкими орехами

Редьку и морковь очистить и натереть на мелкой терке. Грецкие орехи и чеснок растирают вместе. Все смешать, влить лимонный сок, посолить по вкусу. Свежую цедру лимона растереть и ввести в салат. Все еще разок перемешать.

Редька 2 шт., морковь 2 шт., грецкие орехи 12 шт., лимон 1/2 шт., чеснок 6–8 зубчиков.


Салат из редьки с овощами

Подготовленную редьку и морковь нарезают соломкой, зеленый лук шинкуют. Все перемешивают, поливают сметаной, или майонезом, или салатной заправкой (растительное масло, уксус или сок лимона, сахарный песок, соль, молотый перец). Вместо моркови можно использовать свежие огурцы или помидоры, которые нарезают ломтиками.

Редька 400 г, морковь 125 г, лук зеленый 60 г сметана, или майонез, или заправка 75 г.


Редька со свеклой

Свеклу запекают или варят целиком, охлаждают, очищают, трут на терке, добавляют к редьке, кладут в салатник, заправляют сметаной и посыпают зеленым луком.

Редька 80 г, свекла 30 г, сметана 30 г, лук зеленый 10 г, соль по вкусу.


Редька с сухариками

Черный хлеб без корки нарезают фигурными кусочками (полумесяцами, ромбами и т. д.), посыпают солью, обжаривают на растительном масле. Тертую редьку заправляют квасом или уксусом, кладут в салатник, посыпают зеленым луком и по краям обкладывают кусочками обжаренного хлеба.

Редька 125 г, квас 20 г или уксус 3 %-ный 10 г, масло растительное 10 г.

Для сухариков: хлеб 40 г, масло растительное 5 г.


Салат освежающий

Редьку, морковь, яблоко тщательно вымыть щеткой, очистить, снова вымыть и натереть на мелкой терке. Массу равномерно перемешать. Добавить измельченный чеснок и цедру. Сок лимона выжать в салат, вновь перемешать, чуть-чуть посолить.

На 1 небольшую редьку — 1 средняя морковь, 1 яблоко антоновское, 3–4 зубчика чеснока, 1/4 лимона, 1/2 ч. ложки сухой цедры или свежая цедра с 1/4 лимона.


Острый картофельный салат

Картофель, сваренный в кожуре, очистить и в холодном виде нарезать ломтиками средней величины. Огурец или перец также нарезается ломтиками. Крутое яйцо рубится мелко. Все это смешивается в салатнике. Салат заливается майонезом, смешанным с горчицей.

500 г отварного картофеля, 1 соленый огурец или 1 стручок маринованного перца, 1 крутое яйцо, 1/2 стакана майонеза, 1/2 ст. ложки горчицы.


Картофельный теплый салат

Картофель варится в кожуре, очищается в горячем виде, нарезается удлиненными ломтиками и солится. Свиное сало нарезается брусочками, поджаривается, после чего режется кусочками. Смешивается с картофелем и выкладывается в теплую посуду. Добавляется растительное масло, уксус, перец, немного толченого чеснока и мелко нарезанный лук.

Поверх салат посыпается мелко нарубленным эстрагоном и укропом.

4 картофелины, 150 г свиного сала, растительное масло, винный уксус, немного чеснока, 1 луковица, соль, перец, укроп и эстрагон.

* * *

Если в салат входит картофель, его добавляют в последнюю очередь, так как картофель портится быстрее других овощей.

* * *

Грибы по-ярославски

Сушеные грибы моют, замачивают в холодной воде часа на три, варят, отвар сливают и используют для других блюд. Отварные грибы шинкуют довольно мелко, солят и поливают хреном со сметаной, а можно, что не менее пикантно, — чесноком рубленым с квасом.

Грибы сушеные 200 г, сметана или квас 120 г, хрен или чеснок 80 г.


Зимний картофельный салат

Картофель варится в кожуре, очищается в горячем виде и в холодном виде нарезается ломтиками средней величины. Добавляется соль, лимонный сок (или уксус), в котором растворяют сахар, потом растительное масло, все это смешивается.

Для того, чтобы салат был более вкусным, салатник натирается долькой чеснока, после чего в него выкладывается салат.

Соус может быть различного приготовления: соль и сахар растворяются в лимонном соке или уксусе, добавляется растительное масло, все это размешивается в миске и выливается поверх картофеля. При таком приготовлении салата он получится диетическим блюдом. Для тех, кто диеты не придерживается, добавляется мелко нарезанный лук, и салат украшается маслинами.

На 500 г нерассыпчатого картофеля: соль, лимонный сок или 1 ст. ложка уксуса, 2 ст. ложки растительного масла, 1/2 куска сахара.


Картофельный салат с горчичным соусом

Картофель, сваренный в кожуре, остудить и нарезать ломтиками. Добавить: нарубленный лук, соль, перец, горчицу. Она разбавляется растительным маслом и уксусом. Выливается поверх картофеля и хорошенечко размешивается. Лучше приготовить салат минут за 30 до подачи на стол.

Украшается маслинами, можно и крутым желтком, нарезанным ломтиками.

Картофель 500 г, 1 небольшая луковица, 1 ч. ложка уксуса, соль, перец, 2 ст. ложки растительного масла, 3 ст. ложки горчицы.

Гарнир: 50 г маслин или 1 крутое яйцо.


Грибы по-монастырски

100 г соленых рыжиков, столько же отварных белых и 200 г соленых груздей замочить с вечера в квасе. На другой день откинуть грибы на решето, заправить соусом, приготовленным из двух столовых ложек растительного масла и такого же количества уксуса, смешанных с рубленным зеленым луком и небольшим количеством соли и перца.


Закуска по-ярославски

Отварной картофель нарезают ломтиками, добавляют соленые грибы, репчатый лук, поливают растительным маслом, посыпают перцем, выкладывают в салатник и посыпают зеленью.


Салат из репы

Репу моют, очищают и варят в подсоленной воде. Затем ее нарезают тонкими ломтиками, добавляют шинкованные зеленый лук, зелень петрушки и укропа, перемешивают, поливают горчичной заправкой.

Для приготовления заправки готовую горчицурастирают с солью, сахаром, разводят 3 %-ным уксусом, добавляют растительное масло, перец и хорошо взбалтывают.

Репа 400 г, лук зеленый 20 г, укроп и петрушка по 10 г, заправка 100 г.

Для 1 л заправки: уксус 3 %-ный 100 г, масло 300 г, сахарный песок 200 г, горчица 1–2 ст. ложки, соль, перец по вкусу.


Лук по-котласски

Зеленый лук перебирают, моют, шинкуют, добавляют соль, толкут толкушкой, затем поливают сметаной или заправкой. Если блюдо готовят со сметаной, то могут быть добавлены крутые рубленые яйца.

Зеленый лук 450 г, сметана или заправка 100 г, 2 вареных вкрутую яйца.

* * *

Запах лука или чеснока изо рта легко устранить, съев 1–2 ложки сметаны или несколько грецких (кедровых) орехов или выпив кофе.

* * *

Салат из редиса

100 г творога разбавьте молоком, прибавьте 1–2 ст. ложки подсолнечного масла и 10 мелко нарезанных редисок. Слегка присолите, перемешайте, сверху украсьте зеленью петрушки или укропа.

Салат из редиски приобретает очень пикантный вкус, если его посыпать молотыми грецкими орехами.

* * *

Если зеленый салат немного увял, подержите его несколько минут в теплой воде, он снова посвежеет.

* * *

Кочанный салат с огурцами

Огурцы и салат перемешать перед подачей на стол.

Салат будет еще вкуснее, если к нему добавить нарезанный кружочками помидор, полоски красного перца, кубики яблок.


Салат «Красотка»

На каждый лист салата положить по столовой ложке тертых яблок, моркови, нарезанного кубиками сельдерея, полить столовой ложкой маринада и посыпать орехами.

4 листа салата, 125 г моркови, 125 г яблок, 1/2 корня очищенного сельдерея, маринад, 1 ст. ложка измельченных орехов.

* * *

Грибы варят на среднем огне. Если варить их на сильном огне, они станут жесткими, на слабом — дряблыми.

* * *

Салат «Аксаковский»

Репчатый лук нарезать полукольцами, обдать кипяченой холодной водой для удаления горечи, добавить мелко нарубленное отварное яйцо и тыкву, компоненты смешать и заправить соусом.

Соус: кефир смешать с мелко нарубленной зеленью петрушки, растертым чесноком, добавить растительное масло, соль, перец и все перемешать до образования однородной массы.

3 яйца, 1 стакан тыквы, натертой на крупной терке, 2 луковицы, соль.

Для соуса: 1/2 стакана кефира, 1 ст. ложка мелко нарубленной зелени петрушки, 4 зубчика чеснока, 3 ст. ложки растительного масла, соль, перец.


Салат из ревеня

Интересно, что ревень родом с нашего Дальнего Востока. Целебные свойства его были известны в Китае еще за 3000 лет до нашей эры. В дальнейшем овощ попал в Персию, Грецию, Рим, где ему приписывали массу достоинств. В Центральную Россию ревень ввозили из Китая вплоть до XVIII века. Но в дальнейшем научились его выращивать на аптекарских огородах, а затем уж и на обыкновенных.

Ревень очистить, нарезать тонкими ломтиками поперек волокон, посыпать сахаром или залить медом, перемешать, выдержать с полчасика в прохладном месте. Добавить тертую морковь, брюкву или лук и майонез. Посыпать рубленой зеленью.

200 г черенков ревеня, 2–3 моркови или 1/4 брюквы или 2–3 луковицы, 2 ст. ложки сахара или меда, 2–3 ст. ложки майонеза (сметаны), укроп, зеленый лук.


Салат из щавеля

Щавель обмыть, мелко изрубить, добавить тертую морковь, яблоко, лук или чеснок. При желании добавить нарезанный соломкой соленый огурец. Смешать с маринадом IV, выложить в салатник, украсить зеленью укропа и редиской.

В маринад можно добавить тмин или горчицу.

150 г щавеля, 2 моркови, 1 яблоко, 1/2 луковицы или немного чеснока, небольшой соленый огурец, 1/2 маринада IV, укроп, 2–3 редиски.


Салат из репы переяславский

Очищенную репу натереть или нарезать соломкой, смешать с размятыми ягодами и заправить. Можно посыпать рубленым укропом или тмином.

2—3 репы, 1/2 стакана смородины или клюквы, сахар или мед.


Салат «Лада»

Свежие сырые овощи и яблоки нарезать соломкой, добавить зеленый горошек, 1/2 мякоти курицы (соломкой), заправить майонезом, уложить «горкой», украсить оставшейся мякотью курицы, зеленью, кружочками яиц, «розочками» из сливочного масла, в середину которых уложить деликатесную рыбную икру. Салат можно готовить без масла и икры, увеличив на 20 г норму майонеза.

Капуста свежая, горошек зеленый, морковь свежая, огурцы свежие, яблоки — всего по 20 г, помидоры свежие и майонез по 50 г, мякоть отварных кур 60 г, яйца 1/2 шт., масло сливочное и икра по 10 г, зелень.


Курганский салат «Горка»

Мякоть отварной курицы, сыр, отварной картофель, свежие огурцы, соленые грибы нарезать ломтиками, добавить свежую капусту, нашинкованную соломкой. Салат заправить сметаной, солью, уложить в салатник горкой, оформить тертым сыром, украсить зеленью.

Курица отварная (филе) 50 г, сметана 60 г, капуста, грибы соленые, огурцы, сыр, картофель отварной по 20 г, зелень, соль по вкусу.


Салат овощной «Юрюзань»

Вареную репу нарезать ломтиками, отварную цветную капусту разделить на мелкие кочешки. Огурцы и помидоры нарезать ломтиками. Перемешать подготовленные овощи с зеленым горошком или фасолью и с мелко нарезанным зеленым салатом, заправить сметаной или майонезом, солью, перцем, сахаром, уксусом. Выложить горкой в салатник. Оформить дольками яиц, помидоров, огурцов, зеленым салатом.

2 репы, небольшой кочан цветной капусты, стакан зеленого салата, стакан консервированного зеленого горошка или фасоли, 1 свежий огурец, 2 свежих помидора, 4 яйца, 3/4 стакана сметаны или майонеза, 1 ч. ложка сахарного песка, 1 ст. ложка 3 %-ного уксуса, соль, перец.

* * *

Помидоры для салатов нарезают острым ножом, иначе из плодов вытекает много сока, а дольки получаются мятыми.

Очень вкусен и привлекателен салат из помидоров разного цвета.

* * *

Салат мурманский

Сельдь очищают от кожи и костей. Картофель очищают и варят. Белые сушеные грибы замачивают и варят. Соленые огурцы очищают от кожицы и семян. Все продукты нарезают мелкими кусочками, добавляют шинкованный зеленый лук и мелко нарубленный репчатый, перемешивают, добавляют немного грибного бульона.

Массу укладывают в селедочницу продолговатой горкой и поливают соусом винегрет.

Сельдь (филе) 75 г, картофель 200 г, огурцы соленые 50 г, репчатый лук 50 г или зеленый 30 г, соус винегрет 50 г.


Новогодний салат

Очищенную от кожи и костей рыбу, очищенные от кожуры картофель и маринованный огурец нарезать кубиками, добавить консервированный зеленый горошек, чесночный соус и все перемешать. Выложить в салатницу горкой и посыпать мелко нарезанным зеленым луком. Вместо трески можно употреблять копченую скумбрию, жареный карп или другую рыбу.

3 отварные картофелины, 1 копченая треска, 1 маринованный огурец, 1/2 стакана зеленого горошка, 1/2 стакана чесночного соуса, зеленый лук.

* * *

Чтобы правильно рассчитать количество салата на всех гостей, за основу берут картофель: 1 картофелина на едока.

* * *

Салат «Соловушка»

Твердые красные помидоры вымыть, срезать крышечку, чайной ложкой вынуть завязь и внутри посыпать солью и порошком базилика. Заполнить помидоры салатом из грибов. Можно начинять и салатами из овощей и сельди. Украсить каждый помидор рубленым яйцом и зеленью, воткнуть пучок листьев петрушки. Срезанной крышечкой закрыть томат так, чтобы была видна начинка. Разложить на плоской тарелке. Тарелку можно украсить листьями салата и редиски.

Начинка на 4 помидора: 150–200 г салата из грибов, 1 крутое яйцо, зелень, порошок базилика, соль.

* * *

Салат и винегрет приобретут особенно приятный вкус, если перед подачей на стол ненадолго положить туда лимонную корку.

«Небось, картошечку-то все мы уважаем…»

(Блюда для гурманов)

В.И. Корякина


«— А что картошка? Ты думаешь, картошка — это так вот просто: сварил и съел? Не тут-то было! Из картошки, знаешь, сколько блюд можно приготовить?

— Ну сколько? Жареная и пюре…

— Да? А ну считай: картошка жареная, отварная, пюре. Дальше: картофель фри, картофель пай… Это такими стружечками жарится в кастрюле в кипящем масле…

— Ну и все?

— Нет, не все: картофельные пирожки с мясом, грибами, капустой и т. д. Картофельные оладьи — соус грибной, соус томатный, соус сметанный и т. д. Картофельный рулет, запеканка, картофель, тушенный с черносливом, картофель, тушенный с лавровым листом и перцем, картофель молодой отварной с укропом, шаньги…».

Это отрывок из к/ф «Девчата». Помните, как повариха Тося Кислицына принесла обед на делянку к лесорубам? Интересно, если бы ее не перебивали, сколько блюд она смогла бы назвать? А вы сколько знаете блюд из картофеля и с картошкой? Можем для начала вам предложить 500. Причем это только те, что напечатаны в польской книге «500 блюд из картофеля». А если полистать кулинарные книги разных народов, то там еще немало наберется. Конечно, все рецепты печатать мы не будем, хотя любая хозяйка не отказалась бы от такой кулинарной серии. Мы возьмем наиболее оригинальные рецепты, которые уж точно не во всякой книге найдешь.

Между прочим, как и с любым другим продуктом, с картошкой нужно уметь обращаться, а то и блюдо испортить недолго. Итак…



Рисунок художника М.Герасимова


Важно знать, что:

• Чтобы сохранить в блюдах витамин С, следует соблюдать некоторые правила:

— чистить и резать картофель только ножом из нержавеющей стали и непосредственно перед приготовлением;

— не оставлять очищенные и нарезанные овощи и картофель на длительное время в воде;

— все овощи, кроме свеклы и зеленого горошка, отваривать в подсоленной воде.

• Картофель и овощи, предназначенные для супа, следует класть в кипящую воду, чтобы сохранились витамины.

• Молодой картофель легко очистится, если перед этим его положить на 15–20 минут в холодную подсоленную воду.

• Чтобы готовящийся в «мундире» картофель не разваливался, его следует посолить 1/2 чайной ложки соли на 1 кг картофеля.

• Картофель будет особенно вкусным, если в воду, в которой он готовится, добавить чуточку чесноку.

• Картофель, сваренный в «мундире», легко очистится, если сразу после сливания горячей воды полить его холодной водой.

• Картофель следует варить на умеренном огне, тогда он проварится равномерно. Приготовленный на сильном огне картофель будет проваренным только сверху, а в серединке останется сырым.

• Пюре из картофеля следует заправлять только горячим молоком, от холодного оно становится серым. Причем молоко следует добавлять постепенно.

• Тертый картофель меньше потемнеет, если добавить в него горячего молока или тертого на мелкой терке лука.

• Картофель для салата следует варить в «мундире» и очищать, когда остынет.

• Чтобы картофель сварился быстрее, при варке в воду следует положить столовую ложку маргарина.

• Чтобы жареный картофель был хрустящим, его следует солить перед самым концом жарения. А перед жаркой нарезанный картофель лучше немного подсушить.

• Картофель, предназначенный для гарнирования, сохранит свою форму, если в воду, в которой он варится, добавить немного уксуса.

• Картофельные котлеты будут пышнее, если в массу добавить немножечко соды.

• Замороженный картофель следует варить только в кипящей воде, иначе потеряется значительная часть витамина С.


Итак, у нас сегодня картофельный обед. На него можно смело приглашать гостей. Конечно, «приходите на чай (пельмени, молочного поросенка и т. д.)» звучит солиднее, да и привычнее, чем «приходите на картошку». Но это только с виду. Картофельный обед (в зависимости от выбранных блюд) может затмить крутую презентацию с изобилием дорогих кушаний. Ведь картофельная трапеза может включать все виды блюд (исключая разве что самогон из картошки).


Закуски

Начинаем, как и положено, с закусок. Картофельный салат в сознании россиянина ассоциируется, как правило, с мясным сборным салатом, независимо от вариантов в простонародье называемом «оливье». Так вот, этот салат мы готовить не будем. Предложим что-нибудь поинтереснее.


Садовый салат

2 стакана нарезанного кубиками вареного картофеля, по 1/2 стакана нарезанных кубиками вареного сельдерея и свежих огурцов, 1/4 стакана ломтиков редиски, 1/4 стакана мелко нарезанного стручкового-сладкого перца, несколько листьев зеленого салата.

Соус для салата: 1/2 ч.л. мелко нарубленного репчатого лука, 1/2 ч.л. винного уксуса, красный перец на кончике ножа, 1/2 ч.л. соли, 1/2 стакана майонеза (можно его разбавить йогуртом).

Смешать продукты для соуса и осторожно вылить соус на подготовленные для салата овощи. Перемешать. Подавать, украсив листьями зеленого салата.


Салат с кальмаром

5 картофелин, 200 г кальмаров (можно консервированных), 1 соленый огурец, 60 г зеленого горошка, 1/2 стакана майонеза, зелень, соль.

Очищенное филе кальмара положить в кипящую подсоленную воду, добавить петрушки и укропа. Варить 10–15 минут, затем остудить и мелко нарезать. Отваренный в «мундире» картофель очистить, нарезать кубиками, а соленый огурчик — соломкой. Все смешать, добавить зеленый горошек, посолить по вкусу и заправить майонезом. (Консервированный кальмар вынимается из жидкости, слегка обсушивается и также нарезается.)


Салат «Расолс»

3 картофелины, 300 г говядины, 100 г сельди, 1 яблоко, 3 маринованных огурчика, 2 яйца, 1 стакан сметаны, 1 ст.л. горчицы, зелень, соль.

Вареные картофель и мясо, огурцы, яблоко и сельдь нарезать кубиками, хорошо вымешать и заправить сметаной с горчицей. Украсить салат измельченными вареными яйцами и зеленью.


Салат «Пикадилли» (Английская кухня)

8 картофелин, 2 соленые сельди, 3 луковицы, 3 ст. ложки растительного масла, 4 ст. ложки 3 %-ного уксуса, горчица, соль.

Отваренный в «мундире» картофель очистить и нарезать кубиками. Лук нарезать кольцами. Филе сельди нарезать кубиками. Все уложить горкой в салатнике, заправить солью и растительным маслом (лучше оливковым), смешанным с уксусом и маленькой ложечкой горчицы.


Форшмак из картофеля и сельди

2 картофелины, 2 луковицы, 250 г сельди, 2 яблока, 4 ст. ложки растительного масла, 1 яйцо, перец.

Поджаренный лук, отварной картофель и филе сельди пропустить через мясорубку. Добавить тертое яблоко и хорошо вымешать. Готовое блюдо заправить маслом и перцем, уложить в селедочницу и украсить кусочками вареного яйца.


«…И суп овощной оказался неплох!»

Среди известных блюд с картофелем супы могли бы занять главенствующее место. Действительно, куда только не добавляется картофель: и в борщ, и в рыбный суп, и в грибной, и в сборный овощной — помните, в детском стишке хозяйка клала в суп капусту, картошку, морковку, горох… Картофельные супы — со сметанкой, молоком, кефиром, с крупой и без, мясные и постные — уважают по всему миру, от Америки до Японии.


Холодный суп-крем из картофеля (Американская кухня)

5 картофелин, 1 корень сельдерея, 1 луковица (лучше порей), 3 стакана молока, 1 стакан кефира (лучше йогурта), перец, соль, зеленый лук.

Нарезанные на мелкие кусочки очищенный картофель, сельдерей и лук варить в соленой воде до мягкости. Затем протереть через сито, добавить соль и перец, тщательно смешать с молоком и доварить несколько минут. Затем охладить. Перед подачей на стол, осторожно помешивая, добавить взбитый йогурт или кефир и посыпать зеленью.


Суц-пюре (Японская кухня)

8 столовых ложек картофельного пюре, 1 литр белого соуса, 2 стакана мясного бульона, 1/2 стакана сливок, 2 яйца, 50 г хлеба, 2 ст. ложки масла, соль.

Приготовить белый соус: на 1,5 стакана мясного бульона 1 ст. ложка муки, желток, 2 ст. ложки масла, соль. Муку слегка обжарить на масле и развести процеженным бульоном. Варить на медленном огне 5-10 минут. Снять с огня, добавить желток, растертый с чайной ложкой соуса, затем добавить масло, соль и вымешать.

Соус разбавить мясным бульоном до консистенции супа. Добавить пюре, сливки и масло. Подавать с гренками, поджаренными на масле.


Суп-пюре (Литовская кухня)

2,5 л мясного бульона, 1 кг картофеля, 1 луковица, 250 г щавеля или шпината, 100 г зелени сельдерея, 4 куска колбасы, 3 яйца, 1 ст. ложка муки, 1 ст. ложка панировочных сухарей, 1 ч.л. смальца или маргарина, 1 стакан сметаны или йогурта, соль и перец по вкусу.

Картофель очистить и варить в мясном бульоне вместе с луком. Затем протереть сквозь сито. Щавель и сельдерей нарезать и добавить в бульон с протертым картофелем. Приправить солью и перцем и дать еще 5 минут покипеть.

Два сваренных вкрутую яйца разделить пополам, обвалять в муке, сыром яйце и сухарях и обжарить в смальце вместе с кусками колбасы. Суп снять с огня. Добавить сметану. Перед подачей супа на стол в каждую тарелку положить по куску колбасы и по половинке яйца.


Суп картофельный с помидорами

8 картофелин (средней величины), 1 морковь, 1/2 корня петрушки, 1 луковица, 3 средних помидора, 2 ст. ложки масла, немного сметаны, соль, укроп.

В кипящую воду (или бульон) положить нарезанный кубиками картофель и петрушку. Морковь, репу, лук также порезать; слегка обжарить на масле и доложить в суп. Перед подачей на стол в тарелки положить слегка обжаренные кусочки помидоров, залить супом и приправить сметаной, добавить укроп.


Суп молочный с картофелем и ячменной кашей (Эстонская кухня)

6 картофелин, 3 ст. ложки ячменной каши, 1 л молока, 1 ст. ложка масла, соль.

Кашу (крупу) положить в кипящую воду и варить до мягкости. Добавить нарезанный картофель, а когда он станет мягким, добавить молоко. Проварить суп до готовности и приправить маслом (или сметаной).


Вторые блюда

Каким только не бывает картофель во вторых блюдах. Обычный отварной можно подать с разными соусами и чем угодно посыпать. А можно — также для любителей отварного — из картофеля сделать много разных штучек, которые готовятся всего лишь в подсоленной воде. А для любителей тушеного — вообще раздолье.


Картофель отварной в сметанно-горчичном соусе

10 картофелин, 1 луковица, 1 стакан сметаны, 1 столовая ложка горчицы, соль.

Очищенный картофель отварить в соленой воде, порезать, слегка остудив, кружочками. Горчицу смешать со сметаной и с мелко нарезанным луком, посолить и этим соусом залить картофель.


Картофель в селедочном соусе

8 картофелин, 1–2 селедки, 1 луковица, 1/2 стакана сметаны или майонеза, 1 ложка горчицы (по вкусу), 4 ст. ложки масла растительного, зелень, соль.

Очищенный картофель отварить. Приготовить селедочный соус: селедочное филе и лук мелко нарезать, смешать с майонезом или сметаной, для остроты соуса добавить горчицы. Отварной картофель полить маслом. (Если есть, посыпать зеленью петрушки или укропа.) Отдельно подать соус.


Биточки картофельные с манной кашей (Немецкая кухня)

6 картофелин, 1/2 стакана манной каши, 1/2 л молока, 2 ст. ложки масла, 3 кусочка белого хлеба, 1 стакан сметанного, грибного или томатного соуса.

Картофель очистить, натереть на терке, немного отжать и в миске смешать с манной кашей, приготовленной на молоке. Сразу же сформовать небольшие плашки. На каждую из них в середину положить небольшой кусочек обжаренной булки (гренку). Плашки слепить в небольшие пирожки. Готовые пирожки отварить и подавать с соусом.


Картофельно-творожные клецки (Польская кухня)

10 картофелин, 2 яйца, 500 г творога, 2 ст.л. масла, мука, соль.

Очищенный отварной картофель остудить и пропустить через мясорубку вместе с творогом. Добавить яйца и столько муки, чтобы получилось тесто средней твердости. Сформовать клецки (шарики) и отварить в подсоленной воде. Подавать с маслом или сметаной.


Цепеллины (Литовская кухня)

10 картофелин, 320 г мяса, 1 луковица, 100 г соленого сала, соль.

Половину картофеля сырым натереть на терке. Остальной картофель отварить в «мундире», очистить и пропустить через мясорубку. Все смешать и сформовать небольшие лепешки. Приготовить фарш из вареного мяса и обжаренного лука, завернуть в лепешки и защипить края. Отварить в кипящей подсоленной воде до мягкости. Перед подачей на стол полить шкварками из соленого сала.


Голубцы с картофелем и кашей

10 картофелин, 1 кочан капусты, 4–5 луковиц, 400 г хлеба, 1 стакан гречневой каши, 1–2 стакана сметанно-томатного соуса, перец, соль.

Капусту вымыть, вынуть кочерыжку и отварить кочан в соленой воде до полумягкости. Разделить на листья и слегка отбить деревянным молотком.

Фарш: картофель и лук (2 штуки) натереть на терке. Отдельно обжарить две мелко нарезанные луковицы до золотистого цвета. Хлеб размочить и отжать. Кашу гречневую смешать с пропущенной через мясорубку кочерыжкой. Компоненты фарша смешать, добавить перец и соль.

Фарш положить на листья капусты и завернуть как голубцы. Сложить в кастрюлю, залить соусом и тушить. Часть соуса можно оставить, чтоб подавать отдельно.


Луковое пюре (Французская кухня)

600 г картофеля, 500 г лука репчатого, немного молока, 1–2 ст. ложки сливочного масла, 4 желтка, соль, перец, щепотка мускатного ореха.

Очистить картофель и лук. Отварить в слегка подсоленной воде. Много воды не наливать. Как только овощи станут мягкими, воду слить, овощи растолочь, добавить масло и молоко. Все хорошенько взбить. Приправить солью, перцем и мускатным орехом. Перед подачей на стол прибавить желтки и осторожно перемешать. Подавать в горячем виде. Рассчитано на 2–3 порции.


Картофель с ткемали (Грузинская кухня)

10 картофелин, 1/2 стакана масла, 1/2 стакана воды, 200 г ткемали (вид слив), 1 луковица, чеснок, зелень, соль.

Петрушку, укроп, лук и чеснок мелко порезать и смешать. В огнеупорную посуду влить растопленноемасло и положить нарезанные на крупные куски картофель. Сверху посыпать зеленью и положить сырые сливы. Залить горячей подсоленной водой и варить до мягкости.


Фальшивый гуляш

8 картофелин, 4 ст. ложки муки, 1 луковица, 1 ст. ложка масла, 4 г перца молотого, 1 ст.л. томат-пасты, соль.

Нарезанный кусочками картофель, сырой или слегка поджаренный, залить водой и отварить до готовности. Затем добавить нарезанный перец, обжаренный в масле с томат-пастой и мелко нарезанной луковицей. Варить до готовности. Перед концом варки гуляш заправить мучной заправкой.


Картофель, тушенный с рыбой

14 картофелин, 200 г рыбного филе, 1 луковица, 1 морковь, 2 ст.л. муки, 2 ст.л. растительного масла, лавровый листик, 4 ст.л. белого соуса, соль, зелень (если есть).

Очищенный картофель порезать на небольшие кусочки и слегка обжарить. Отдельно обжарить мелко порезанные лук и морковь, затем смешать с картофелем. Все это залить белым соусом и тушить. За 10 минут до конца тушения положить лавровый лист.

Рыбное филе нарезать небольшими кусочками, посыпать солью и перцем, обвалять в муке и обжарить на масле. Затем добавить белого соуса и тушить до мягкости.

Затем картофель и рыбу выложить на тарелки и посыпать мелко нарезанной зеленью.


Специально для ленивых

Для тех, кто вечно занят и кому неохота возиться с первым, жарким и гарниром, а после их приготовления мыть гору посуды, наши следующие рецепты. Доя начала возьмем ближнее зарубежье и попробуем необыкновенно простое и столь же необыкновенно вкусное блюдо.


Аджапсяндал (Кавказская кухня)

6 картофелин, 500 г баклажанов, 2 луковицы, 5 зубчиков чеснока, 1/2 стакана масла, 3 помидора, немного чабера, базилика, эстрагона, мяты, другой зелени, соль.

Нарезанный кусочками картофель положить на дно кастрюли и тушить в масле. В отдельной посуде потушить нарезанные кружочками баклажаны. Добавить чеснок, помидоры (без кожицы), немного воды и тушить до мягкости. Добавить нарезанную зелень петрушки, сельдерей, укроп и чабер, базилик, эстрагон и мяту. Готовить 2 минуты, затем все переложить в кастрюлю с картофелем.

В немецкой кухне широко распространен АЙНТОПФ. Это специфическое немецкое блюдо, представляющее собой густой суп с мясом, копченостями, сосисками и другими мясными субпродуктами, который заменяет собой обед из двух блюд. Айнтопфы могут быть очень вкусными, так как в них сконцентрированы сила и аромат многих хороших продуктов, если, конечно, они приготовлены умело и с любовью. А если учесть, что жареное полезно далеко не всем, то такое блюдо вполне оправдано… Айнтопф — почему бы и нет?! Это выговорить трудно, а приготовить не так уж и сложно.


Айнтопф с печенью

375 г моркови, 375 г печени, 50 г маргарина, 1 большая луковица, 750 г картофеля, соль, перец, петрушка.

Нарезать морковь кружочками, а печень кубиками и смешать. Обжарить в горячем маргарине мелко порезанный лук. Добавить порезанный кружочками сырой картофель и печеночную смесь, приправить пряностями и залить кипятком, чтобы он слегка покрывал все продукты. Варить до готовности в закрытой посуде. При желании разбавить крахмалом или пережаренной мукой, посыпать петрушкой.


Айнтопф из капусты по-швабски

500 г белокочанной капусты, 750 г картофеля, 300 г грибов, 50 г шпика, 30 г муки, около 1/2 л бульона или воды, соль, красный молотый перец, 4 сардельки.

Отварить разобранную на отдельные листья капусту в течение 15 минут в небольшом количестве воды. Добавить мелко нарезанные грибы и картофель. Поджарить муку до коричневого цвета на вытопленном шпике и постепенно добавить бульон до получения соуса средней густоты. Хорошо приправить пряностями и вылить на овощи. Варить в закрытой посуде до готовности и подавать с положенными в суп поджаренными сардельками. Вместо свежих можно использовать размоченные сухие грибы.


Айнтопф «Пихелынтайн»

500 г свинины, 50 г маргарина, 300 г моркови, 200 г сельдерея, 2 стебля лука-порея, 350 г зеленой фасоли, 500 г картофеля, соль, 3/8 л бульона или воды, мелко нарезанная зелень петрушки.

Положить нарезанное кубиками мясо в разогретый маргарин и сразу же закрыть его нарезанными соответствующим образом овощами и картошкой, присаливая каждый слой. При желании можно использовать также тмин. Залить кипящим бульоном, плотно закрыть посуду и варить на маленьком огне около 50 минут. При необходимости добавить немного жидкости. Посыпать мелко нарезанной петрушкой. Вместо названных можно использовать и другие овощи.


Если вы не на диете…

Согласитесь, что хочется махнуть рукой на все диеты при виде и запахе золотистой картошечки (и изделий из нее), обжаренной или запеченной в духовке. Тут поневоле станешь гурманом.


Картофель «Дипломат» (Шведская кухня)

10 картофелин, 1/2 стакана масла, 5 ст. ложек тертого сыра, 120 г свежих грибов, соль.

Картофель нарезать кружочками, обжарить в масле до полуготовности и посолить. Затем частью картофеля выложить дно и стенки формы, смазанной маслом. Оставшуюся часть смешать с тертым сыром и мелко нарезанными отварными грибами, уложить в форму и запечь в духовке.


Голландский крестьянский омлет

500 г картофеля, 80 г сыра, 2 яйца, 50 г окорока, 1 луковица средней величины, 1 ст.л. мелко нарубленной зелени петрушки, перец, соль, мускатный орех.

Очистить сырой картофель, нарезать крупными дольками. На сковороде обжарить окорок с луком и добавить картофель, прикрыть крышкой и жарить до готовности. Затем посыпать тертым сыром и зеленью петрушки, залить все блюдо взбитыми яйцами, прибавить специи. Яйца должны запечься. К блюду подать зеленый салат. Рассчитано на 2 порции.


Картофельное жаркое «Гарнц» (Немецкая кухня)

300 г ливерной колбасы, 750 г отварного картофеля, 1 луковица, 5–6 яиц, соль, красный молотый перец, помидоры, резаный зеленый лук.

Хорошо смешать ливерную колбасу, размятый картофель, натертый на терке, 1–2 яйца, пряности. Плотно уложить в смазанную жиром сковороду, сделать 4 углубления и залить в них по 1 яйцу. Поставить на 20 минут в горячую духовку. Незадолго до окончания жарки заполнить промежутки кусками помидоров и посыпать блюдо перед подачей на стол резаным зеленым луком.


Котлеты «Олимпийские» (Болгарская кухня)

4-5 картофелин, 1 луковица, 1 морковь, 1 стакан зеленого горошка, 300 г свежих грибов, 1 /2 стакана риса, 3 яйца, 3 ст. ложки масла, 4 ст. ложки панировочных сухарей либо муки, перец, соль.

Приготовить картофельное пюре. Одновременно потушить в масле мелко нарезанные морковь и лук. Когда лук станет мягким, добавить зеленый горошек и мелко нарезанные, предварительно поджаренные грибы, и все это снова поставить тушить. Затем остудить, добавить вареный рассыпчатый рис, протертый картофель (пюре), нарезанную зелень петрушки, сырые яйца. Поперчить и посолить по вкусу. Все хорошо вымешать и сформовать котлеты, которые затем обвалять в муке (сухарях), смазать взбитым яйцом и обжарить в масле.

А если картофель испечь или сварить в «мундире», а потом вынуть сердцевину да вложить начинку — тогда будет картофель фаршированный. А начинка может быть любая: лук, горох, грибы, грибы с яйцами, лук с яйцами, каша гречневая, мясо, субпродукты, сельдь соленая, рыба, овощи, сыр…

Предлагаем два рецепта, а остальное, руководствуясь принципом, сделайте сами.


Картофель, фаршированный солеными грибами

8 картофелин, 200 г грибов, 3–4 ст.л. растительного масла, 1 луковица, 1 стакан сметаны, лавровый лист, зелень, соль.

Картофелины очистить и выбрать аккуратно ножом середину. Грибы соленые мелко порезать, добавить к ним обжаренный лук и немного сметаны, смешать и слегка обжарить. Этим фаршем начинить картофель. Уложить рядами в глубокую сковородку. Добавить лавровый лист, соль, зелень, залить сметаной и тушить до готовности, накрыв крышкой.


Картофель, фаршированный креветками

7—8 картофелин, 250 г креветок, 250 г грибов, 2 ст.л. муки, 1 стакан сметанного соуса, соль.

Шейки креветок слегка потушить в небольшом количестве масла. Отдельно обжарить свежие или консервированные грибы. Сметанный соус разбавить соком из банки с креветками или отваром из головок креветок. Картофель одинаковой величины запечь в духовке, остудить, срезать верхушки и аккуратно вынуть сердцевину. Картофель уложить в глубокую огнеупорную посуду. В каждую картофелину влить по столовой ложке соуса. Креветки и грибы смешать с оставшимся соусом и наполнить этой начинкой картофель. Полить оставшимся соусом, поставить в духовку и запечь.

Если цепеллины поджарить или запечь, это будут уже не цепеллины, а не менее вкусные картофельные пирожки. Картофельное пюре с мукой и яйцами — прекрасное тесто для пирожков. (Кстати, тесто очень податливое, из него получаются отличные лепные украшения для картофельных запеканок.) Начинка для пирожков зависит от вашей фантазии, вкуса, материальных возможностей и времени года.


Рожки картофельные с курицей

14 картофелин, 2 яйца, 4 ст.л. панировочных сухарей, 3 ст.л. масла (жира для жаренья), мука, соль. Фарш: 500 г отварного мяса курицы, 2–3 ст.л. масла, 3 яйца, 2 луковицы, перец, соль.

Для фарша: куриное мясо мелко нарезать. Нарезанный лук обжарить. Мелко порубить вареные яйца. Все компоненты смешать и заправить солью с перцем.

Отварной картофель пропустить через мясорубку, добавить яйцо и немного муки, чтоб можно было замесить тесто. Из теста сформовать лепешки и на каждую положить немного фарша. Слепить рожки, запанировать во взбитом яйце и сухарях. Зажарить. Подавать с растопленным маслом или грибным соусом.


Кнедлики-рогалики

750 г картофеля, 125 г пшеничной муки, 100 г картофельной муки, 2 яйца, соль, щепотка мускатного ореха, начинка.

Натереть сваренный накануне картофель и замесить тесто, смешав картофель с мукой, яйцами и специями. Тесто раскатать в пласт толщиной 1/2 см, нарезать полосками шириной 8 см, длиной 5 см, смазать начинкой, каждую полоску скатать в ролик и закрепить кончики. Кнедлики опустить в слегка подсоленную воду и варить на слабом огне 20 минут. Откинуть на дуршлаг, дать стечь воде и выложить на блюдо. Панировочные сухари подрумянить в масле и посыпать ими рогалики.

В качестве начинки могут быть использованы: мясо, шпик, овощи, которые надо предварительно потушить в жире с луком и зеленью. Прекрасная начинка — грибы. Кнедлики подают со свежим салатом или с теплой подливкой. Если начинка не мясная, то кнедлики сами являются прекрасным гарниром к мясу.


Несколько рецептов для любителей острых ощущений

Хуанкаина папас (Перуанская кухня)

500 г картофеля, 125 г плавленого сыра, 1 ст.л. растительного масла, 1/2 стакана молока, 2–3 ст.л. 10 %-ных сливок, 1–2 ст.л. сока лимона, 1/2 ч.л. черного молотого перца, 1/2 луковицы.

Плавленый сыр, растительное масло, молоко и сливки смешать и хорошо растереть, чтобы получилась однородная масса. Смесь слегка разогреть, затем добавить лимонный сок и сильно поперчить. Сварить картофель в «мундире», очистить, разрезать пополам и полить приготовленным соусом. К картофелю подать зеленый салат. Рассчитано на 2 порции.


Имитированные яблоки

8 картофелин, 1 стакан масла, 8 бутончиков гвоздики, красный молотый перец, соль.

Картофель (лучше взять клубни одинаковой величины) отварить в «мундире». Затем очистить и обжарить целиком в большом количестве масла до золотистого цвета. В каждую картофелину воткнуть по гвоздичке и слегка обсыпать (целиком или с одного бочка) красным перцем. Подавать с мясом или как самостоятельное блюдо.


«Горячая молния»

4 свиные отбивные, 4 сосиски, 1 кг картофеля, 1 кг кислых яблок, 2 луковицы, 1/2 л мясного бульона, масло или маргарин, панировочные сухари, соль, перец.

Яблоки и картофель очистить, нарезать кубиками. Картофель отварить в мясном бульоне со специями, добавить яблоки и тушить 10–15 минут, пока не выкипит почти весь бульон. Свинину отбить, крепко посолить и поперчить, обвалять в сухарях и обжарить в жире с обеих сторон. В конце жаренья положить на сковороду сосиски. Картофель и яблоки сильно поперчить, сверху засыпать предварительно обжаренными колечками лука, вокруг обложить котлетами и сосисками.


Соусы к картофельным блюдам

Удачный соус — половина успеха блюда. Ниже — рецепты соусов, рекомендуемых к картофелю и блюдам из него.


Соус грибной

50 г сушеных грибов, 1 ст.л. муки, 1 луковица, 2 ст.л. масла, соль.

Вымытые в теплой воде грибы замочить в холодной на 2–3 часа и затем в той же самой воде сварить, не подсаливая. Ложку муки и ложку масла поджарить до светло-коричневого цвета и развести 2 стакана горячего грибного отвара. Варить соус на слабом огне 10–15 минут. Мелко порезанный лук поджарить на оставшемся масле, добавить мелко нарезанные грибы и еще раз перемешать все. Затем добавить в соус и посолить по вкусу.


Соус молочный

1 ст.л. муки, 1,5 стакана молока, 1 ст. ложка масла, соль.

Слегка поджарить муку на масле. Разбавить горячим молоком, вливая его постепенно. Прогреть соус на огне в течение 10 минут, постоянно помешивая, затем посолить по вкусу.


Соус сметанный

1/2 стакана сметаны, 1 стакан бульона овощного или мясного, 1 ст.л. муки, 1 ст.л. масла, соль.

Поджаренную с маслом муку разбавить горячим бульоном, добавить сметану и варить на слабом огне 5—10 минут. Затем соус посолить и размешать.

Можно добавить в соус поджаренный на масле мелко нарезанный лук и затем также прокипятить соус на слабом огне.

А можно взять полстакана протертых помидоров, смешать с бульоном и, постепенно помешивая, уварить до половины объема. Затем смешать со сметанным соусом.


А что на десерт?

Ну вот, поели, а теперь хорошо бы и чайку попить… с картошечкой. Вернее, не совсем с ней, а со всякими сладкими вкусностями, из нее сделанными.


Картофельный пирог

1,5 кг сырого картофеля, 500 г вареного картофеля, 1–1,5 л пахты или простокваши, мука, соль, маргарин, растительное масло или сало для жаренья.

Сырой и отварной картофель натереть, прибавить пахту и немного муки, тесто посолить и выложить на противень, предварительно смазанный жиром. Запечь в духовке со средним жаром до золотисто-желтого оттенка. Разрезать на куски и еще горячий пирог смазать вареньем или подать с какими-либо фруктами.


Сладкая картофельная бабка

5 картофелин, 1 ст.л. масла, 2 яйца, 2 ст.л. панировочных сухарей, 5 ст.л. муки, 50 г изюма, 1 стакан фруктового сиропа, соль.

Натертые на терке картофелины смешать с маслом, солью, взбитыми яйцами, мукой и изюмом. Положить в форму для выпечки, смазанную маслом и посыпанную панировочными сухарями. Выпекать 1,5 часа. Затем переложить на блюдо и полить фруктовым сиропом. Подавать в холодном виде.


Картофельные блинчики

6 картофелин, 1 ст.л. сахара, 1 /2 стакана содовой воды, 2 яйца, 2 ст.л. муки, 250 г конфитюра или мармелада, 1 ст.л. масла, соль.

4 картофелины натереть на терке и отжать. Две картофелины отварить и размять. Затем все смешать с яйцами, сахаром и содовой водой. Получившаяся масса должна быть довольно жидкой. Готовить на сковороде, как обычные блинчики, затем смазать мармеладом или конфитюром.


Молодой картофель с медом

12 картофелин, 300 г меда, ванильный сахар.

Молодой неочищенный картофель, желательно одинаковой величины, размером приблизительно с крупный грецкий орех, залить кипятком, чтобы легче слезла шкурка, затем очистить, вымыть и обсушить. Мед с ванильным сахаром разогреть на небольшом огне, затем в него положить картофель и варить до мягкости. Подавать можно как в горячем, так и в холодном виде.


Шарики картофельные с повидлом

5 картофелин, 3 ст.л. муки, 1 ст.л. сливочного масла, 1 яйцо, 3 ст.л. повидла, 2 ст.л. сахарной пудры, 1/2 стакана растительного масла, соль.

Картофель в кожуре испечь, остудить, очистить и пропустить через мясорубку. Добавить яйцо, сливочное масло с солью и все хорошо вымешать. Из теста скатать колбаску, которую разрезать на кусочки. В каждом сделать углубление, положить туда немного повидла и сформовать шарики. Изжарить на растительном масле и посыпать сахарной пудрой. Подавать горячими. Вместо повидла можно положить мармелад.


Отварные картофельные шарики с творогом

5 картофелин, 2 яйца, 2 ст.л. масла, 1,5 ст.л. сахара, 150 г творога, 1/2 стакана панировочных сухарей — для теста и 3 ст.л. панировочных сухарей — для панирования, соль.

Масло растереть до пены. Добавить взбитые яйца и натертый на терке, отжатый картофель, отжатый творог. Все хорошо смешать и сформовать маленькие шарики. Отварить их в подсоленной воде 10–15 минут, пока не всплывут наверх. Воду слить, а шарики запанировать в обжаренных на масле сухарях, смешанных с маслом. Подавать горячими. Такие же шарики можно сделать с брынзой.


Пирог с яблоками

4 картофелины, 4 яблока, 1 яйцо, 2 ст.л. масла, 7 ст.л. сахара, 3/4 стакана муки, 2 ч.л. корицы, тертая цедра 1 лимона, сода, соль.

Картофель отварить в мундире, очистить и натереть на мелкой терке. Яблоки очистить и натереть на крупной терке, затем смешать с картофелем. Добавить растертое с сахаром яйцо, масло, соль, соду, корицу, цедру лимона и муку. Все хорошо вымешать и вложить в форму, смазанную маслом. Верх выровнять ножом. Выпекать около часа.


Кекс картофельный с какао

5 картофелин, 5 яиц, 1/3 стакана сахара, 100 г орехов, 4 ст.л. какао, 1 ст.л. растительного масла, 2 ч.л. ванильного сахара, цедра лимона, сода.

Желтки растереть в пену с сахаром и какао. Добавить молотые орехи, отварной и протертый картофель, ванильный сахар, взбитые в пену белки и соду. Массу положить в форму, хорошо смазанную маслом, и выпекать около часа в духовке.


Бисквит картофельный с орехами

4 картофелины, 1 стакан муки, 6 ст.л. сахара, 2 ст.л. растительного масла, 125 г орехов, 2 яйца, 1 ст.л. корицы, 1 ст.л. сливочного масла, цедра лимона, сода, соль.

Картофель в кожуре испечь в духовке, очистить и пропустить через мясорубку. Яйца растереть с сахаром. Добавить растительное масло, пюре картофельное, измельченные орехи, корицу, цедру лимона, соду и 3/4 стакана муки. Оставшейся мукой посыпать стол, на котором будете месить тесто. Из теста сформовать маленькие бисквитики и испечь на смазанном масле противне.

Видите, какая она «многоликая» — эта картошка, такая знакомая и незнакомая. Попробуйте — не пожалеете! Приятного аппетита!

ИГЛА ДА БУЛАВОЧКА

Всем ты, сарафан, хорош!

Г.А.Широкова


Каждый сезон меняется мода, прихотливо подчиняя себе длину и фасоны одежды, придумывая новые формы, силуэты и выбирая излюбленные цвета. Но независимо от ее капризов в гардеробе каждой женщины можно найти сарафан.

Мода последних лет особо благоволит к этому типу одежды. Представление о сарафане как одежде только для дам солидного возраста безвозвратно ушло в прошлое. Сегодня ультрасовременные варианты сарафана можно видеть на представительницах прекрасного пола любого возраста. В офисах и учреждениях можно встретить дам, одетых в сарафаны из однотонных шерстяных тканей. Благородные по силуэту, с четко выверенными линиями рельефов, они не только подчеркивают достоинства фигуры, но и ничуть не уступают в чувстве меры и вкусе традиционным английским костюмам.

Модели из мягких уютных трикотажных гладких и буклированных полотен прочно вошли в наш гардероб. В сочетании с разнообразными водолазками, джемперами, блузами сарафан позволяет каждой женщине бесконечно изменять свой повседневный костюм.

Вечерние туалеты преображают сарафан в благородные открытые платья без рукавов и воротника. Самые модные силуэты с высокой линией талии и расклешенным подолом позволяют сочетать одновременно роскошные ткани: бархат, шифон, шелк, расшитый стразами или бисером, и многое другое.

И конечно, самое большое разнообразие моделей сарафана присутствует в молодежной моде. Здесь и рискованное мини — воспоминание о 70-х годах, и длиннополые штапельные одеяния в деревенском стиле, и несдающие своих позиций джинсовые варианты, и аскетичные льняные наряды поклонниц экологического стиля, не говоря уже о последнем превращении сарафана в романтический шазюбль (своеобразный распашной жилет, надеваемый поверх платья).

Перед летними сарафанами не устоят даже самые категорично настроенные дамы, поскольку тканей и фасонов для легких сарафанов просто не сосчитать. Однако, разглядывая все это многообразие, помним ли мы о том, когда возник на Руси этот вид одежды, ставший одним из главных элементов русского национального костюма?

Термин «сарафан» впервые появляется в русских письменных источниках только в XIV веке. Так, на страницах Никоновской летописи 1376 года мы встречаем упоминание о существовании данного вида одежды. «Сарафаном», «сарафанум» называется в ту пору не женская, а мужская одежда, напоминающая по покрою кафтан, то есть длинную распашную, расширенную книзу одежду с длинными рукавами. В перечислении одежд царя Михаила Федоровича упоминаются: «сарафан объярь червчета… сарафанец теплой тафта лазорева». И только в конце XVII века данное название стало применяться к описанию женской одежды, очень похожей на мужскую, но уже без рукавов, хотя иногда встречались и женские сарафаны с ложными, откидными рукавами.

Спор исследователей о точной дате появления женского сарафана до сих пор не окончен. Однако происхождение самого названия ведется от персидского слова «сарапа», что означает одетый «с ног до головы». На Востоке сарапа считалась почетной одеждой. Да и на Руси сарафан первоначально встречается далеко не у всех слоев населения. В женском же костюме он в первую очередь становится принадлежностью костюма знатных горожанок, а по предположению исследователей и вовсе придворной одеждой. Существует предположение, что сарафан появился в женском гардеробе как церемониальная одежда при царском дворе Ивана IV. С его пирамидальным, конусообразным силуэтом ассоциировалось представление о единении Руси.

С течением времени новый вид одежды пирамидального силуэта, напоминающего колокол, с колышащимися складками широкого подола, приобретает все большую популярность в центральных российских городах. Жены служилых людей, переезжая вместе с мужьями по новому назначению, привозили с собой в северные или южные губернии, где строились новые оборонительные рубежи, полюбившуюся им одежду. Местные жительницы воспринимали сарафан, как новинку. В центральных и северных районах он в сочетании с рубахой стал основным комплектом национальной одежды. В южных же губерниях сарафану не уступила первенства более древняя национальная одежда — понева, носимая на бедрах поверх рубахи. Так и сосуществуют в селах Воронежской, Курской, Смоленской и др. губерний эти две основные разновидности национальной одежды. Кроме Русского Севера, Карелии и центральных областей, сарафан распространился на Урале и в Сибири. Полюбился и казачкам.

О популярности этой одежды говорит тот факт, что в ассортименте отечественных шелковых мануфактур со второй половины XVIII века появляются особые «сарафанные» шелка с крупным цветочным рисунком из ярких букетов, называемых в народе «пукеты». Позже начинают выпускаться специальные «сарафанные» тесьмы и ленты дм украшения подола, продаваемые офенями по всей Руси.

Переливающиеся цветные и однотонные шелка, блестящая полупарча и другие дорогие ткани покупались для сарафанов купчихами, зажиточными крестьянками. В менее зажиточных семьях шились сарафаны-«кумашники» из красного ситца или сатина, «китаешники» — из синей шерсти. У крестьянок Вологодской, Архангельской губерний особой любовью пользовался «набивник», выполненный из домотканого полотна с набивным узором по синему фону с яркими оранжевыми ягодами — «оживками». В вятских селах брали для сарафанов цветную домотканую клетчатую материю — «пестрядь».

Для окраски тканей использовали природные красители. Красный цвет получали при помощи корня марены. Корой березы и настоем жженого кирпича окрашивали ткани в темно-красный цвет. В зеленый цвет красили отваром из коры лиственницы.

Но не только цвет является характерной особенностью сарафана той или той области. Большую роль также играет и покрой. Основные признаки оставались едиными — длинная одежда без рукавов, надеваемая поверх рубахи. Однако практически в каждой губернии можно встретить местные варианты, непохожие на соседние.

Косоклинный сарафан на широких лямках или проймах является наиболее древним видом. Его шили из двух прямых полотнищ (переднего и заднего) и соединяли по бокам клиньями, а ворот и пройму вырезали из прямого куска. Такой сарафан в Тверской губернии назывался костолан.

В северо-западных губерниях (Новгородской, Олонецкой, Псковской и др.) носили более закрытый сарафан и величали его «глухарем», или шушуном.

Самыми распространенными в XIX веке во всех губерниях стали косоклинные сарафаны с застежкой по центру переда (иногда ложной). К двум передним и одному заднему прямым полотнищам пришивали боковые скошенные клинья, сильно расширявшие подол. В Ярославской губернии именовали такой сарафан ферязью (по аналогичному силуэту церковной одежды), в Московской — саян, а в Смоленской — сорококлин. Еще встречались семиклинники, клинники, широколямошники и т. д. Прямой сарафан, состоящий из пяти-шести прямых полотнищ, собранных на узкой обшивке с узкими лямками, называли «круглый», или «московский». Особенно модным такой сарафан считался на рубеже XIX–XX веков. В это же время возникает и новая форма — сарафан с отрезной облегающей верхней частью (лифом), максимально приближающийся к форме городского платья без рукавов.

Носили все эти виды сарафанов и незамужние девушки, и молодые женщины, и пожилые. Согласно возрасту выбирался цвет ткани и отделка из тесьмы, золотного кружева, лент, филигранных пуговиц и т. д. Но самым красивым по праву во всех губерниях считаются свадебные сарафаны. Для них специально подготавливались различные материи обязательно красного цвета, потому что красный сарафан считался на Руси символом супружества. Не случайно в знаменитом романсе девушка, обращаясь с просьбой продлить ее вольную жизнь, умоляет: «Не шей ты мне, матушка, красный сарафан…» Особо роскошными свадебные сарафаны были в семьях бояр и зажиточных крестьян северных губерний конца XVIII — начала XIX века. В них сохранилась характерная еще для XVII века любовь к пышному узорочью, древнерусскому золотному шитью. Так, среди жителей Каргополья до сих пор хранится легенда о «золотых» сарафанах из шелковой белой материи с вышитыми золотыми нитями цветочными узорами. Невест, наряженных в подобные сарафаны, называли «золотыми девками».

Петровские преобразования в сфере одежды запрещали всем, кроме податного населения, носить сарафаны, но вдали от двора и столицы, в маленьких провинциальных городах женщины продолжали сохранять традиции русской одежды и носили сарафан.

При Екатерине II отношение к национальной одежде изменилось, и был издан указ, по которому в особо важных случаях, будь то свадьба или Новый год, дамы обязаны были появляться при дворе в русских платьях.

Во время Отечественной войны 1812 года подъем национального самосознания вызвал интерес не только к русской истории, но и к русской национальной одежде. Женщины-патриотки появлялись в сарафанах даже на балах. Вошли в моду прямые, слегка расширенные книзу сарафаны на узеньких лямочках. Их подпоясывали высоко под грудью, подражая светской моде. Об этом писал Ф.Ф. Вигель: «Дамы отказались от французского языка. Многие из них, почти все оделись в сарафаны, надели кокошники и повязки».

В период царствования Николая Элементы национального костюма входили в нарядную женскую одежду для дворцовых приемов. В 1834 году был принят отдельный указ о женском придворном платье, включавшем национальные мотивы, просуществовавшем вплоть до 1917 года. Таким образом, русский сарафан продолжал свое развитие не только в костюме сельских жительниц.


Чем же привлекает женщин на протяжении уже более трех столетий сарафан? Вероятно, прежде всего, удобством формы, позволяющей как скрыть недостатки, так и подчеркнуть достоинства фигуры.

Открытая верхняя часть также является весьма практичной и в то же время красивой и разнообразной по очертаниям. Да и сам силуэт сарафана придает каждой женщине стройную осанку и особую величавость.

Не случайно на достоинства этого вида одежды обратили внимание современные модельеры не только в нашей стране, но и за рубежом, предлагая нам всякий раз новые варианты традиционной русской одежды.

Пожалуй, ни один из видов русской национальной одежды не имел подобного непрерывного развития и не вошел так прочно в наш быт, как сарафан. Сегодня нам известно огромное количество фасонов этой одежды, начиная от старинного косоклинного, где главной величиной измерения было расстояние между выступающими точками груди, и до современных, кроящихся по сложным лекалам.

Попробуйте и вы, милые читательницы, сшить для себя сарафан по нашей выкройке. Выбор ткани в данном случае зависит от времени года, когда вы собираетесь его носить. Для летних сарафанов лучше всего подойдут легкие цветные сатины и ситцы, для зимне-весенне-осеннего сезона следует отдать предпочтение легким шерстяным и полушерстяным тканям, которые легко драпируются в мягкие складки.

Легкий сарафан в жаркий день можно надеть непосредственно на тело, накинув сверху легкий жакет или перелину. В более прохладную погоду под сарафан можно надеть любую блузку или футболку, сочетающуюся по цвету с расцветкой сарафана. Очень нарядно выглядят белые блузки, украшенные шитьем или кружевом, с разноцветными сарафанами.

Вместе с теплым сарафаном можно надевать не только блузки, но и различные свитера, джемперы, «водолазки» и т. д., что позволяет выглядеть каждый раз по-другому. Для него лучше выбрать однотонный материал или же ткань с растительным узором. Клетчатая ткань требует особой тщательности подбора рисунка при крое: все линии должны строго совпадать, а этого не всегда удается достичь малоопытным портнихам. В том случае, если вы обладаете достаточным опытом, то можете смело покупать ткань в клетку, и скомбинировать полотнища переда и спины, скроенные по долевой линии с кокеткой, выкроенной по косой. Возможно комбинировать однотонную ткань сарафана с клетчатой или полосатой тканью кокетки, подходящей по цвету. При использовании цветочной ткани кокетку можно выделить, обшив кружевом, шитьем, цветным кантом…

Кокетку можно сделать из двух частей с декоративной застежкой на пуговицах. Для этого вам надо разрезать выкройку кокетки вдоль по линии сгиба и, раскладывая на ткани, прибавить к правой половине 2 см, а к левой — 4 см на подгибку ложной планки. Подвернуть эти припуски внутрь, сложить половинки кокетки до исходной величины и прометать, чтобы далее работать с кокеткой, как с единой деталью.

Полная свобода принадлежит вам и в выборе бретелей, их ширина и длина должны быть пропорциональны фигуре. Прежде чем выкраивать бретели, наденьте сарафан, закрепив шнуром или булавкой, и несколько раз приложите полоску ткани или бумаги, определяя оптимальную ширину. Линия оката плеча у всех женщин разная, а бретели играют немаловажную роль в общем виде сарафана. Их можно сделать из основной ткани, из отделочной, из ткани кокетки.

Передние концы бретелей возможно выполнить в виде треугольников и пришить при помощи красивых декоративных пуговиц. Средняя величина бретелей в готовом виде равна 3 см по ширине и 35 см по длине, следовательно, раскраиваются 2 прямоугольника размером 6x35 см плюс припуски на швы по 1 см с каждой стороны.

Наша выкройка (рис. 1) рассчитана на 46-й размер, рост 164–170 см. Если вам необходимо увеличить выкройку, то прибавьте по серединной линии спины 4 см для 48-го размера (объем груди 96 см), 6 см для 50-го размера (объем груди 100 см).



Рис. 1


Для построения выкройки возьмите миллиметровую бумагу, на ней легче производить чертежи, если такой бумаги у вас нет, воспользуйтесь обыкновенной бумагой, оберточной или другой (при необходимости можно склеить несколько кусков).

Начинайте построение с прямой линии, как правило это средняя линия спины, переда, край полы, боковая линия или средняя линия рукава. Затем, строго используя треугольник, проведите все необходимые перпендикуляры, откладывая по вертикали нужные расстояния. Далее выполните все необходимые построения основных точек и соедините плавными линиями. Сравните свой чертеж с предлагаемой схемой и проверьте его правильность. Вырежьте готовую выкройку.

Для шитья сарафана вам потребуется 2,70 метра ткани шириной 90 см или 1,85 метра при ширине 140 см и застежка молния длиной не менее 30 см.


Раскрой:

две детали переднего полотнища, две детали заднего полотнища, кокетка — одна деталь со сгибом (лицевая часть), одна деталь со сгибом (подкладочная часть из любого материала), 4 детали карманов, 2 бретели, обтачки пройм и спины. Припуски на швы: 3 см по подолу, 1 см по всем другим швам.

Перед раскроем сделайте отдельную выкройку кармана, на переднем полотнище сделайте отметки границы кармана, но сам карман не вычерчивается.

Описание шитья

— Сшейте обе половины передней части по серединному шву. Заднюю часть сшейте, оставляя свободным отрезок для молнии. Швы разгладьте на обе стороны.

— Сосборите переднюю часть на ширину кокетки. Приметайте и пристрочите лицевую часть кокетки. Припуски на швы заутюжьте к центру кокетки.

— Пристрочите по разметкам детали мешковины кармана, по две к переднему полотнищу и по две к заднему, строго проверяя совпадение деталей по контуру. Прострочите единой строчкой боковой шов и окат мешковины кармана.

— Сшейте, выверните налицо, отутюжьте бретели. Отстрочите отделочной строчкой, отступив от края 0,75 см. Если вы выбрали бретели без треугольного кроя, то примерьте сарафан и определите место пришива бретелей, как правило, они располагаются по краям кокетки. Наложите бретели по лицевой стороне, совместив край кокетки и короткие концы бретелей, приметайте. Подкладочную часть кокетки наложите лицом вниз, покрывая бретели, и прострочите по верхнему краю кокетки, соединяя одним швом обе детали кокетки и пришивая бретели.

— Соедините обтачки между собой, прострочите, разгладьте швы. Пристрочите обтачки короткими срезами к краям кокетки и по длинным сторонам к верхнему краю сарафана. Отверните вовнутрь, отутюжьте.

— Подверните вовнутрь припуски на швы оставшихся сторон подкладочной части кокетки. Прометайте и прострочите по разглаженному шву или подшейте на руках. Отстрочите по лицевой стороне кокетки, отступив от края 0,75 см и по верхнему краю сарафана.

— Вшейте молнию в шов на спине, при этом верхнюю часть вложите между обтачкой и сарафаном.

— Обметайте свободные концы бретелей, отрегулируйте их длину при примерке и пришейте на машине по отделочной строчке. Для того чтобы нижний край не выворачивался, его следует пришить на руках к обтачке или укрепить декоративной строчкой в виде прямоугольника с пересекающимися диагоналями «конверта» или обыкновенного прямоугольника. Декоративные концы бретелей закрепите при помощи пуговиц.

— Подшейте край подола, подвернув два раза на руках, или прострочите на машине.

— Пришейте декоративные пуговицы на кокетке.

Надеемся, что наш сарафан будет для вас всегда удобен и наряден. А на рисунке 2 показаны три варианта сарафана, выполненных по этой выкройке.





Рис. 2


По второй выкройке мы предлагаем вам сшить очень модную модель. В истории моды он носил разные имена: казакин, пыльник, а теперь сподобился получить и «заморское прозвище» — сарафан-шазюбль. Он может быть как дополнением к платью, так и самостоятельной одеждой для отдыха, пляжа, придя на смену традиционным халатам.

Для классического шазюбля лучше подобрать ткань, сочетающуюся с тем платьем, поверх которого вы его наденете. Как правило, здесь подходят легкие полупрозрачные материи, такие как шифон, крепдешин, крепжоржет, тонкий штапель, вуаль, шелк и т. д. Для самостоятельного варианта остановимся на более плотных материалах типа льна, сатина, репса, штапеля и т. д. На рисунке 3 — варианты выполнения этой модели.



Рис. 3


Наша выкройка (рис. 4) рассчитана на 46—48-й размеры, однако вы можете ее уменьшить или увеличить, проведя корректировку по серединной линии спинки и по линиям срезов краев полочек. Обратите внимание, что у модели без застежки своя линия среза полочек. По желанию вы также можете изменить глубину и форму вырезов горловины и пройм. Внести другие изменения в выкройку в зависимости от выбора модели.



Рис. 4


После построения выкройки приложите ее к себе и определите необходимые исправления, затем сделайте выкройку подборта по намеченной на рисунке линии. Если ширина ткани позволяет выкроить цельнокроенный подборт, то подклейте выкройку подборта к срезу полочки, как указано на рисунке.

Расход ткани для шазюбля зависит от ширины полотна и от длины модели. Припуски на швы составят: по срезам пройм и горловины — 1–1,5 см, боковые плечевые швы — 1,5–2 см, на подгибку низа модели с застежкой — 3–4 см, для модели с завязками — 1,5 см.


Раскрой:

полочка — 2 детали, спинка — 1 деталь со сгибом или 2 детали с соединительным швом по центру, подборта — 2 отдельных или цельнокроенные с полочками, косые бейки шириной 4 см для окантовки срезов горловины и пройм. Длина зависит от выбранной модели.

Описание шитья

— Сметайте и стачайте плечевые швы. Припуски на швы обметайте и разутюжьте.

— Обработайте срезы пройм косой бейкой. Выкроенную бейку сложите с изделием лицевыми сторонами и приметайте, выравнивая края, затем притачайте, отступив от края 1 см. Бейку отогните на изнаночную сторону, огибая срезы пройм и подвернув открытый срез, пришейте потайными стежками к шву притачивания. Отутюжьте и отстрочите по лицевой стороне образовавшийся кант таким образом, чтобы прихватить внутреннюю часть бейки.

— Сметайте и стачайте боковые швы. Разгладьте их на обе стороны и обметайте.

— Притачайте при необходимости подборта и сложите их с полочками лицом вовнутрь. Обметайте внутренние срезы подбортов и, не отворачивая на изнанку, притачайте по линии низа подборт к полочке. Срежьте лишнюю ткань в уголках и выверните подборт на изнаночную сторону.

— Выровните подол по линии низа и подогните припуск на шов вовнутрь. Притачайте, отступая от верхнего края подгибки 0,5–1 см.

— Приметайте верхние срезы подбортов к горловине и обработайте косой бейкой, загибая вовнутрь поперечный срез у края полочки. Технология обработки аналогична обработке пройм.

— На правой полочке разметьте, прорежьте и обметайте петли. Пришейте пуговицы.

— Для модели с комбинированными тканями в соединительный шов полочки вшейте воздушные декоративные петли из шнура или косой бейки, затем стачайте шов полочки.

— Для выполнения модели с округлыми полочками не выкраиваются подборта. Все срезы обрабатываются косыми бейками. Навесные петли для застежки вшиваются в косую бейку с изнаночной стороны и отгибаются на лицевую сторону с последующим закреплением на машине или вручную.

ЧТО СТАРЕНЬКОГО?

Готовь сани летом

В.В. Попов


Испокон веку в России, где пять-восемь месяцев в году длится зима, для перевозок использовали сани. Обычно раньше среди саней различали городские, деревенские дровни, ручные санки и салазки. Любые сани состоят из двух деревянных долевых брусьев, загнутых дугообразно спереди вверх и называемых полозьями. Эти полозья соединяют между собою поперечными и продольными брусками, насаженными на невысокие стойки и образующие верхнюю раму с площадкой для седоков или груза.

Для изготовления полозьев используют разные породы деревьев: молодой дуб, вяз, березу, клен, ясень, карагач и т. п. Полозья из дуба и вяза считаются наилучшими. При выборе дерева следят за тем, чтобы оно было молодое (возраст 40–60 лет), прямослойное, здоровое, без сучьев. Такое дерево хорошо гнется, не дает трещин, полозья из него служат долго. (О долготе сохранности саней любопытный факт приводит Н.М.Карамзин в своей Истории Государства Российского о правлении в Древней Руси княгини Ольги (X век). Он рассказывает, как после известного усмирения древлян она совершила поездку из Киева в северную Россию, в область Новгородскую, учредила по Луге и Мете государственные дани. «Чрез 150 лет, — пишет историк, — народ с признательностию вспоминал о сем благодетельном путешествии Ольги, и в Несторово время жители Пскова хранили еще сани ее, как вещь драгоценную».)

Предназначаемые для полозьев деревья старались рубить зимою, так как в это время года дерево наиболее сухо, не в соку, как весною, когда на него набрасываются насекомые или оно подвергается червоточине. Об этом знавали рубщики будущих полозьев и во времена княгини Ольги.

Каждая пара полозьев должна быть одинаковой толщины (обычно 8—15 см). Длина может быть различной: от 3,25 до 3,5 м. Длина обыкновенных грузовых саней вместе с головкой(так называют выгиб спереди) составляет от 1,8 до 2,5 м. Обычно городские сани делали длиннее деревенских дровней или розвальней.

Срубленные для полозьев деревья нарезают попарно требуемой длины. Затем с них снимают кору и слегка стесывают с двух противоположных сторон. Далее концы брусьев распаривают и выгибают головку. Но прежде на концах брусьев для облегчения гибки делают насечки пилой. Глубина насечек 20–25 мм. Расстояние между насечками 45–50 мм. Заметим, что, чем тверже порода дерева, тем длительнее происходит распаривание, соответственно и выгибание головки более затруднено.

Распаривают или размягчают головку полозьев по-разному. Обычно это производят в жарко натопленной деревенской бане, где брусья складывают около каменки. Или в специальной камере (см. статью Е.В.Кубасова «Древесина — гнем, но не ломаем» в журнале «Сделай сам», № 2, 1996 г.). Пар и жар делают свое дело. После распаривания (1–2 часа) полозья гнут на специальном станке, при помощи лекала или шаблона. Согнутые полозья стягивают накрепко веревкой или проволокой и выносят на просушку под какой-либо навес. Так как просушенные полозья стараются отчасти вернуть прежнее положение после того, как снимут стяжку, то стягивают веревкой несколько больше необходимого. Сушат полозья 10–20 дней на открытом воздухе. По окончании просушки веревки развязывают и полозья подгоняют, то есть подтесывают, подстругивают и т. п.

Расскажем еще об одном способе гнутья полозьев без распаривания. Заданный брусок (3200x80x80) с одного конца распиливают на длину предполагаемого загиба: 1100–1200 мм (рис. 1).



Рис. 1


Распиловку производят торцовой пилой. Предварительно с помощью шаблона делают разметку будущих пропилов. Шаблон представляет собой брусок длиной 1,5 м и шириной 80 мм. В нем имеются пять продольных пропилов, каждый из которых шириной 6–7 мм.

Шаблон прикладывают к заданному бруску и наносят разметку карандашом. Пропиливают в следующем порядке. Первый пропил делают длиной 1100 мм, отступя с торца 8 мм. На таком же расстоянии делают второй пропил, но длиной 1200 мм. Длина третьего пропила 1100 мм, четвертого 1200 мм, пятого 1100 мм. После пятого пропила с краю срезают кромку толщиной 10 мм, длиной 1100 мм (рис. 1). После этого изготавливают деревянные пластины, которые будут промазаны казеиновым клеем и вложены в пропилы бруска. Понятно, что они должны быть соответствующего размера. Далее бруски и пластины сушат, доводя влажность до 12–15 %. Потом все склеивающиеся поверхности промазывают клеем. Пластины вставляют в соответствующие пропилы и загиб производят при помощи специального лекала и струбцин (рис. 2).



Рис. 2. Лекало и струбцина


Для страховки, чтобы не произошло отщепов, сверху сгибаемой части полоза накладывают железную пластину толщиною 2–3 мм. Загиб производят вместе с нею. На рис. 3 показан чертеж струбцины для гнутья полозьев.



Рис. 3. Струбцина для гнутья полозьев:

1 — головка; 2 — гайка; 3 — металлическая скоба; 4 — металлический винт, 5 — подмятник


Лекало перед загибом устанавливают в вертикальное положение при помощи двух лаг и клиньев, закрепляемых в гнездах этих лаг. На нашем лекале имеется железный обод с проушинами. Подготовленный полозный брусок с намазанными клеем и вставленными в пропилы пластинами с помощью струбцин крепят к железному ободу лекала (рис. 4).



Рис. 4. Загнутый струбцинами полоз.


После того, как клей высохнет (через 6–8 часов), согнутый полоз снимают с лекала и обрабатывают рубанком, напильником и т. п. Далее полоз с головкой пускают в дело для изготовления необходимых саней.


Сборка саней

На внутренней стороне согнутых полозьев выдалбливают 5–6 прямоугольных отверстий. Глубина отверстий составляет обычно треть толщины самих полозьев. В эти отверстия потом мы вставим брусочки (длина 18–20 см) на плоских шипах. Бруски называют копылами (копылками) и вырезают, как правило, из твердого и вязкого дерева, например, клена. В полозном гнезде копыла укрепляют еще винтом или нагелем, пропускаемым насквозь через полоз и шип копыла.

Сверху у копыл также делают шипы, на которые крепят верхний продольный брус (нахлесток). Полозья, скрепленные копылами и нахлестками, соединяют между собою при помощи так называемых вязиков (свежесрубленные и распаренные жердочки диаметром 40–50 мм).

Вязиками связывают копылы. Кроме этого, от верхнего конца головки полозьев идут аналогичные вязикам жердочки диаметром 60 мм, которые пропускают под верхние концы первого и второго копыла. Их называют утложинами. На утложины надевают верхние продольные бруски (нахлестки). Последним придают плоскую форму толщиною в 12–15 см. Концы нахлестков соединяют поперечинами (теми же вязками). Углы соединений оковывают железными пластинами толщиною в 8— 10 мм. Верхние концы головки также соединяют при помощи жердочки-вязки. Утложины тоже прочно соединяют с этими вязками. Оглобли для дровней делают прямыми из березы, присоединяя их к первым копылам при помощи веревки или проволоки. В концы задних концов нахлестных брусков обычно ввинчивают металлические крюки для наматывания закруточной веревки. Деревенские дровни готовы (рис. 5).



Рис. 5. Деревенские дровни


Как мы уже отмечали, так называемые городские сани делают более прочными, чем деревенские дровни. Для прочности вместо жердочек-вязок применяют дубовые бруски. Кроме того, на нахлестки вместе с поперечными брусками, образующими раму, кладут доски толщиной 40 мм. То есть делают платформу. Головку городских саней скрепляют толстым поперечным бруском. Помимо этого, передок саней оснащают специальной вертикальной рамой. Ее нижние концы укреплены в нахлестнутые брусья, а верхние связаны с поперечным бруском при помощи винтов или нетолстых болтов. Раму обшивают досками заподлицо с брусьями. Оглобли городских саней (рис. 6) также делают из березы, но прикрепляют не к первым копылам, а ко вторым.



Рис. 6. Так называемые городские сани


В связи с этим вторые копыла стараются сделать более прочными. Сани снабжают железными тормозами, привинчивая их шурупами к нижней стороне полозьев. Для перевозки леса изготавливают сани более короткие (рис. 7). Но к ним обычно прибавляют еще маленькие сани, называемые салазками.



Рис. 7. Сани и салазки для перевозки леса


При нагрузке леса на такие сани и салазки предварительно кладут по поперечному толстому брусу. А уже сверху грузят бревна, доски и другой громоздкий строительный материал, перевязываемый веревкой и затянутый закруткой.

Выше мы описали устройство конных саней. Понятно, что в современных условиях деление на городские и деревенские сани свое значение утратило. Лошади сейчас принадлежность все-таки более деревни, да и то далеко не каждой.

Помимо конных саней, всем нам известны санки ручные. Их изготавливают разных размеров, естественно, меньше выше описанных. Но в основном их устройство мало чем отличается от обыкновенных деревенских дровней. Тормозами ручные сани снабжаются более тонкими. А в оглоблях нужда отпадает.

ДЕЛА КРЕСТЬЯНСКИЕ

Картофель — хлебу подпора

В.Трубцов, агроном-картофелевод


Часть земли на огороде вы хотите занять картофелем. Правильное решение, и вот почему. В картофельном клубне питательные вещества, витамины, аминокислоты содержатся в самом благоприятном для человека соотношении. В среднем химический состав клубня таков: вода — 75,0 %, крахмал — 20,45, сахар — 0,30, сырой протеин — 2,0, жир — 0,15, клетчатка — 1,0, зола — 1,1 %.

Возделывание этой культуры проще и менее трудоемко, чем большинства овощей. Картофель не требуется прореживать, как свету или морковь, не надо делать пикировки, как помидорам. Он и хранится просто, без песка, не теряя при этом своей питательной и вкусовой ценности.

Среди многих овощей картофель вне конкуренции, потому что никогда не приедается.

В кухне разных народов из него готовят и 100, и 300 кушаний, а в Белоруссии знают рецепты 500 блюд из картофеля.


Оценка участка

До того как сажать картофель, присмотритесь к избранному участку и к тому, насколько он подходит для возделывания этой культуры. Тогда же предстоит обдумать весь ход работ, чтобы урожай клубней получился наибольшим.

Для картофеля не имеет большого значения направление склона. Он прекрасно чувствует себя и на северной, и на восточной стороне, где другие растения страдают от недостатка тепла. А вот света ему должно быть вволю. И затенение участка деревьями, строениями для картофельной плантации недопустимо.

Так как клубень формируется в почве, то по ее типу и составу в основном и оценивают пригодность участка под картофель. Безуспешными будут попытки растить его на затопляемых местах, на которых вода стоит по 3 дня и дольше. Не годны также земли с высоким (менее 20–30 см от поверхности) уровнем фунтовых вод.

Много значит и механический состав почвы. Чем в ней больше мелких частиц, тем она тяжелее в обработке, труднее увлажняется, но дольше сохраняет влагу. Наиболее легкими считаются почвы песчаные, количество мелкой (илистой) фракции возрастает в супесчаных, суглинистых, самые же тяжелые — это глинистые почвы.

Механические свойства почвы определяют, взяв образцы с разных мест поверхности. Замешивают в воде 200–300 г земли до тестообразного состояния и раскатывают между ладонями «скалку». Чем она тоньше и длиннее, тем тяжелее почва.

Существенная роль в урожае картофеля принадлежит почвенному плодородию, содержанию питательных веществ и в первую очередь органической части. Картофель возделывают на подзолистых (это самые бедные), серых, темно-серых почвах и на черноземах.

Обычно состав питательных веществ узнают по лабораторному анализу. На глаз судят по органической (темной) части. Чем темнее по цвету почва, тем больше в ней органики, тем она богаче питательными веществами. Именно из органической части почвы растения получают минеральные соединения для своего роста и развития.

По особенностям земли и местному микроклимату надо подбирать такой сорт картофеля, ботанические и биологические потребности которого подходили бы к условиям вашего участка.


О чем говорит ботаника

Свой жизненный цикл на огороде картофель проходит за одно лето, начиная с прорастания клубня и кончая образованием и формированием зрелых клубней. Это растение из семейства пасленовых размножается клубнями, росжами и черенками. Семена из ягод — «бомбошек», выросших на месте цветка, применяют для размножения лишь в селекционных целях научные учреждения и отдельные любители-картофелеводы.

Куст картофеля состоит из 4–6, реже 6–8 стеблей высотой 30-150 см, а иногда и более. В подземной части стебля из пазушных почек развиваются побеги-столоны, на концах которых образуются клубни. Столоны у ранних сортов короткие, у поздних — подлиннее. Разнообразная окраска венчика цветка от белой, красно-фиолетовой, сине-фиолетовой до синей с различными оттенками также является одним из основных сортовых признаков.

Корневая система картофеля мочковатая, не имеет главного корня и состоит из корней отдельных стеблей. Корни проникают в почву неглубоко: около 60 процентов их углубляются до 20 см, 33–38 процентов проходят на глубину 40–60 см, отдельные — до 80 см и даже более того. Это обстоятельство надо учитывать при внесении удобрений под картофель. В пахотном слое корни расходятся в стороны на 50–60 см.

Клубень картофеля представляет собой укороченный и утолщенный стебель, где сосредоточиваются запасы питательных веществ. По спирали на нем расположены глазки с 3–5 почками. В рост трогается одна, наиболее развитая — средняя, другие остаются запасными. Глазки верхушечной части клубня наиболее жизнеспособны и прорастают раньше нижних.

На этой биологической особенности основан известный агротехнический прием — надрез поперек клубня на глубину 8—10 мм. Это ускоряет прорастание большего числа почек в верхней части картофелины. Пророщенные на свету побеги разных сортов отличаются зеленой, красно-фиолетовой или сине-фиолетовой окраской.

Молодой клубень снаружи покрыт эпидермисом (поверхностным слоем клеток), который по мере роста растения становится плотной, не пропускающей воздуха покровной тканью. Кожура пробковата, маленькие темные точки на ней, микроскопические щели — чечевички — служат для дыхания. Через эти отверстия в клубень поступает кислород воздуха и удаляются углекислый газ и водяной пар. При переувлажнении почвы, когда возникает недостаток кислорода, чечевички способны увеличиваться. Если невооруженным глазом видны белые точки на клубне, значит, растение испытывает кислородное голодание, и тогда необходимо срочное рыхление.

Когда куст поднимается высотой 10–20 см, из подземной части его стеблей выходят побеги (столоны) толщиной 2–3 мм и длиной 5—15 см. Столоны белого цвета и не содержат хлорофилла. Как только столон прекращает расти в длину, его верхушка утолщается, становясь клубнем. Место прикрепления клубня к столону называют пуповиной, а часть противоположную — вершиной. Клубни в зависимости от сорта бывают белыми, светло-желтыми, розовыми, красными, красно- и сине-фиолетовыми. Мякоть клубня сортов советской селекции, как правило, белая, а у большинства европейских сортов — желтого цвета, что говорит о повышенном содержании каротина.

Обычно клубень содержит немного соланина — 2—10 мг на 100 г сырого картофеля. Такое количество не оказывает вредного действия на организм человека или животных. На свету соланин в клубнях накапливается, отчего они приобретают неприятный горький привкус. Семенному картофелю это даже полезно, так как во время хранения клубни меньше пострадают от заболеваний и грызунов.

Биологически клубням свойствен период покоя, что позволяет сохранять посадочный материал несколько осенне-зимних месяцев без снижения его продуктивной способности. У разных сортов картофеля период покоя неодинаков, для большинства он продолжается свыше двух месяцев. Эту особенность надо учитывать тем любителям, которые пытаются получать второй урожай, используя свежеубранные клубни. Для прорастания таких семян потребуются специальные биостимуляторы и растворы ростовых веществ.

Основную часть сухого вещества растение создает за счет углерода воздуха. Для извлечения этого углекислого газа важно иметь огромную листовую поверхность да развернуть ее так, чтобы улавливать побольше световых лучей.

Значительные урожаи картофеля вырастают при хорошо развитой мощной ботве с огромной площадью листьев на ней. На плодородных почвах при орошении листовая поверхность в пересчете на 1 га составляет 40–50 тыс. кв. м, при сборе 100–500 ц клубней с 1 га Рядовыми считаются урожаи по 200–250 ц с 1 га. В этом случае пропорционально меньше и площадь листьев.

В нашей стране известны урожаи картофеля по 100 т и более с 1 га. С учетом рекомендуемой нормы потребления — 120 кг на одного человека в год — нетрудно подсчитать, скольких людей накормит одна такая сотка, если картофелевод будет действовать в согласии с законами роста и развития культуры.


Влага, тепло, свет

Картофель очень неравнодушен к воде в почве, причем потребность во влаге у него изменяется по фазам развития. В начале своего роста растение способно обходиться теми запасами влаги, которые имеются в материнском клубне. При запасах не менее 15 мм продуктивной влаги в пахотном слое, то есть на глубине первых 20 см от поверхности, всходы картофеля не задерживаются. Лучше других культур он использует влагу, находящуюся в воздухе, — капелью! росы или тумана, осевшие на листьях, поглощает с помощью железистых волосков.

Критический период в отношении влаги наступает с началом цветения до прекращения прироста ботвы. В это время формируется клубень. Недостаток воды в такой момент приведет к резкому снижению урожая.

А каковы благоприятные условия для роста клубней? В период цветения и клубнеобразования нужно, чтобы в зоне распространения основной массы корней поры почвы были заполнены водой на 70–80 процентов, а при отмирании ботвы и накоплении крахмала в клубнях — на 60–65 процентов.

В средней полосе хорошие урожаи картофеля получают в годы, когда за вегетацию выпадает не менее 300 мм осадков с преобладанием их в июне, июле и августе. От переувлажнения почвы резко снижаются как урожай клубней, так и содержание в них крахмала.

Картофель — культура умеренного климата. Клубни начинают интенсивно прорастать при температуре почвы 7-12, а почки глазков пробуждаются уже при 3–6 градусах, что мы и наблюдаем в погребе к весне. Всего же быстрее клубни дают ростки, когда почва теплая, с температурой около 20 градусов. Корни у картофеля пойдут не раньше, чем земля нагреется до 7 градусов.

Нормальное развитие ботвы и клубней происходит в почве, нагретой до 15–20 градусов. Повышение температуры до 30 градусов тормозит рост растения. Если воздух раскалился свыше 42 градусов, ботва прекращает расти. Она выдерживает лишь кратковременное похолодание воздуха до минус одного — полутора градусов и останавливается в росте, когда температура опустилась ниже 7 градусов. Продолжительные холода весной могут всходы убить, но они появятся вновь, если посажены не очень мелкие клубни.

Самый активный прирост клубней наблюдается с прогреванием почвы до 16–19 градусов. Понижение температуры на поверхности земли до 6–7 градусов или ее повышение до 23–25 градусов прирост задерживают. Клубнеобразование прекращается при температуре 29–30 градусов, и в этом случае необходим полив.

Картофель светолюбив. При недостатке света будет мало клубней, и те низкого качества. При посадке очень важно правильно расположить картофельные рядки. В северо-южном направлении растения в течение дня освещаются равномернее по сравнению с западно-восточным.

Картофель растет на различных землях. Лучшие же урожаи собирают на окультуренных легких и средних суглинках. Чем менее плотная почва в зоне клубнеобразования и чем лучше корневая система снабжена кислородом, тем сбор будет выше. По объему оптимальной считается плотность почвы, когда ее 1 куб. см весит 0,9–1,2 г. А гумуса (органики) должно быть хотя бы 2 процента.

Картофель хорошо себя чувствует на разложившихся торфяниках с потенциально высоким плодородием и благоприятными физическими свойствами (скважностью, влагоемкостью).

Все же на многих почвах картофель нуждается в дополнительном питании — в фосфоре, калии и азоте.

При недостатке азота надземные органы растения развиваются слабо, листья приобретают бледно-зеленую окраску. Не менее опасен избыток этого элемента для растения: тогда буйно разрастается ботва, образование клубней задерживается, они теряют устойчивость к механическим повреждениям при уборке и к болезням во время хранения. Зачастую от излишних доз азота в клубнях скапливаются нитраты в значительном количестве, превышающем предельно допустимую концентрацию.

Чтобы этого избежать, азотные, фосфорные и калийные удобрения вносят одновременно, в смеси.

Питание фосфором в достатке способствует развитию корневой системы, ускоряет формирование клубней, накопление в них крахмала. Нехватка фосфора угнетает рост куста и задерживает цветение.

Калий делает картофель устойчивее к заморозкам и болезням. При калийном голодании листья приобретают бронзовый оттенок, желтеют и отмирают по краям. Калий ускоряет передвижение углеводов из листьев в клубни. С каждой тонной клубней из почвы выносится в среднем около 5 кг азота, 2 кг фосфорной кислоты и 9 кг калия. Энергичнее всего картофель поглощает элементы питания в период бутонизации и цветения, когда происходит интенсивный прирост ботвы.


Семена и сорт

Сложности с семенным материалом и подбором сорта испытывают те, кто получил небольшие по размерам участки земли и решил занять их картофелем. Выращивать собственные семена, сохранять их до весны, перевозить к месту хранения и обратно на участок хлопотно и не всем по силам. Проще положиться на помощь специализированных семеноводческих хозяйств. Их в России достаточно во всех регионах. Эти хозяйства располагают необходимыми семенами районированных сортов высоких репродукций для продажи. На каких началах ведется реализация материала, решают местные власти. В распространении сортов участвуют отделения «Сортсемовощ», магазины по продаже семян овощных культур. Иногда этим занимаются кооперативы, заключающие долгосрочные соглашения на поставку картофеля предприятиям и организациям.

Как же подобрать сорт? В стране их районировано 120. По длине вегетации сорта подразделяются на ранние, среднеранние, средние, среднепоздние и поздние. Ранний картофель созревает через 40 дней от появления всходов. Распространены такие его сорта: Вятка, Искра, Уральский ранний, Фаленский, Приекульский ранний. Близки к ним по времени поспевания и сорта среднеранние: Волжанин, Детскосельский, Дружный, Невский. Урожай среднеспелого картофеля обычно готов через 70–75 дней. В этой группе славятся Гатчинский, Огонек. К среднепоздним сортам относятся такие, чьи клубни сформировываются за 90-105 дней, — Лopx, Лошицкий. Дольше всего растет картофель позднеспелый — около 120 дней. Типичный сорт — Темп.

Сам по себе хороший сорт еще не гарантирует урожая. Нужен качественный семенной материал. Не годны для посадки загнившие, крупные или мелкие, с признаками вырождения клубни. Сохраняя их в темноте, не допускайте прорастания. Все ваши расчеты будут опрокинуты, если высадите картофель, у которого обламывали ростки. Это снизит энергию роста, отодвинет сроки созревания.

Группируйте семена по размерам. Лучшими из практики признаны клубни весом 80-100 г, с куриное яйцо. Части крупных клубней, как правило, дают неважный урожай, изреженные всходы, и от подобных семян лучше отказываться. Однако крупные клубни можно высаживать тоже, целиком выделяя им большую площадь питания. В этом случае разовьются мощные кусты, осенью накопаешь картошки уже не меньше, чем от резаных клубней.

Весь семенной материал нуждается в обеззараживании. Для этого его протравливают, что целесообразно провести перед проращиванием. Действуют с помощью вполне доступных препаратов — 40 %-ного водного раствора формалина, который разводят в соотношении с водой 1–2 г на 10 л воды. Главное — в одном из этих растворов полностью должны быть смочены все клубни, а затем разложены тонким слоем и просушены.

Дней за 30–40 до посадки клубни для проращивания на свету выносят в теплое светлое помещение, раскладывают на полу или по ящикам в один слой и при неравномерном освещении 1–2 раза в неделю поворачивают. Температура воздуха тут должна быть не ниже 7 градусов, а при 18–20 градусах прорастание идет ускоренно.

Процессу способствует и такая операция, предшествующая проращиванию. В средней части клубня делают поперечный надрез на глубину 8-10 мм. Это вызывает более быстрое прорастание верхних, самых биологически активных почек. Аналогично поступают при высадке и непророщенных клубней.

Для получения сверхранней продукции многие проращивают семенные клубни, раскладывая в ящики на тонкий (3–4 см) слой субстрата (торф, опилки, дерновая земля, перегной). Как только появятся и вырастут до 1–2 см ростки, станут зелеными, клубни присыпают этим же субстратом на 1–2 см. Субстрат в дальнейшем регулярно увлажняют. Через 2 недели при благоприятной температуре выходят листья и начинает расти корневая система. Значит, пришло время посадки. Растения поливают и осторожно, чтобы не повредить листья и корни, с маточным клубнем и частью субстрата переносят в землю. Следом желательно хорошо полить плантацию. А всю эту работу постарайтесь произвести в пасмурный день или ближе к вечеру.

Если в конце прошлого сезона органика не вносилась, при перекопке добавляют в почву перепревший навоз или хорошо подготовленный компост. А еще правильнее удобрить землю при посадке, в сочетании с минеральными смесями, локально — в лунку.

Сколько времени проживет у вас полюбившийся сорт, зависит от многих причин. В экстремальных климатических условиях южных областей страны его приходится менять один раз в два года, а то и ежегодно, на севере — один раз в четыре года. Когда лето выдается типичное, со всеми обычными признаками, сорт плодоносит успешно и дольше.


Посадка

Итак, пока почва не прогреется до 7-10 градусов, с высевом клубней лучше не затеваться, особенно если посадочный материал пророщен, прогрет. Тут уж температура почвы должна быть не ниже той, при которой проращивались или прогревались клубни.

Посадка проводится по маркированной (в одном направлении) поверхности. Чтобы в дальнейшем удавался качественный уход, ряд от ряда размещают через 70 см с севера на юг. В этом же направлении поле маркируют или посадку производят по шнуру. В рядке клубни располагают в 25–30 см друг от друга.

Технология посадки проста. Когда ее осуществляют двое, один копает лунку, второй кладет в нее клубень. Землей, вынутой из следующей лунки, укрывается клубень в предыдущей. Если картофель сажает один человек, лучше идти поперек намеченных рядков, сделав первые лунки по всей ширине участка. Затем землей из второй очереди лунок он укрывает клубни, разложенные в первом ряду лунок. Заделывают картофель в глубину 6–8 см. Это гладкая посадка.

На участках, подвергающихся переувлажнению, нужна посадка гребневая. По линиям маркера (или шнуру) клубни раскладывают на поверхности почвы. Тяпкой или лопатой их закрывают под гребень. Землю из междурядия распределяют так, чтобы часть рыхлой оставалась для последующих окучиваний.

Смесь органических и минеральных удобрений вносят ниже залегания клубней, непременно последив за тем, чтобы с ней посадочный материал не соприкасался. Необходима прослойка из земли. Состав готовят заранее с расчетом на лунку или под клубень по 200–300 г органики и 100–150 г минеральных удобрений, в которых азот составляет одну, а фосфор и калий по полторы части. К сожалению, наша промышленность не выпускает комплексных минеральных удобрений специально под картофель, с заданным соотношением элементов питания. Поэтому приходится самим картофелеводам в имеющиеся комплексные смеси добавлять селитру, суперфосфат и калийные удобрения, регулируя пропорции. Калийные удобрения, содержащие хлор, под картофель лучше не вносить. От них снижается крахмал, вкусовые качества клубней, и такой картофель заметно хуже хранится зимой.


Уход за посадками

Все приемы применяются, по сути, с одной целью — чтобы почва оставалась рыхлой и чистой от сорняков и на плантации не распространились болезни и вредители.

От зарастания сорняками предохранят одна-две легких обработки тяпкой или граблями — до появления всходов. Проростки однолетних сорняков после рыхления, как правило, погибают. Особенно хорошо очищается от них земля при работе в солнечную сухую погоду в первой половине дня. С многолетними сорняками — осотом, пыреем и им подобным — хлопот побольше. Их вырывают с корнем (корневищем), относят на край поля, подсушивают и сжигают.


Работа с почвой

За подготовку почвы следует браться сразу же после уборки урожая. Все растительные остатки (ботву, сорняки) подсушивают и сжигают, либо употребляют на компост, который и пополнит запасы полноценной органики, пусть и не раньше, чем через 2 сезона.

Очистив, участок перекопайте (заодно доберете потерянную часть урожая). Если у вас запланировано внесение свежего навоза, совместите его с осенней перекопкой. Делается это так. Навоз носилками или тачкой развозят мелкими кучами вдоль длинной стороны участка в один, два или три ряда. Затем начинают перекапывать вдоль короткой стороны участка. Лопатой проходят первый ряд таким образом, чтобы образовалась борозда глубиной на штык лопаты (18–20 см). В эту борозду из ближайших куч раскладывается навоз на уровне невскопанной поверхности. Затем копают следующий ряд и выкопанной землей прикрывают навоз в борозде. И так ряд за рядом. Перекопав участок, вы надежно закрыли органику, равномерно распределив ее по площади.

Если же навоз не вносится, то делают только перекопку участка. Во влажную и теплую осень потом могут прорасти сорняки. Если это однолетние, не беда, они погибнут зимой, а вот многолетники — осот, пырей и другие придется удалить, да еще с корневищем. На том подготовка почвы осенью заканчивается.

Весной осмотрите участок вновь. Из впадин спустите застоявшуюся воду. И как только почва достигнет физической спелости, то есть станет легко крошиться, ведите рыхление. На тяжелых почвах не обойтись без перекопки, однако лишь на половину осенней вспашки, чтобы не достать и не вывернуть уложенный с осени навоз. На легких почвах достаточно рыхления тяпкой на 10–12 см.


Ухаживая, защищай

Первая прополка междурядий картофеля через 5–7 дней после сева, когда сорняки еще не взошли, а находятся в фазе «белой ниточки», уничтожает до 80 процентов сорной растительности. Бороться с ее всходами гораздо труднее, так как корневая система сорняков уходит глубоко в землю.

Как только всходы картофеля достигнут в росте 5–8 см, почву вторично рыхлят, на этот раз слегка подокучивая растения.

По мере необходимости до смыкания рядов делают еще 2–3 обработки. При последней, перед смыканием ботвы, нужно высокое окучивание. Такая последовательность в уходе способствует формированию клубней в верхней части гребня. А это исключительно важно для урожая: в случае переувлажнения почвы они меньше пострадают от болезней, мало опасны им и механические повреждения при уборке.

На поле у картофеля нет врага опасней колорадского жука. Где он разведется, или весь урожай плакал или большая его часть. Этого вредителя уничтожают на посевных инсектицидами, биопрепаратами. На небольших участках не стоит пренебрегать и сбором вручную — в период выхода жука из зимовки до начала кладки яиц. Ради сохранения природы против этого вредителя лучше применять битоксибацилин, сухой порошок, следуя, разумеется, инструкции, прилагаемой к препарату.

Картофель часто подстерегает такая опаснейшая болезнь, как фитофтороз. Во второй половине вегетации на нижних листьях появляются бурые мокнущие пятна с белым пушистым налетом. Впоследствии развивается бурое гниение листьев. На стеблях проступают продолговатые бурые мокнущие пятна. На клубнях инфекция выходит в виде пятен буровато-серых и твердых, как бы вдавленных внутрь ткани. В прохладную и дождливую погоду с частыми росами и туманами болезнь наступает особенно активно.

Борьбу с заболеванием начинают в период вегетации посевов. Для этого существует большое число препаратов (фунгицидов). И все же наиболее доступными для населения остаются хлорокись меди и бордоская жидкость, пользование которыми должно быть строго по рекомендациям на упаковке. Многое дает в успешной борьбе с фитофторой срок первого опрыскивания. Обработка необходима до появления признаков заболевания на кусте. Для этого придется внимательно следить за погодой. Если во второй половине июня прохладно и влажно, начинайте опрыскивания, повторяя их через две недели, а при частых осадках и еженедельно. Инфекция фитофторы сохраняется как на растительных остатках, так и на семенных клубнях.

Кроме того, картофель поражает много других болезней, чьи бактерии тоже оседают, как правило, на клубнях. Поэтому обеззараживание (протравливание) семенного материала перед высевом в грунт служит хорошим профилактическим приемом.

В очагах, где вспыхивают нематода и рак картофеля, устанавливается карантин и действуют своим комплексом средств специалисты.


Уборка, закладка на хранение

Если вам удалось защитить картофель от фитофторы, ботва у него будет вегетировать на раннеспелых сортах до конца июля — начала августа, а на поздних — до первых ночных заморозков.

Незадолго до уборки обычно выкапывают на пробу группу кустов и смотрят, каков средний размер клубня, достаточно ли крепкая кожура для хранения, сколько в кусте больных картофелин, и ориентировочно определяют величину урожая. При благоприятных условиях восемь из десяти клубней будут среднего размера. Чтобы кожура стала крепче, ведь кусты продолжают расти, за неделю до предполагаемой уборки (в средней полосе 5—15 сентября) удаляют ботву. Наземную часть растений срезают серпом или косой на высоте 10–15 см от земли. К началу копки кожура должна держаться прочно и соскабливать ее приходится лишь с некоторым усилием. Вот если она сходит легко, тогда к уборке картофель еще не готов.

Копку желательно подгадать на теплую солнечную погоду. Клубни, отделенные от столонов, раскладывают на земле и подсушивают 3–4 часа. После этого картофель сортируют и ссыпают в емкости. Если сорт и репродукция вас удовлетворяют, можно одновременно отобрать из нового урожая семена. Самые крупные клубни и экземпляры с механическими повреждениями перерабатывают в первую очередь на фураж, крахмал. Если кусты оказались пораженными фитофторозом или другими бактериальными болезнями, картофель до закладки на хранение надо выдержать 7—10 дней, предохраняя от влаги и низких температур. А перед закладкой в хранилище предстоит еще раз перебрать на всякий случай, так как тут могут проявиться больные клубни.

Картофель надежно лежит в оборудованных подвалах с естественной вентиляцией. В насыпи клубней температура должна быть 3–5 градусов, а влажность воздуха в помещении — 85–95 процентов.

Длительное хранение картофеля при положительных температурах воздуха, близких к нулю, опасно. От холода происходит повреждение клубней, некротические изменения в их тканях и почернение, не говоря об ухудшении вкусовых и семенных качеств.

Если картофель находился при температуре ниже нуля недолго, в клубнях нарастает содержание сахара, они делаются сладковатыми. Но через 3–5 дней вкус будет прежним, стоит подержать картошку в комнатном тепле: за это время сахар снова перейдет в крахмал.

У большинства горожан подвалы отсутствуют. Умельцы приспосабливают для хранения картошки балконы, лоджии, неотапливаемые помещения. Фантазия породила всевозможные конструкции миниатюрных хранилищ — по достатку хозяина. Самые из расторопных заводчан пытаются поставить производство их на поток, правда, по ценам, как нынче водится, совершенно астрономическим. Но и у дорогого предмета все же ценятся его функциональные возможности. Что бы вы ни предпочли, важно иметь в виду, что клубень — живой организм, он достаточно выделяет тепла при дыхании, чтобы не снижалась температура в насыпи. Надо только изолировать картофель от наружного воздуха и при сильных морозах включать обогрев.

Обычно люди строят утепленные ящики с плотной крышкой и проводят туда электролампочку в 40 ватт. Дешево и сердито. Можно хранить картофель и в приспособленных ямках, укрытых буртах.

О том, что с хранением не все в порядке, вы поймете по неприятному запаху и повышенной температуре воздуха в насыпи. При этих признаках картофель немедленно переберите, удалив не только испортившиеся клубни, но и те, что были с ними по соседству.


В добавление к сказанному…

Растительные белки в картофельном клубне уступают по качеству лишь пшеничным да гречишным.

Целебные свойства картофеля открыты давно. Еще в XVII веке польские аптекари выращивали эту культуру для медицинских надобностей.

Пюре из картофеля входит в самую строгую диету. Например, для больных сахарным диабетом, при заболеваниях желудка. Часто врач в этих случаях назначает так называемое розовое пюре — картофельно-морковное.

Соком сырого картофеля в сочетании с другими средствами лечат язву желудка и двенадцатиперстной кишки при повышенной кислотности желудка.

В мировой практике получали клубни весом свыше 3 кг.

В Германии открыт памятник картофелю.

От неправильного хранения, тем более на свету, в клубне вблизи кожуры скапливается много соланина. Наша нервная система на него реагирует головной болью, тошнотой, расстройством пищеварения. Так что весной при очистке клубней надо снимать слой потолще обычного.

Издавна из клубней сортов с синей мякотью получали стойкую фиолетовую краску.

Если в подвал, где оставлен в зиму картофель, наведываются грызуны, надо принять против них решительные меры. Бывает иногда достаточным в ходы, в щели сунуть зубочки чеснока, некоторое время пролежавшие в керосине. Помогает также перечная или лесная дикая мята, полынь, сильный запах которых противен мышам и крысам. В прошлом веке крестьяне выдворяли их из амбаров и хранилищ нехитрой смесью. Одну часть жженого гипса соединяли с двумя частями муки. В желудке грызунов эта смесь разбухала, они гибли. Надо только, чтобы гипс был свежепережженным.

Другой вариант гипсового порошка — берут поровну по 400 частей гипса и пшеничной муки и 1 часть анисового масла. Действует отменно.

ОБИХАЖИВАЕМ ДОМ

Приглашение к празднику

Л.И.Герасимова


«Оставайтесь с нами»

На первый взгляд может показаться, что задача пишущего эти строки проста: приобщить к своей, праздничной «вере», побудить обратиться к этим страницам всякого, кто с заинтересованностью реагирует на слово «праздник». Но ведь мы даем себе отчет, что при сложившейся социальной ситуации (разрушенная экономика, безработица, имущественное расслоение населения) мотивы заинтересованности могут быть различными.

Сдается мне (счастлива буду, если все-таки ошибаюсь), что это понятие — праздник — надо вначале немного… реабилитировать. «Свить кокон обаяния» вокруг самого этого слова, так как многие относятся к идее устроить праздник посреди наших унылых будней откровенно скептически — как к пиру во время чумы (возможный вариант аргументации: «Какие тут празднования при нашей-то зарплате, да и ту задерживают»), задумываясь над тем, что именно в устройстве домашнего увеселения наш шанс на наполнение жизни особым, более одухотворенным смыслом.

Но даже если вас не надо агитировать и вы свято убеждены, что по тем или иным мотивам нужно организовать праздник, и если вы готовы получить конкретные инструкции, переписать все сценарные заготовки и рецепты, уясните, что прежде всего необходимо освоить в обязательном порядке вот эту вводную часть.

Во-первых, никто не собирается давать вам вырванную из цельного контекста рецептуру, предназначенную для механического переписывания и воспроизведения. Нет-нет, не беспокойтесь, практические рекомендации вы в конечном итоге тоже получите. Но задача этой статьи шире и основательнее, чем вы можете подумать в начале.

Есть подозрение, что найдется немало любителей и охотников выводить происхождение слова праздник исключительно из понятия «праздность» — дескать, в ничегонеделанье, в отдохновении от трудов единственное отличие от будничного времяпрепровождения. На самом деле необходимо действительно научиться праздновать, научиться извлекать из своей души при помощи различных хитрых и нехитрых рецептов особое настроение — приподнятое, воодушевленное, состояние возвышенной восприимчивости, обостренной чувствительности к радости и веселью, для достижения которого, вне всякого сомнения, люди и придумали праздники.

Подлинная праздничная приподнятость требует предварительных душевных затрат. Ничего не сладится, если предощущение праздника не будет замешано на принципе: «Труд может быть подневольным, но игра должна быть свободна» (поблагодарим за знакомство с этой формулировкой кандидата филологических наук В.Я.Бахмутского). Этот внутренний труд во имя раскрепощения и свободного сотворения праздничного действа, для обретения легкого дыхания полнокровной жизни и есть главный двигатель всей затеи. Только с таким настроем мы и сможем запустить праздничный волчок — те физические и моральные силы, которые помогут нам сладить торжество.

Примечание по ходу: с этим посылом можно нацеливаться и на профессиональное проведение банкетов — алгоритм, выведенный в этих заметках, годится и для затей любого клуба, и для изысков массовиков-затейников.

Наша конечная задача — не РАЗВЛЕЧЬ, а ВОВЛЕЧЬ в праздник, в сотворение его. Не заманить прыгать в мешке наперегонки, а попытаться затронуть те творческие струнки души, которые помогут каждому разбудить, расшевелить в себе резвящуюся обезьяну или царицу бала (каждому на личное усмотрение).

И еще один принцип, избираемый нами: создание праздника среди потока повседневной жизни из подручных, а не специально привлекаемых средств.

Бессмысленно сегодня предлагать большинству людей праздник, который требует переключения в другой жизненный регистр, если у вас нет возможности частенько устраивать вечеринки. Но изредка можно позволить себе и бал, то есть широкое праздненство, требующее затрат. Подобно тому как Золушка тоже выезжала на бал, а не довольствовалась только вечеринками на кухне в кругу знакомого чайника и родного самовара.

Если вы правильно усвоите лежащие в основе этих рекомендаций методологические принципы, то сами будете не столько пользоваться готовыми сценариями, сколько создавать те или иные — по сути и духу оригинальные — праздники. «Оставайтесь с нами», как к месту и не к месту говорят в средствах массовой информации, если праздник для вас — это не разовое мероприятие, позволяющее снискать похвалы окружающих и засчитать очки вашему мелкому тщеславию. Не показуха при внутренней пустоте, не «шоу» для сторонних зрителей. Это — особое состояние души, целая школа жизнестроения, определенный принцип отношения к бытию, эмоциональный резервуар, помогающий генерировать бодрость и энергию.


Что такое праздничный настрой?

Прежде чем вступить в «кухню» сотворения праздничного действа, сошлемся на авторитетучения ведической кулинарии. Она тоже трактует, что прежде всего необходим соответствующий настрой. Это ведь именно целое учение, потому-то всем кулинарным описаниям предшествует рекомендация — отринуть все суетное, наносное и только в таком состоянии после внутренней подготовки бросать специи в кипящее масло.

Итак, мы уже можем вывести подкрепленный авторитетами ПРАКТИЧЕСКИЙ СОВЕТ: помните, что приближение праздника — активный волевой процесс. Его надо возжаждать всеми силами души.

Не просто покорно влачиться навстречу запланированной дате, как повинности (сын позвал вечером на день рождения весь класс и соседний двор впридачу; начальнику мужа непременно надо показать непринужденность домашней обстановки и семейное единомыслие и т. д.). Нужно ощутить настоятельную, неотложную потребность праздничной перебивки обыденного течения дел.

«Разжечь» себя можно по-разному. Нужно чутко прислушиваться к себе. Кто-то ощущает праздничный настрой от одного только звона хрустальной посуды, вынимаемой из буфета. У кого-то немедленная жажда действия появится от того, что вы обведете критическим взглядом давно не метеные углы, отбитую чашку в раковине — и немедленно броситесь к телефону, чтобы позвать на вечер гостей и некуда было отступать. Это совершенно неважно для конечного результата. А вы помните, разумеется, в чем наша конечная цель: достижение того самого состояния волшебной легкости, которое мы и называем праздником!

Мы должны давать себе трезвый отчет, что есть одна существенная материальная и социальная помеха нашему «праздникообучению». Хитрость западного мира, пришедшая к нам на волне рыночной перестройки, — заполнение быта морально устаревшими, масскультными (то есть рассчитанными на массовое, безликое, стандартизированное потребление), однако технологически вполне добротными моделями. Все эти Барби и турецкие платья массовых серий способствуют подоблению человека винтику, не большему, чем во времена «Москвошвей» и кооперативов с Малой Арнаутской. При таком положении дел уникальное, нетиражированное — удел богатых. Такой вывод приносит с собой пассивное, механическое подчинение стандартам цивилизации.

Им не следует бездумно поддаваться и в то же время бесполезно и сопротивляться. Но мы считаем важным обратить ваше внимание на одну особенность XX века: несовпадение цивилизации и культуры. Уметь пользоваться холодильником или моющим пылесосом — это не значит быть одухотворенным, культурно развитым человеком. Мы будем исходить из приоритета культуры над цивилизацией, отдавая, тем не менее, последней должное. Ведь именно одним из проявлений культуры является та душевная грация, тот «эмоциональный витамин», который вырабатывается в умении радушно, хлебосольно, с «изюминкой» принять гостей, отметить то или иное семейное событие.


Принцип «невесты военного времени»

Очередная назревшая ПРАКТИЧЕСКАЯ РЕКОМЕНДАЦИЯ. Наш девиз: даешь праздник, не только не отрываясь от беличьего колеса привычного уклада жизни, но и малыми материальными затратами. Малое количество израсходованных материальных средств — это принцип поэтики праздника, его эстетики и энергетики, то есть главная составляющая его художественного образа.

Итак, не испугаемся, что «театр» нашего праздничного действа, как и подлинный театр, может быть аскетическим по сравнению с оснащением ночного клуба или казино в Монте-Карло, но отнюдь не бедным эмоционально.

Однажды я видела приложение к семейному журналу за 1914 или 15-й года. В приложении этом давались выкройки дамских платьев. Ситуация первой мировой войны накладывалась на модное тогда в искусстве течение «модерн» с его культом утонченной и изнеженной женщины. Стиль мужеподобной феминистки, комсомольской богини появился позднее. Журнал, который попался мне, на ходу приспосабливался к запросам сурового времени: предлагались, в частности, модели скромных подвенечных платьев невест военного времени в понимании тех лет. Они поразили меня слишком обильным декором, но главное — я навсегда запомнила ту деликатность, с которой журнал напоминал о неотъемлемом праве человека на такие жизненные проявления, как свадьба, например, или желание женщины выглядеть принцессой даже когда грохочут пушки. Сумятица и скудость современной жизни тоже не должны лишать нас права быть «невестой», пусть и с учетом своего «военного времени».

Задача этих заметок — не только дать инструкции, но и зарядить читателя энергетически. Однако позволим себе думать, что наша «зарядка» производится куда с меньшей претензией, чем это бывает у иных доморощенных целителей. Импульс, который должен возникнуть по прочтении этого «трактата», во многом должен опираться на ясное осознание задачи — создание атмосферы приподнятости, праздничности посреди будней и в домашних условиях, вроде бы для этого не приспособленных. В душе человека и его организме все взаимосвязано, и даже мытье полов перед праздником или запах пирога, прилаживание кружевного воротничка перед маскарадом — этот набор ритуальных действии и жестов уже возбуждает кураж. И чем чаще вы устраиваете дружеские посиделки, тем больше надежды быстрее и успешнее настроиться на волну веселья и радостной приподнятости. Эту закономерность прекрасно ощущают женщины, в обычае которых — периодически «делать лицо», т. е. накладывать косметику. Когда проводишь пуховкой по щекам или кисточкой по уголку глаза, то с каждый движением как бы физически ощутимо вливаешь в себя образ «очаровашки», «душки» или на худой конец «неотразимой женщины». Эта же закономерность известна артистам, которых собирает, настраивает на «жизнь в образе» гримирование за своим театральным столиком, запах кулис, шум зрительного зала — обряды, сопровождающие процесс сотворения праздника, которым является и театральное действо, и домашнее «представление» маленького семейного торжества.

Еще раз подчеркнем, что состояние творчества питается из единого энергетического котла, в каком бы жанровом регистре оно ни располагалось. Принципы жизни по законам творчества едины и в большом, и в малом.


Праздник начинается

Очевидно, что, как театр начинается с вешалки, так и праздничные приготовления должны прежде всего коснуться убранства вашего жилища.

Если у вас при настрое затеять веселье нет-таки сил на генеральную уборку, учтите: чтобы создалось ощущение прибранности и уюта в доме в первую очередь должны быть вымыты окна, плафоны ламп и зеркала. Лучше всего на скорую руку пользоваться аэрозолями «Миг», «Секунда», если позволяют средства — импортными препаратами. Можно стеклянные поверхности протереть «Нитхинолом», который тоже продается в хозяйственных магазинах, водой с нашатырным спиртом, а на худой конец просто сухой чистой тряпочкой. Но обязательно смахнуть пыль и вернуть хотя бы отчасти глянец слегка затуманившимся отражающим поверхностям.

Их блеск создаст ощущение прибранности и свежести в доме.

В идеале лучше, когда каждая вещь или группа однородных вещей имеют свое постоянное место в доме. Тогда значительно упрощается сам процесс уборки: нужно только разложить каждую попадающуюся под руку вещь на определенное для нее место.

И при разбросанных, и при собранных вещах желательно, чтобы, кроме протертых стекол, в доме был вымыт или хотя бы протерт пол. Это тоже сразу же создаст ощущение уюта и ухоженности. А чистота пола или натертый паркет придадут вашей разбросанности вещей статус художественного беспорядка.

Некоторые считают, что надо прежде всего подготовить застолье. Традиции нашего народа и обеднение сценария бытовых привычек привели к тому, что многие за праздник принимают именно сплошное застолье, и отнюдь не в грузинском духе, где хотя бы еще говорят пышные тосты. Традиция перманентного многочасового поглощения праздничной пищи понятна и оправданна в нашем климате — суровом и требующем постоянного пополнения энергетических затрат, чаше всего расходуемых на превозмогание холода На фоне скудности жизни последних лет тяга к этой традиции тем более объяснима. Но надо ее все-таки развить и обогатить. Нельзя думать, что объедание и обильное возлияние, тянущееся несколько часов, — это и есть однозначный синоним празднования. Будем немного «западниками» в том смысле, что отведем немного более скромное место трапезе в сценарии празднования (однако ни в коем случае не откажемся от этой идеи совсем).

Придать законченный облик праздничному убранству вашего жилища поможет какая-нибудь бросающаяся в глаза деталь, не входящая в привычный и обыденный обиход. Это может быть букет цветов — хотя бы полевых, охапка осенних листьев, веточки с распускающимися весенними почками, декоративная композиция из сухих веток или один крупный садовый цветок.

Праздничным, необычным акцентом может стать и какая-нибудь старинная ваза, задвинутая прежде на дальнюю полку буфета, но теперь извлеченная, вымытая и водворенная на видное место.

Очень миленький вид могут придать яркие сувениры, которыми завалены наши киоски, прилавки, — игрушки или сладости в ярких пестрых обертках, положенные около прибора каждому гостю. Для украшения в дело пойдут и шарики, и фонарики, и серпантин, и гирлянды. Принцип применения таков: либо одна, но выразительная деталь, либо, если вы избираете пестрый ворох, то тогда уж побольше и попестрее!

А можно решить убранство в каком-нибудь экзотическом или озорном ключе — соорудить причудливую занавеску, драпировки, да хоть скатерть-самобранку!.. Помните — вы хозяин торжества и волшебства, вы задаете правила игры, и настаивать на них в день праздника вам разрешается с веселой и озорной напористостью!


Вы — хозяйка торжества

Хозяйке положено выглядеть чуть скромнее своих гостей, но не стоит следовать этому принципу в такой мере, чтобы вас приняли ненароком за приходящий обслуживающий персонал. Идя в гости и принимая гостей, тоже прежде всего найдите время и силы для наведения чистоты: просто хорошо вымытые волосы порадуют наведенные на вас взоры не меньше, чем модная укладка.

Что касается времени для макияжа, то по многочисленным наблюдениям десятиминутная маска из ложки муки, смешанной с одним взбитым желтком (маска «по-голливудски»), освежит ваше лицо и придаст куда больше привлекательности, чем густо накладываемый на утомленное лицо грим. Никакое изящество нарисованных линий не рассеет общее впечатление усталости, не затенит круги под глазами и землистый цвет лица. Это нелегко нейтрализовать румянами, к которым вы прибегнете, если только не задались целью оставить о себе впечатление «женщины-вампа» (тогда вам будет необходима «интересная бледность»),

И еще одно методическое замечание: общеизвестно, что грим вечерний, предназначенный для искусственного освещения, может быть более ярким.

Чтобы выглядеть хорошо в целом, уверенно себя чувствовать в любой обстановке, содержите в порядке., обувь — следите за ней тщательно. Ничто не может испортить впечатление больше, чем грязь или пыль на туфлях, как бы изысканно вы ни были при этом одеты. Недаром же французы, по общему признанию, знающие толк в искусстве внешнего лоска, говорят: «Если вы обуты, то вы уже и одеты».

Хорошо подобранная обувь — это вопрос не только эстетики и престижа, но и здорового самочувствия, удобства, хорошей физической формы. Если есть возможность, не пожалейте денег на качественную и дорогую модель. В связи с этим не лишне напомнить, что импортные изготовители технологически точно нацелены на рынок и проводили очень тщательные антропометрические исследования потенциальных потребителей. Они установили, что в южных, средиземноморских странах стопа у женщин уже, чем на севере (в наших широтах, естественно, тоже). Поэтому если у вас узкая нога, то лучше ориентироваться на модели португальские, итальянские, испанские. А если наоборот, то предпочтение лучше отдать скандинавским и германским фирмам. Не стоит также без внимания оставлять чешскую обувь, традиционно ориентированную на наш рынок.

Для того чтобы вы имели подтянутый вид, ваша одежда должна прежде всего хорошо сидеть, а для этого должна быть хорошо скроена. Даже самый фешенебельный костюм «от Диора» не создаст вам выгодного внешнего впечатления, если сидит мешковато, как с чужого плеча. Если у вас нет новой одежды, а хочется, естественно, чего-нибудь свеженького, примените испытанное средство — обновите свой костюм в деталях. Для мужчины это может быть платок в кармашке пиджака. Новый галстук, даже если он от Версаче, все равно потребует меньших затрат, чем если бы вы позволили себе костюмную тройку той же фирмы.

Женщине еще легче создать ощущение новизны своего облика: чуть более яркая, чем обычно, губная помада, брошка, воротничок или кашне… Может выручить романтическая блуза, трансформированная из обычной мужской сорочки, — пришейте пуговицы «под жемчуг», тесьму по воротнику и кокетке — вот уже ощущение отступления от монотонного порядка будней создано!


Выдержанность стиля

Беспроигрышным в одежде будет тон и стиль изящной простоты. Но если столь гарантированная стабильность и гарантированная возможность не ударить в грязь лицом кажется вам немного будничной, больше уместной для службы, то можно удариться в авангард — озорной, а не агрессивный и устрашающий — никаких этих черных косынок с черепами, уместных для подростков! Но важно и здесь в такой же мере, как и во всем, соблюдать единство стиля. Не думаю, что для торжественного, праздничного случая очень подойдут кроссовки, но все же вы должны помнить, что главное — это соблюдение стиля, и если вы соблюли таковой, пусть он даже навеян образом беженца или хиппи, вы все равно можете гордо держать голову — это преимущество законченности облика, выдержанного в едином ключе.

Вообще в деле создания внешнего образа не худо помнить два возможных понимания красоты и внешней привлекательности. Согласно первому красота — это соответствие сложившимся веками или выдвинутым последней модой эстетическим канонам. Второе понимание красоты — умение нравиться. Именно оно принято за основу в создании так называемого имиджа многих эстрадных звезд. Но на эстраде этим часто злоупотребляют, а нам важно выбрать то, что ближе и что легче достигается при наших скромных возможностях.

Думается, что второй принцип легче соблюсти, если идешь в компанию людей, где тебя знают и любят (присутствие одной-двух «заклятых» подруг, всегда готовых ввернуть вам пару-другую «шпилек», не должно омрачать вашу безмятежность и готовность к радостному настрою — ведь не портит вкус кушанья уксус, использованный в приправе).

Можно выбрать и установку на как можно более полное соответствие высоким эстетическим канонам, но вначале взвесьте, способны ли вы тягаться с возможностями шоу-звезд, не напомнит ли это состязание Эллочки-Людоедки с дочкой Вандербильда?

Чтобы справиться с проблемой «одетости», можно пойти и на многие другие художественные хитрости. Одной из таких может стать получившая сейчас заметное распространение лоскутная техника. Исходное сырье для нее может найтись в любых, даже самых скромных по достатку домах. Дешевизна и «небюджетность» применяемого материала — лоскутки, которые все равно пошли бы в корзину, — окупается практически неисчерпаемыми возможностями палитры. Можно подбирать самые изысканные и тонкие пастельные сочетания, а можно — более броские.

Но еще одно из нестандартных художественных решений — трактовка вечеринки в стиле милого, исконного для нашего уклада и жизненной традиции ситцевого бала. Ситец при всех режимах стоит все-таки меньше, чем туалеты от Диора или даже корейское букле и турецкий гипюр. Другое дело, что из-за кризиса нашей легкой промышленности стали редкостью прекрасные ивановские ситцы с их разнообразнейшими и самобытными набойками. Если бы эта отрасль легпрома возродилась, то ваша затея с ситцевым балом была бы лишена последних признаков и оттенков стиля «голь на выдумки хитра».

Наконец, богатые возможности широты и раздолья даже при наготе и безденежье дает устройство карнавала. Когда совершенно нет возможности ничего купить, то надо костюмироваться! Тогда-то и пойдут в ход любые средства: старые шляпы, дедушкина пижама, кусок пакли…

Карнавал — вообще наиболее универсальный вид празднования. На Руси с древнейших времен были в чести ряженья и колядования, а также новогодние костюмированные балы. Но чтобы вас не смущала сезонная привязка, вспомните традиции венецианского карнавала, связанного с негой Средиземноморья, жаркие бразильские, кубинские празднества. Поэтому в любое время года можно устраивать переодевания по любому поводу.

Примеры наиболее простых способов ряженья дает, как всегда, родная классическая литература. Вспомним страницы «Войны и мира» — поездку семьи Ростовых к соседям. Этот вид забавы именно и был домашним, семейным увеселением. Наташа заимствовала гусарский мундир Николеньки, Соня рисовала усы черкеса жженой пробкой… Настоятельно советую импровизировать по этому способу: ручаюсь, что получится и суматошно, и весело!

Можно также обрести неиссякаемый кладезь карнавальных чудес в гофрированной цветной бумаге, которая наверняка имеется в арсенале любого дома, где есть школьники. Простейшая полумаска заиграет по-новому, если вы приклеите к разрезу ее глаз ресницы, а по нижней линии «очков» — небольшую занавесочку типа вуали из старого тюля, кружев, любой сетчатой ткани. Из нескольких слоев гофрированной бумаги, скрепленной по серединной линии хотя бы просто скрепками, нарезав края на манер лапши, можно соорудить горжетку Эллочки-Людоедки (помните знаменитых шанхайских барсов?), парик Мальвины, «страусовые» перья. Можно одеться нечистью: лешим, чертом, бабой-ягой (вот на что может сгодиться и пакля) — словом, нет предела возможностям карнавала. А веселье от переодевания (это уже испытано и проверено многими) необыкновенно возрастает. Видимо, есть какой-то секрет человеческой психики (кстати, используемый психологами и врачами): действуя в чужом образе, человек может раскрыться в своих возможностях полнее и щедрее, чем от своего лица и в привычной обстановке.

Мы заострили внимание первоначально на нескольких основополагающих принципах организации праздника, а не стали, например, в первую голову приводить сценарии и разработки для воспроизведения громоздких конкретных увеселений. Все потому, что самое главное — создание приподнятой, праздничной атмосферы. Нужно занять гостей да и самим заразиться и не подавить инициативу друг друга. Добросовестное следование расписанному в книжке порядку чередования затей и сюрпризов может зачастую выветрить то самое теплое и волнительное, по чему и запоминается ощущение праздника. Даже стройный ритуал великосветского бала вмещал в себя нечто не подвластное чопорности и строгости, что продиктовало искрящейся музе Пушкина строки:

Люблю я бешеную младость,
И тесноту, и блеск, и радость…
Вот и мы условимся не «заорганизовать» праздник, не сковывать импровизационное его течение и встречные импульсы гостей и хозяев, разбуженные, надеемся, нашими заметками.

Помните: праздник в том понимании, к какому стремимся мы, нацелен не развлечь, а вовлечь. Наша муза — покровительница искусства, а не эстрадно-развлекательного шоу.

И еще одно важно: никому не придет в голову измерять художественную состоятельность картины, воздействие того образа, который создал художник, литрами израсходованных на нее красок и метрами холста. Низкое качество клеевых пигментов, которыми пользовался в первые годы после революции Петров-Водкин, — настоящее бедствие для реставраторов. Но плохие краски — это не вопрос художественного достоинства знаменитых картин.

Так и в основе нашего критерия праздничности лежит принцип, родственный принципу художественного творчества: все решает законченный образ целого.

(Окончание следует)

СДЕЛАЙСАМОВСКАЯ СМЕСЬ

Яичко — ко Христову дню

Н.Г Беляева


Глухой осенью, когда яиц в продаже все меньше и они поминутно дорожают, кто не досадует на себя за то, что сделал совсем скромный запас? В самом деле, далеко не всем ведомо, как можно хранить яйца свежими долгое время.

Существует несколько проверенных способов. В старых поваренных книгах даются такие советы.

Берете мелкую и совершенно сухую соль. Чтобы она не сырела, примешиваете десятую часть крахмала. Дно посуды, которая предназначена под яйца, застилаете этой смесью и на нее возможно плотнее располагаете яйца. Потом засыпаете солью все промежутки и заравниваете поверхность. Уложив подобным образом яйца рядами доверху, посуду закрываете и ставите в сухое место.

По-другому яйца можно сберечь с помощью вазелина. Смазывайте ладони и натирайте яйца. Воспользуйтесь магазинными картонными ячейками, в которых обычно возят яйца, и подержите в них намазанные вазелином экземпляры несколько дней. За это время с яиц сойдет маслянистый блеск, они сделаются совершенно матовыми. Повторите операцию с вазелином и сложите яйца на хранение в ящик. Вазелин удобен тем, что не горкнет и не придает яйцам неприятного вкуса.

Очень долго пролежат без порчи яйца, обработанные салициловой кислотой. Разотрите кислоту в небольшом количестве воды до густой массы и залейте кашицу водой довольно обильно, но не до полного растворения кислоты. Яйца погружают в такую воду на полчаса, высушивают на воздухе без обтирания и хранят в холодном месте.

Можно сухие яйца на один миг обмакнуть в растопленный парафин, выложить на бумагу, дать парафину застыть и убрать их в ящик, каждый ряд отделив сухими древесными опилками. Упаковку выносят в холодное помещение, но не на мороз.

Чтобы при хранении яйца не усыхали, их раза два в месяц переворачивают верхней частью вниз.

Таким образом яйца остаются свежими около года. Так что у вас всегда найдется яичко ко Христову дню.

Затяжка для бельевых веревок

В.В.Терехов


Провисшие веревки не только портят внешний вид балкона, но и создают некоторые трудности при развешивании белья. Избавить себя от необходимости периодического завязывания и развязывания узлов можно с помощью несложной затяжки, изготовленной из алюминиевой полоски. Отверстия желательно делать в 1,2–1,3 раза больше диаметра веревки. Защитить белье от соприкосновения с металлом можно, надев на затяжку (до крепления правого по рисунку конца веревки) кусочек кембрика или трубочки, сшитой из синтетической ткани.



Рис. 1. Затяжка для бельевых веревок

Еще раз об универсальной струбцине

В журнале «Сделай сам» № 1 за 1995 г. была описана универсальная струбцина. Однако не всегда под рукой есть уголок, дрель, болты, шпильки и др., а сжать детали необходимо. Для изготовления нового варианта струбцины вам понадобятся обрезки доски (бруска, кругляка) и веревка, а из инструмента — пила и нож. Отрежьте необходимые вам по размеру куски доски (бруска, кругляка) для «губок» струбцины и стопорного бруска, зажмите детали и застопорите закрутку стопорной рейкой. Для облегчения работы «закрутки» вставить в веревочное кольцо отрезок трубы подходящего диаметра.



Рис. 1. Струбцина:

1 — сжигаемые детали; 2 — «губки» струбцины; 3 — стопорный брусок; 4 — веревочное кольцо; 5 — «закрутка»; 6 — стопорная рейка; 7 — трубка

Как облегчить работу домашнего холодильника в жару

В.И. Ильин


Ниже будет предложена мера, позволяющая облегчить работу домашнего холодильника в жару и предотвратить его отказ в связи с повышенной нагрузкой. Но до этого необходимо, чтобы холодильник не имел дефектов, снижающих его работоспособность — это слой пыли на конденсаторе, кожухе мотор-компрессора, что затрудняет отдачу тепла от холодильного агрегата в воздух и в результате производительность холодильника падает, в компрессоре повышается давление, то есть имеет место более тяжелый режим работы. Пыль надо удалять с этих узлов кистью, щеткой раз в полугодие, а также перед жарой. Конденсатор следует устанавливать не менее чем в 5 см от стены для хорошей циркуляции воздуха. Холодильник не должен нагреваться от плиты, отопительной батареи, прямых солнечных лучей в жаркую погоду (надо загородить занавеской и т. п.). Кроме того, надо проверить и устранить неплотное прилегание дверцы к шкафу и наличие щелей между корпусом холодильника и резиновой прокладкой, так как иначе будет натекание теплого воздуха помещения в камеру холодильника и его надо охлаждать за счет дополнительной работы агрегата. Проверить плотность прилегания можно при помощи бумажной полоски шириной 5 см (от обложки школьной тетради или подобной, не очень тонкой), которая постепенно зажимается закрываемой дверцей по всему ее периметру, то есть закладываем полоску под уплотнитель, закрываем дверцу и пытаемся вытащить эту полоску; она должна вытаскиваться с небольшим усилием, то есть должен ощущаться небольшой равномерный нажим дверцы по всему периметру. Нажим можно отрегулировать при помощи установочных винтов дверцы, нижнего и верхнего. Если щели все же останутся (или сильно неплотное прилегание уплотнителя), то надо под уплотнитель подложить полоску тонкого картона, наклеить полоску резины от велосипедной камеры (клеем «Момент»), зачистив склеиваемые места шкуркой и протерев бензином или спиртом. Если щель большая, то по ее конфигурации надо из дерева или пластмассы сделать вставку и приклеить ее к корпусу холодильника (при невозможности заменить прокладку). Если после устранения указанных дефектов мотор-компрессор работает без отключений, что говорит о его перегрузке, надо сзади холодильника установить небольшой вентилятор на 20–40 W и направить струю воздуха от него снизу вверх так, чтобы она обдувала кожух мотор-компрессора и конденсатор. Для более эффективного охлаждения желательно с краев конденсатора поставить две полосы (из картона, металла, линолеума), чтобы поток воздуха не уходил без пользы в стороны. Мотор надо подключить к сети через плавкий предохранитель на 1–2–3 А (от телевизора) — это мера безопасности от аварийной ситуации.

Холодильник желательно также включать через дополнительный плавкий предохранитель — осветительную пробку на 6-10 А. Ставить две автоматические пробки нельзя, так как известны случаи их несрабатывания (заедания). Мероприятие это недорогое, но оно может предотвратить большую беду (случаи возгорания холодильников известны из-за несрабатывания существующей защиты).

После оттаивания включенный холодильник работает в тяжелом режиме, пока не охладится Надо обдувать конденсатор и компрессор вентилятором. Продукты при оттаивании холодильника надо укладывать в ящик и не давать им нагреваться, так как иначе их потом вновь придется охлаждать.

При продолжительной работе холодильника в штепсельной розетке ослабевают контакты, винты и гайки, крепящие провода, что приводит к нагреву розетки и искрению. Необходимо, выключив ток, в розетке подтянуть винты или гайки. Если контакты в розетке подгорели, надо их зачистить шкуркой, свернув ее трубочкой, или надфилем. Контакты должны с усилием обжимать штырек вилки.

Необходимо также проверить штепсельную вилку, так как у нее часто ослабевают крепящие провода, винты, гайки. Их надо подтянуть. Штырьки вилки зачистить мелкой шкуркой для хорошего контакта.

Настенные часы — на свой вкус

С.П.Маряхин


В настоящее время выбор настенных часов в магазинах большой, но то габариты не те, то цвет циферблата не тот, то стрелки не той конфигурации и т. д. Однако вполне доступно изготовление настенных часов на свое усмотрение.

Основные части часов — корпус и часовой механизм. Корпус состоит из кольца 9 и циферблата 8. Кольцо можно подобрать промышленное из металлоотходов, либо из тары для различных продуктов, имеющей форму кольца, очищенного от грязи и коррозии. Циферблат изготовлен из алюминиевого листа толщиной 0,6–0,8 мм, диаметром равным диаметру кольца.

Вставить циферблат в кольцо и на сопрягаемые поверхности изнутри нанести эпоксидный клей и дать высохнуть (рис. 1).



Рис. 1


Из алюминиевого уголка 15x15 изготовить кронштейн 10 с отверстием для навешивания на шуруп или гвоздь. Приклеить кронштейн к кольцу эпоксидным клеем.

Найти на циферблате центр окружности, закернить и просверлить отверстие диаметром 6 мм. Покрасить циферблат краской, подобрав нужный колер.

Корпус оклеить пленкой или бумагой с текстурой под дерево.

Пятачки 6 из алюминия диаметром 25 мм приобретены в магазине для умельцев, окрашены в белый цвет. При помощи переводных картинок, приобретенных в магазине культтоваров, на пятачки переведены цифры от 1 до 12. Пятачки 5 изготовлены из пластмассовых флаконов из-под шампуня и кетчупа белого и красного цветов, при помощи дырокола, предварительно разрезав их на части.

По периметру циферблата наклеить пятачки 5 (минуты) равномерно по окружности. Пятачки, которые будут находиться напротив пятачков 6 (часы) красного цвета, остальные — белого. Напротив красных пятачков 5 наклеить пятачки 6 с цифрами по порядку от 1 до 12. Наклеивание пятачков произвести так, чтобы кронштейн 10 находился вверху, напротив пятачка с цифрой 12. Часовой механизм от кварцевого будильника «СЛАБА». Для его извлечения отвернуть два винта на задней крышке, снять ее, ободок и стекло, стрелки и циферблат. Высоту крышки уменьшить на 10 мм от края.

Приклеить часовой механизм 11 с внутренней стороны циферблата 8 при помощи эпоксидного клея (рис. 2). После высыхания установить заднюю крышку часового механизма на два винта.



Рис. 2


Секундную стрелку 1 (рис. 4) изготовить из пластмассового флакона из-под кетчупа красного цвета так, чтобы центр тяжести находился в месте установки ее на секундную ось часового механизма.



Рис. 4


Часовую 2 и минутную 3 стрелки (рис. 3) вырезать из плотного картона и обтянуть тисненой фольгой.



Рис. 3


Для этого подойдут фольга желтого или белого цветов от сигарет или шоколада. Сделать отверстия для вала часового механизма в обеих стрелках. На изготовленные стрелки с тыльной стороны наклеить стрелки от будильника, совместив отверстия. Установить изготовленные стрелки на оси часового механизма. Из оргстекла толщиной 2–3 мм вырезать круг, по диаметру равный корпусу, для стекла циферблата 7.

Из плотного картона изготовить обод (рис. 5) и обтянуть его тисненой фольгой. Наклеить обод на стекло циферблата. В трех-четырех местах на корпусе нанести клей, установить стекло циферблата с ободом, дать высохнуть.



Рис. 5


Вставить в часовой механизм гальванический элемент, установить текущее время, часы готовы.

При изготовлении часов оформление и дизайн возможны на любой вкус, использование ярких и красочных материалов придаст часам выразительность. Немного фантазии, и можно изготовить часы на подставке.

Антивибрационное устройство для ударного ручного инструмента

С.Я.Черенков


Производственный опыт показывает, что травмы рук с тяжелыми последствиями чаще всего наблюдаются у специалистов, длительное время использующих ручной инструмент ударного действия. Причем травмируются не только малоопытные, но и специалисты с большим стажем работы в этой области. Профилактические меры по снижению травматизма практически не дают должного эффекта. Это приводит к мысли, что дело не столько в специалистах, использующих инструменты ударного действия, сколько в самих инструментах. Отсюда напрашивается вывод: инструмент должен отвечать условиям безопасности при его применении, то есть быть таким, что даже ошибка оператора не приводила бы к травматическим последствиям. Поэтому наиболее целесообразное решение проблемы — это усовершенствование инструмента с целью исключить травмирование рук от вибрационного воздействия при обработке твердых поверхностей. Таким усовершенствованием можно считать предлагаемое антивибрационное устройство ручного инструмента ударного действия (рис. 1; 4, поз. I). Оно полностью исключает воздействие вибрационных нагрузок на руку оператора и делает процесс проведения работ наиболее безопасным.



Рис. 1. Антивибрационное устройство для ударного ручного инструмента:

1 — стержень; 2 — пенек-упор; 3 — трубка-держатель; 4 — буферное резиновое кольцо; 5 — буферный резиновый манжет; 6 — резьбовое гнездо; 7 — шайба; 8 — продольный паз; 9 — винт.


Конструкция антивибрационного устройства представляет собой трубку-держатель, ограниченную с торцов резиновыми буферными кольцами и манжетами. В трубке-держателе расположен стержень с резьбовым гнездом для пристыковки сменных ударных элементов, например, зубила (рис. 2, 3, 4, поз. II), и пеньком-упором.



Рис. 2. Антивибрационное устройство в сборе:

1 — стержень; 2 — пенек-упор; 3 — трубка-держатель; 4 — буферное резиновое кольцо; 5 — буферный резиновый манжет; 6 — сменное зубило; 7 — резьбовой хвостовик; 8 — режущая часть; 9 — уступ под ключ; 10 — шайба; 11 — продольный паз; 12 — винт.



Рис 3. Сменный ударный элемент (зубило):

1 — резьбовой хвостовик; 2 — режущая часть; 3 — уступ под ключ.


На поверхности стержня имеется продольный паз, по которому перемещается центрующая шпилька (винт), закрепленная на трубке-держателе. Благодаря этому исключается разворот стержня с пристыкованным сменным ударным элементом. Кроме того, стержень будет перемещаться относительно трубки-держателя в строго осевом направлении и реакция удара не будет восприниматься рукой, удерживающей трубку-держатель, так как энергия поступательно-возвратного движения стержня будет гаситься резиновыми кольцами и манжетами.

В зависимости от характера выполняемых работ к антивибрационному устройству могут пристыковываться помимо зубила и другие сменные ударные элементы: шлямбур, пробойник, чекан и др. (рис. 4, поз III), что делает его универсальным для этого вида работ.



Рис. 4. I — антивибрационное устройство для ударного ручного инструмента (общий вид); II — антивибрационное устройство с пристыкованным сменным элементом (зубилом); III — сменные элементы (а — шлямбур, б — пробойник, в — чекан)


Предлагаемая конструкция антивибрационного устройства отличается простотой исполнения и может быть с успехом изготовлена силами ее пользователя.

ДЛЯ БРАТЬЕВ МЕНЬШИХ

Уголок для хомячка

Н.И.Якушенко


В наше время чтобы прокормить собаку или кошку, требуются немалые средства. Лучший выход для людей, не мыслящих жизни своей без «меньших братьев», — это маленький непривередливый ручной хомячок (или целое хомячье семейство). Но во избежание проблем с содержанием ему необходим уютный уголок в вашем доме.

Легче всего сделать террариум для хомячка из старого непригодного уже каркасного аквариума. Можно протекающего, а можно и с побитыми стеклами.

Главное, чтобы в террариуме не было сырости. А для этого необходимо во всем дне или в части его (в зависимости от того, какого размера вы подберете поддон) просверлить отверстия диаметром около 0,5 см и с расстоянием между ними в углах 1,5–2 см, а в середине 3–4 см. Под дном аквариума к ножкам прикрепляем, с помощью шурупов, угловые планки из пластмассы или жести для выдвижного поддона. В качестве поддона можно использовать крышку от старой пластмассовой коробки или что-нибудь еще — из подручного материала. На переднем бортике поддона сделаем ручку из шайбочки и шурупа.

Хомячку необходимо также и хорошее освещение. Поэтому, как минимум, две стенки террариума должны быть стеклянными. Если стекло болтается, то его легче укрепить шурупчиком за край каркаса, чем мучиться с новой и неизвестно еще с качественной ли замазкой (тем более что в нашем случае герметичность вовсе и не требуется). Заднюю стенку делаем или фанерной, или из листовой пластмассы. К этой стенке будем крепить беговое колесо, так как хомячок без активного движения не может.

Беговое колесо паяем из любой имеющейся у вас крепкой проволоки. Сначала выгибаем два обруча диаметром по 20 см и соединяем их перекладинками длиной 6 см и с расстоянием между перекладинками в 1,5 см. В середине одного из обручей при помощи диагональных перекладин припаивается широкая втулка. В нее вставляется вторая — узкая втулка, которая и привинчивается с шайбочкой к задней стенке террариума. Остается еще только сделать удобную поилку для зверька. Берем для этого консервную банку из-под сгущенного молока или из-под тушенки и отрезаем дно с бортиком высотой около 3 см. Края закругляем, загибая срез.

Часто в специальной литературе встречаются советы, что для выращивания хомячат самкам требуются гнездовые домики. Но в таком случае невозможно будет наблюдать за развитием молодняка. Хочу сказать, что если самка не боится вас, а самца вы отсадили из ее жилища и дали ей достаточно материала для постройки и укладки гнездышка (бумага, порванная на полоски, и трава), то ваша питомица сможет спокойно вырастить свое потомство и на ваших глазах, не прячась.

Расскажу еще о забавном аттракционе, который развивает у хомячка не только физические, но и умственные способности. Им является маленький лабиринт. Собираем его на шурупах из листовой пластмассы, дерева или любого другого подходящего материала. Вырезаем основание размером 50x50 см, к нему пристыковываем бортики (50x8 см). Размечаем на основании 49 квадратиков (7x7 см) и, на каждом пересечении, просверливаем отверстие для шурупа. Далее вырезаем заготовки перегородок размером 10x8 см, 13x8 см, 6x8 см и 20x8 см по пять — десять штук… На большем торце заготовки также просверливаем отверстия для шурупов: на торце в 20 см — два отверстия с отступлением от краев по 6,5 см, а на других — одно отверстие посередине. Теперь остается только придумать схему размещения перегородок и временно прикрутить их. Затем, когда зверек привыкнет и будет проходить весь лабиринт, то можно будет заменить данную схему на другую, по-другому разместив перегородки.

Лабиринт лучше ставить в вертикальное положение, а не класть горизонтально, так как во втором случае хомячок принужден будет только бегать, тогда как в вертикальном ваш питомец имеет все возможности показать свои способности в оригинальной акробатике. Если пару длинных перегородок вы установите в лабиринте вертикально в виде колодца, то по крайней мере на одной из них необходимо прикрепить проволочные ступеньки, за которые он смог бы цепляться.

Также лабиринт можно расширить, сделав не одно, а два основания с бортиками. Соответственно, в каждом из них надо тогда вырезать по отверстию для прохода из одного лабиринта в другой. Разумеется, внешнюю сторону лабиринтовой коробки необходимо загородить чем-то прозрачным для наблюдения и чтоб зверек не убежал. Если у вас ничего подходящего нет, то удобно, на время занятий с хомячком, размещать лабиринтовые коробки между балконных дверей за стеклом на прикрепленных к двери любых подставках с прижимающей резинкой.

ОТВЕТ ПОЛУЧЕН!

О перемотке электродвигателей (и не только)

Вопрос:

Ю.В.Долгов, Новосибирск

Прошу рассказать, как перемотать якори бытовых электрических машин (электродрели, пылесоса, вентилятора и т. п.), а также трехфазного электродвигателя, асинхронного, мощностью до 1–3 кВт.


Ответ:

Е.В. Кубасов, г. Набережные Челны

О перемотке статоров асинхронных двигателей рассказано в № 2 журнала «Сделай сам» за 1995 год. Перемотка статоров трехфазных двигателей технологически ничем не отличается от перемотки однофазных асинхронных двигателей. Попутно заметим, что двигатели бытовых вентиляторов являются однофазными асинхронными. Якори этих машин никакой перемотке не подлежат, т. к. там просто нечего перематывать.

Перематывать можно якори коллекторных электродвигателей. По степени сложности перемотать якорь проще и удобнее, чем статор. Но самая главная проблема заключается не в перемотке, а в последующей балансировке. Якори коллекторных двигателей вращаются, как правило, с очень большой скоростью, 3000 об/мин и более. Поэтому малейший дисбаланс приводит в лучшем случае к сильной вибрации двигателя, в худшем — к разрушению якоря и подшипников.

В промышленных условиях для балансировки вращающихся деталей применяют специальные балансировочные станки, которые определяют в двух плоскостях, А-А и Б-Б, место и величину дисбалансирующего участка на теле якоря (рис. 1). По получении этих данных в нужном месте снимают (обычно высверливают) часть металла. Операция по выявлению более тяжелых участков проводится при вращающейся детали, т. е. в динамическом режиме.



Рис. 1


В любительских кустарных условиях динамическую балансировку не выполнить. Мы можем сделать только статическую балансировку с последующей проверкой правильности на работающем двигателе. Это связано с многократной сборкой-разборкой, но другого пути в домашних условиях нет.

Для статической балансировки якоря надо изготовить нехитрое приспособление, требующее тем не менее высокой точности при сборке.

Схематически это приспособление показано на рис. 1. На достаточно жестком основании 1закрепляют два стальных закаленных лезвия 2. Эти лезвия должны обладать хорошей прямолинейностью и высокой чистотой обработки. Лезвия устанавливают и закрепляют строго параллельно относительно друг друга. Очень хорошо подойдут для нашей цели поверочные лекальные линейки типа ЛД-125 первого или лучше нулевого класса точности. Размеры приспособления определяются размерами балансируемого ротора (якоря).

Перед работой приспособление устанавливаем на стол и с помощью трех регулировочных винтов 3 выставляем плоскость лезвий строго горизонтально, контролируя по хорошему слесарному уровню в двух перпендикулярных направлениях.

Балансируемый якорь 4 устанавливаем шейками вала на линейки и наблюдаем за его поведением. Если якорь имеет дисбаланс, то более тяжелая его часть займет нижнее положение. Шейки вала не должны иметь забоин, царапин, грязи и ржавчины. Балансировать будем не съемом лишнего металла, а припаиванием на один из торцов якоря кусочка припоя. Электротехническая сталь, из которой набран пакет якоря, паяется плохо. Поэтому паять надо с применением какого-либо активного флюса. Утяжелив припоем верхнюю часть якоря, снова проверяем балансировку. И так до тех пор, пока якорь не перестанет поворачиваться, какой бы стороной его ни клали на лезвия линеек.

Таким образом, мы сделали балансировку в статическом режиме. Вполне возможно (с вероятностью 50 %), что напайка сделана не на том торце якоря, где надо. Это покажет проверка в динамическом режиме. Для этого соберем двигатель и подадим на него напряжение. Сделать это лучше через ЛATP или другой прибор, позволяющий изменять напряжение от нуля до нормального. Тем самым мы проверим двигатель на вибрацию при разных оборотах якоря. Включив двигатель и держа его в руке (если его вес позволяет это), плавно повышаем напряжение, наблюдая за вибрацией. Хорошо сбалансированный якорь вращается плавно при любых оборотах. Если при достижении какого-то определенного числа оборотов двигатель начинает «трясти», значит, он вошел в механический резонанс из-за неправильной балансировки. Припаянные грузики надо перенести на противоположный торец якоря. Проделав эти операции несколько раз, можно добиться вполне хорошей сбалансированности якоря.

Ознакомившись с приемами балансировки, можно приступать к перемотке якоря. В нашей практике придется иметь дело с двигателем конкретной конструкции. Тем не менее неплохо иметь общее представление о разнообразии этой группы электрических машин. В быту коллекторные двигатели переменного тока применяются в электробритвах, пылесосах, кофемолках, электродрелях, в любительских кинопроекторах и т. д. Коллекторные двигатели постоянного тока — в электрифицированных игрушках, переносных магнитофонах. Целый ряд таких двигателей — от электростартера до омывателя лобовых стекол — в грузовых и легковых автомобилях. В настоящее время трудно найти квартиру или жилой дом, где бы ни применялись электродвигатели, в том числе коллекторные. Кроме этого, многие мастера-самодельщики применяют всевозможные двигатели мощностью от долей ватта до нескольких киловатт в своих конструкциях.

Коллекторные двигатели различаются по способу возбуждения (рис. 2).



Рис. 2


Здесь А и Б — двигатели с независимым возбуждением, причем А — с возбуждением от постоянных магнитов, Б — с возбуждением от источника UB, гальванически не связанного с источником рабочего напряжения Up. В, Г и Д — двигатели с зависимым возбуждением. В — последовательное соединение якоря и обмоток возбуждения, Г — параллельное, Д — смешанное, где одна обмотка соединена последовательно, вторая — параллельно якорю. Кроме этого, якори могут иметь разное число коллекторных пластин, полюсов и обмоток. Число коллекторных пластин бывает четным и нечетным. Конструкции и схемы обмоток тоже разнообразны. От всего этого зависят пусковые, тяговые и скоростные характеристики двигателей. Эти вопросы рассматривает специальный раздел электротехники — «Электропривод», наука достаточно сложная и интересная.

Для примера можно сказать, что микродвигатели большинства игрушек — с независимым возбуждением от постоянных магнитов, двигатели кофемолок — с последовательным возбуждением, пылесосов — с параллельным.

Следует заметить, что все коллекторные двигатели переменного тока прекрасно работают от постоянного, но двигатели с возбуждением от магнитов могут работать только от постоянного тока. Все двигатели можно реверсировать, т е. изменять направление вращения переключением обмоток.

Прежде чем разбирать двигатель, надо проверить легкость вращения якоря, отсутствие люфтов вала, прилегание щеток к коллектору. При длительной эксплуатации смазка подшипников загустевает, иногда до такой степени, что якорь не провернуть рукой за вал. Другая крайность — вал свободно болтается в подшипниках. Никаких заметных качаний вала, особенно в радиальном направлении, быть не должно. Если это наблюдается, то вполне возможно, что якорь при вращении задевает за статор, двигатель плохо работает и сильно нагревается. Из-за большого износа подшипников полюса якоря и статора могут деформироваться и нарушить целостность обмоток — замыкание их на корпус, обрыв, межвитковое замыкание. Недостаточный прижим щеток к коллектору или даже отсутствие контакта их с коллектором в случае большого износа — тоже одна из частых причин плохой работы или отказа двигателя.

После разборки двигателя особое внимание — якорю. Вынутый якорь осматриваем на наличие видимых снаружи неисправностей — «засален» коллектор, деформированы полюса или часть пластин полюсов, большая выработка коллекторных пластин, замыкание промежутков между пластинами токопроводящей грязью с частицами меди и графита, нарушены пайки выводов обмоток, обрывы, обугливание всей обмотки или ее части и др. Якорь коллекторного двигателя работает в довольно тяжелых температурных условиях, т. е. сильно нагревается. Поэтому не исключено, что пайки выводов нарушаются, особенно если они выполнены легкоплавким припоем типа ПОС-40, ПОС-61 и т. п.

Обобщенная электрическая схема якоря приведена на рис. 3.



Рис. 3. Обобщенная электрическая схема якори:

1 — секции обмотки якоря; 2 — коллекторные пластины


По схеме видно, что с каждой коллекторной пластиной соединяются два вывода обмоток — начало одной и

конец другой. Вся конструкция представляет собой замкнутую кольцевую схему. Поэтому омметром или тестером обнаружить обрыв практически трудно, но можно. Невозможно также обнаружить короткозамкнутые витки. Можно установить только факт пробоя на корпус без определения, в какой именно части обмотки произошло замыкание. Можно обнаружить, по увеличенному сопротивлению, нарушение пайки поочередной прозвонкой между коллекторными пластинами. Нормальное сопротивление, в зависимости от диаметра обмоточного провода, от десятых долей ома до нескольких десятков ом. Если омметр покажет отличное от остальных значение в несколько килоом, значит, какая-то из двух проверяемых паек нарушена. Покачиванием проводников, наблюдая одновременно за показаниями омметра, можно обнаружить место нарушения.

Для удобства все возможные неисправности сведем в таблицу. Следует иметь в виду, что чаще всего неисправность не бывает одна. Обычно их сразу несколько, например: износ коллектора, его загрязнение, плохое прилегание щеток из-за их износа, нарушения паек выводов, загустевшая смазка подшипников. Этот «букет» неисправностей приводит к неработоспособности двигателя.

Рассматривать будем двигатели по схемам А, В и Г, т. к. схемы Б и Д в бытовых приборах практически не применяются.

Якори и щетки двигателей типа В и Г (собственно Б и Д тоже) могут страдать точно такими же «болезнями», что и типа А. Якори двигателей с последовательным возбуждением (тип В) можно проверять и прозванивать, не отключая обмотки возбуждения (ОВ). В двигателях с параллельным возбуждением ОВ перед прозвонкой якоря надо отсоединить от щеток. В электродвигателях с ОВ к неисправностям якоря могут добавиться неисправности статорных обмоток (ОВ). Их надо прозванивать и проверять отдельно. Обрыв в ОВ приводит к полной неработоспособности, межвитковое замыкание — к плохой работе и быстрому перегреву (вплоть до загорания), пробой на корпус будет вызывать те же явления, что и пробой якоря.

Придя к выводу, что якорь нуждается в перемотке, надо прежде всего замерить микрометром диаметр провода старой обмотки и запастись необходимым количеством такого же. Найдя конец обмотки, намотанной последней, отпаиваем его от коллектора и, удалив предварительно заглушки из пазов якоря, начинаем разматывать обмотки. При этом надо заметить относительное расположение пластины коллектора и паза якоря, в который пошел провод. Все это лучше зарисовать и записать, чтобы, наматывая новую обмотку, не ошибиться. Освобожденный от провода якорь очищают от засохшего лака, остатков изоляции и грязи. Изоляционные прокладки надо поставить новые, т. к. старые обычно становятся очень хрупкими и буквально рассыпаются в руках. Наматывать надо с достаточным натяжением, помня, что при вращении якоря возникают большие центробежные силы, слабо намотанная обмотка может вырваться из пазов. Намотав всю обмотку и припаяв все концы проводов к коллекторным пластинам, туго обматываем прочными нитками выводы между коллектором и обмоткой (накладываем бандаж), вставляем в пазы изоляционные предохранительные заглушки (если они предусмотрены) и пропитываем всю обмотку шеллачным лаком с последующей горячей просушкой. Пропитывать надо так, чтобы коллектор оставался чистым.

Якорь готов к балансировке.


№№ ∙ Признаки неисправности ∙ Возможная неисправность ∙ Методы проверки ∙ Устранение неисправности

Двигатели типа А

1. При подключении к источнику постоянного тока двигатель не работает

∙ Обрыв выводов щеток

∙ Прозвонить омметром, поворачивая вал якоря рукой. При любом положении якоря омметр показывает обрыв

∙ Восстановить оборванный вывод

2. -.-

∙ Нарушение электрического контакта в месте запрессовки вывода в щетке (если в двигателе применен такой тип щеток)

∙ Омметр может показан большое сопротивление. Снять щетки, осмотреть место запрессовки, покачивая вывод пинцетом

∙ Заменить неисправные щетки

3. -.-

∙ Износ щеток

∙ Подключив оммометр к выводам (клеммам) двигателя, поворачивать вал рукой. В некоторых положениях якоря стрелка омметра может «дернуться»

∙ Заменить щетки

4. -.-

∙ Обгорание участка коллектора

∙ Прозвонить двигатель, поворачивая вал. В одном положении якоря омметр показывает большое сопротивление или даже обрыв электрической цепи. Подключив питание и крутнув вал рукой, можно запустить двигатель

∙ Разработать двигатель, проточить на токарном станке в центрах коллектор, заполировать и протереть его тряпочкой, смоченной чистым бензином или растворителем

5. -.-

Двигатели с многополюсными якорями могут работать, но неравномерно, с пониженной мощностью

∙ Обрыв одного или нескольких выводов обмоток

∙ Прозвонить, поворачивая вал. При совмещении щетки с пластиной, где обрыв, омметр покажет увеличенное сопротивление, если оборван один провод, и отсутствие контакта при обрыве обоих проводов

∙ Восстановить разорванные цепи

6. -.-

—.-

∙ Внутренний обрыв одной из секций обмотки

∙ Омметром место обрыва не определить

∙ Отпаивая поочередно выводы от коллектора, прозваниваем каждую секцию, пока не найдется оборванная Якорь лучше перемотать весь. Сбалансировать

7. Двигатель не работает

∙ Сгоревшая обмотка

∙ Внешний осмотр показывает, что вся обмотка обуглена

∙ Перемотка якоря. Балансировка

8. -.-

∙ Заклинивание подшипников из-за грязной загустевшей смазки

∙ Омметр показывает одинаковое сопротивление во всех положениях якоря, если его удается повернуть. При переходах щеток через промежутки между пластинами стрелка омметра колеблется. Под напряжением якорь делает попытки вращения, но останавливается

∙ Двигатель разобрать, промыть подшипники, заложить свежую смазку. Если у двигателя подшипник скольжения — очистить шейки вала от затвердевших отложений. Коллектор тоже промыть

9. Двигатель работает, но обороты занижены, крутящий момент меньше, щетки сильно искрят, двигатель быстро перегревается

∙ Межвитковое замыкание внутри какой-либо секции

∙ Место замыкания определить затруднительно

∙ Перемотка якоря. Балансировка

10. Неравномерное вращение якоря, момент на валу резко снижен

∙ «Засален» коллектор

∙ Прозвонка показывает повышенное и неравномерное сопротивление при разных положениях якоря

∙ Протереть коллектор бензином или растворителем. При наличии подгорелостей — шлифовать мелкой шкуркой, заполировать

11. Двигатель работает плохо, повышенный потребляемый ток

∙ Промежутки между коллекторными пластинами забиты токопроводящей грязью с частицами меди и графита

∙ Осмотреть коллектор при помощи лупы

∙ Очистить коллектор

12. Сильное искрение щеток, запах озона. Мощность понижена

∙ Плохой прижим щеток из-за ослабших пружин. Стальная проволока при сильном нагреве «отпустилась»

∙ Поднять щетку и отпустить. Она должна возвратиться на место с резким щелчком. Прозвонить омметром

∙ Заменить пружины

13. Мала мощность двигателя

∙ Постоянные магниты возбуждения потеряли магнитные свойства из-за сильного нагрева или резкого удара. Неисправность редкая, но бывает

∙ При повороте якоря рукой должно ощущаться не плавное вращение, а рывки при переходах полюсов якоря мимо магнитов статора. Попробовать на притяжение магнитами стального предмета

∙ Восстановить магнитные свойства. Один из способов: на магниты намотать несколько десятков витков (чем больше, тем лучше) обмоточного провода диаметром 0,8–1 мм в одном направлении (рис. 4). Один конец соединяем с сетью 220 В, вторым через предохранитель — 1–3 А или через тонкую (0,1 мм) проволочку касаемся второй клеммы 220 В. Предохранитель сгорает, катушка создает мощный магнитный импульс. Максимальный импульс получается при совпадении амплитуды с моментом сгорания предохранителя. При необходимости операцию повторить. Эту операцию проводить в защитных очках



Рис. 4. Восстановление магнитных свойств магнитов:

1 — предохранитель; 2 — постоянные магниты; 3 — обмотка для намагничивания; 4 — корпус статора


14. Сильное искрение щеток, неустойчивая работа двигателя

∙ Износ коллектора в виде кольцевых канавок, подгоревшие участки

∙ Обнаруживается осмотром

∙ Проточить коллектор в центрах, удалить заусенцы, полировать. Протереть бензином или растворителем

15. При включении двигателя, установленного в системе, где одним из общих проводов является «масса», сгорают предохранители. Снятый двигатель работает нормально

∙ Замыкание (пробой) обмотки якоря на его корпус. Такие случаи могут иметь место в автомобилях

∙ Прозвонить омметром между коллектором и корпусом снятого двигателя

∙ Поочередной отпайкой выводов и прозвонкой с корпусом определить конкретный поврежденный участок. Перемотать обмотку. Сбалансировать


ЛИТЕРАТУРА

1. Шпаннеберг X. Электрические машины. 1000 понятий для практиков. Справочник. М.: Энергоатомиздат, 1988.

2. Ермолин Н.П. Расчет коллекторных машин малой мощности. М.: «Энергия», 19/3.

Печь со щитком на втором этаже

Вопрос:

Хорошилова В.В., г. Севастополь

Хотела бы узнать, как сложить печь для двухэтажного дома, чтобы топка находилась на первом этаже, а второй этаж обогревался бы за счет газоходов.


Ответ:

Рязанкин А.И., г. Москва


Подчас хозяева двухэтажных дач и домов желают иметь печь на первом этаже, а обогревательные каналы (щиток) печи — на втором. За счет этого щитка будет производиться обогрев второго этажа. Такую печь-(а) можно топить каменным углем, для этого ее топку нужно класть из огнеупорного шамотного кирпича. На таком кирпиче плохо держится штукатурка из глинопесчаного раствора, приготовленного из красной глины, поэтому лучше применить для раствора огнеупорную глину.

В основе своей это кухонная печь, которая подсоединяется к газоходу в капитальной стене или к отдельно стоящей трубе, но в последнем случае большая часть тепла будет уходить на улицу.

Лучше всего сделать печь вплотную к капитальной внутренней стене дома-(б). Если толщина капитальной стены-1 полтора кирпича, то газоход от печи-2 выкладывается заподлицо со стенкой.

Помня о возможной в будущем перекладке печи, газоходы лучше класть в середине стены, без перевязки друг с другом, на слабом сложном (т. е. с добавлением извести) цементном растворе. На таком же растворе делают и капитальную стенку.

При толщине стенки в один кирпич газоход-3 будет выступать на половину кирпича внутрь комнаты. Но надо учесть то, что на втором этаже будет обогревательный щиток (в), которому нужна опора-поддержка. Тогда вверху первого ряда в том месте, где будет обогревательный щиток (в), нужно расширить капитальную стенку-4 с двух сторон за счет напуска, состоящего из трех рядов, до толщины в полтора кирпича.

Для чистки газоходов делаются окна чистки-5, куда вставляются плотно закрывающиеся дверки, которые хорошо видно в третьем и четвертом рядах. Для чистки отопительного щитка на втором этаже, окна чистки закладываются в щитке с любой его стороны. Лучшее место окон чистки показано пунктиром в щитке (в).

Если потолочное перекрытие деревянное, то нужно в местах, где проходят газоходы, с помощью напусков кирпича сделать разделку (расширение стенки) в один кирпич от внутренней стенки газохода. У перекрытия еще кладется в один слой листовой асбест. Пол второго этажа также должен быть обезопасен от пожара, как и потолок, для этого на втором этаже можно положить керамическую плитку или затереть зажелезненным раствором.

При железнении сырой гладковыровненный раствор припудривается (покрывается) тонким слоем сухого цемента. После того как цемент намокнет, его слегка заглаживают мастерком. Получится гладкая блестящая поверхность.

Обогрев второго этажа происходит так. В печи (а) готовится пища. Газы вдут вокруг духового шкафа-6 и попадают в большой газоход. Если этот газоход сразу соединить с трубой, то из нее будут вылетать искры, так как в газоходе высокая температура. Для того чтобы в газоходе было меньше сажи, канал-7 сделан больше других каналов.

Газы из канала-7 попадают в два спаренных канала-щитка-8, которые идут к полу, после чего поднимаются вверх и через две задвижки-9 уходят в трубу.

На рисунке 1 — общий вид печи на первом этаже, на рисунке 2 — вертикальный разрез этой печи по А-А, на рисунке 3 — вертикальный разрез этой печи по Б-Б, на рисунке 4 — вертикальный разрез по А-А (второй этаж), на рисунке 5 — щиток на втором этаже, на рисунке 6 — горизонтальные разрезы каждого ряда (порядовки).



Рис. 1



Рис. 2



Рис. 3



Рис. 4



Рис. 5




Рис. 6


На печь (а) нужно:

— кирпич красный — 165 штук

— кирпич огнеупорный — 20 штук

— дверка топочная 25x21 см —

— одна дверка поддувальная 14x14 см — одна

— дверки чистки 14x14 см — пять штук

— плита 41x41 см — одна

— духовой шкаф 30x36x45 — один

— колосниковая решетка 30x252 см — одна

— задвижки 21x12 см — две

— металлический уголок 2 м 50 см — один

ЖДЕМ ОТВЕТА!



Гришина М.Я., Архангельская обл.

Как обить дверь реечками? Какие их оптимальные размеры — ширина, длина, форма? Какие из них можно выложить рисунки?

Иванова Л.C., г. Тюмень

Очень бы хотелось научиться искусству росписи и выжигания по ткани.

Токарев А.В., Курганская обл.

Есть ли какие-либо конструктивные наработки для получения биогаза для жителей сельской местности? Думаю, статья, рисунки, рекомендации, чертежи устройства и технология изготовления установок для получения биогаза заинтересуют многих читателей.

Петров В.В., г. Самара

Расскажите о циркулярной пиле. Какими параметрами пользоваться при подсчете усилий резания, строгания?

Дусь Ю.Г., Иркутская обл.

Как в домашних условиях сделать небольшой штамп?

Дурыкин М.В., Владимирская обл.

Опишите весь процесс изготовления валенок.

Пелышн И.А., г. Улан-Удэ

Меня интересуют различные варианты бытового электролобзика (220 Вт, 50 Гц). Нужен подробный чертеж и описание, а также образцы художественного выпиливания: орнаменты, наличники, карнизы.

Кириченко Л.И., Белгородская обл.

Как отремонтировать часы? Каково их устройство? Какова последовательность разборки и сборки? Какие нужны лупы и отвертки? Где можно приобрести эти инструменты?

Как сделать кресло-качалку? Нужны размеры, углы сгиба и т. д.

Иванов Л.В., Костромская обл.

Расскажите о старом, полузабытом ремесле: изготовлении кадок, бочек — словом, о бондарном деле.

* * *

Всероссийская газета для женщин «Москвичка» (еженедельник)

В каждом номере:

•  Жизнь столицы как она есть.

•  "Азбука успеха" деловой женщины.

•  Консультации врачей, психологов.

•  Целители, маги, астрологи

•  Советы юристов, педагогов.

•  Телепрограмма

У нас вы найдете:

- Исторический сериал

- Садоводам и огородникам

- Салон мод "М" (плюс супервыкройки)

- "Интим-коктейль…" и "Брачный курьер"

- "Семейная православная газета"(индекс 32431)

Индекс 50237 в каталоге АПР

* * *

Издательство «Знание» предлагает заботливым родителям, воспитателям и учителям книгу для умных детей:

"ХРЕСТОМАТИЯ для маленьких и постарше"

Составитель Л.Н.Елисеева. Переплет 7 Бц. Формат 70x100-1/16, с.384.


«Хрестоматия для маленьких» Л.Н.Елисеевой в былые годы выдержала пять изданий, общий тираж ее составил 2,5 млн. экземпляров. Многие поколения малышей выросли на этой книге.

Нынешнее издание «Хрестоматии для маленьких и постарше» переработано составителем с учетом новых реалий нашей жизни.

Структура книги традиционна для такого вида изданий. Каждый раздел открывает обширная подборка русского фольклора, фольклора многочисленных народов России, ближнего и дальнего зарубежья. Не обойдены вниманием произведения русской и зарубежной классики, всеми любимых отечественных и иностранных современных писателей.

Оригинален подраздел хрестоматии, в котором собраны поэтические и прозаические произведения, посвященные родной истории, защите; Отечества. Эта тема особенно значима сегодня, ведь мы так часто в последнее время говорим о потере нацией нравственных ориентиров. Именно на таких произведениях нужно воспитывать детей, чтобы не выросли они «иванами, не помнящими родства», чтобы были они добрыми к слабым, нетерпимыми к злу и несправедливости, гордыми за свой народ, культуру, Родину.

Иллюстративный ряд издания включает в себя многочисленные рисунки отечественных и зарубежных художников в черно-белом исполнении.

Каждый раздел снабжен методическими рекомендациями Л.Н.Елисеевой, объясняющими особенности детского возрастного восприятия того или иного произведения.

Это издание станет добрым помощником в воспитании в семьях, ь детских садах и школах, ведь в него вошли разные по степени сложности произведения. Ваши дети могут начать знакомство с книгой, когда им нет еще и года. Но и последующие 9—10 лет они будут читать ее с неослабевающим интересом.

Книга одобрена Министерством образования РФ и рекомендована в качестве методического пособия для воспитателей и родителей.

Тираж книги, в сравнении с прежними, невелик — 30 тыс. экз.

Приобрести ее оптом и в розницу по низкой издательской цене можно по адресу: 101835, Москва, Центр, Лубянский проезд, д. 4 (метро «Китай-город», здание Политехнического музея). Контактный телефон: (095) 928-15-31.

У нас в издательстве книга стоит всего 12 000 рублей. При пересылке по почте цена удваивается — 24 000 рублей.

* * *

Издательство «ЗНАНИЕ» предлагает оптом и в розницу книги:

• Ганичкина О. А. МОИМ ОГОРОДНИКАМ

Издание содержит конкретные советы по выращиванию и сбору овощей на приусадебных участках, подробные рекомендации: как выбрать сорта овощных культур, правильно чередовать культуры на участке по годам, готовить почву и семена к посеву. Автор рассказывает об опыте выращивания овощей в открытом грунте, под пленочными укрытиями и на ранней грядке, о борьбе с болезнями и вредителями растений.

Мягкая обложка, формат 84x108 1/32, с 192. Цена 4500 руб. (с учетом почтовых услуг 11000 руб.).


• Хольц Хорст. МЕБЕЛЬ СВОИМИ РУКАМИ

Книга адресована всем тем, кто любит в часы досуга работать молотком и рубанком. Она содержит советы общего характера (обращение с материалом, инструментом) и частного плана (обустройство новой квартиры, переоборудование жилья в старом доме; усовершенствование садового домика, посильное строительство на загородном участке). Рекомендации автора при всей их конкретности дают пример для самой смелой фантазии. Мягкая обложка, формат 60x90 1/16, с. 224. Цена 7000 руб, (с учетом почтовых услуг 16000 руб.)


НЕВОЗМОЖНАЯ ЦИВИЛИЗАЦИЯ? Составитель А.А. Маслов

Можно ли признать, что древние китайцы знают строение ДНК человека?

Каким образом на древнейших арабских и японских картах оказываются изображены истинные очертания материков, которые на самом деле покрыты льдом?

Где объяснение тому, что человек может предсказать дату собственной смерти и даже написать об этом?

Пытаясь разгадать самые "непонятные следы” и загадки древнейшей культуры, авторы сборника подводят к выводу о существовании некогда на Земле цивилизации, в десятки раз превосходящей нашу.

Переплет 7БЦ, формат 60x90-1/16 с. 464, ст. уп. 10. Цена 10000 — 12000 руб (с учетом почтовых услуг 22000 руб.)


Книги можно купить непосредственно в издательстве или получить по почте, выслав деньги с учетом почтовых услуг, на расчетный счет издательства.

Для Москвы и Московской области:

Издательство "Знание”, ИНН 7701027067, р/с № 467896 в Лефортовском ОСБ 6901/393, корр. сч. 164408 Московский банк АК СБ РФ в Москве, уч. ВА, МФО 44583342.

Для регионов РФ (кроме Московской области):

Издательство "Знание", ИНН 7701027067, р/с № 467896 в Лефортовском ОСБ 6901/393, корр. сч. 164408/342161600 Московский банк АК СБ РФ в РКЦ ГУ ЦБ в г. Москве, МФО 44583001

В почтовом переводе укажите название заказанных Вами книг.

Наложенным платежом книги не высылаются.

Вы можете купить у нас также учебные пособия для студентов и старших школьников, художественную, детскую и научно-популярную литературу, и все это значительно дешевле, чем в магазинах.

Наш адрес: 101835, Москва, Лубянский проезд, 4, Политехнический музей, подъезд 4, 2-й этаж, комн. 28 (проезд: станция метро "Китай-город" или "Лубянка", выход к Политехническому музею).

Телефоны для справок: 928-15-31, 921-24-47, 921-50-58.

* * *

РЕДКОЛЛЕГИЯ

(работает на общественных началах)


Редакторы В. В. Маркин, О.Г. Жукова

Мл. редактор М.А. Долинская

Худож редактор М. А. Бабичева

Художники Б.В. Грошиков, Н.В. Беляева

Техн. редактор Т.В. Луговская

Корректоры С.П. Ткаченко, И.В. Богданова


Подписано к печати с оригинал-макета 24.06.96. Формат бумаги 70х100-1/16. Бумага офсетная. Гарнитура "Таймс". Усл. печ. л. 11,70. Уч.-изд. л. 14,22. Тираж 32 680 экз. Заказ 2415.

Издательство «Знание». 101835. ГСП. Москва. Центр, Лубянский проезд, д. 4

Отпечатано с оригинал-макета издательства «Знание» на Ордена Трудового Красного Знамени Чеховском полиграфическом комбинате Комитета Российской Федерации по печати. 142300, г. Чехов Московской области.

Примечания

1

Бонсай — древнеяпонское искусство выращивания миниатюрных деревьев. В переводе с японского — дерево в горшке.

(обратно)

Оглавление

  • СПРАШИВАЙ БЫВАЛОГО
  •   Замки - не лают, не кусают, но в дом не пускают
  •   Удобная мансарда
  • УМЕЛЬЦЫ — УМЕЛЬЦАМ
  •   Канализационная сеть на приусадебном участке
  • ПРИРОДА И & ТВОРЧЕСТВО
  •   Волшебные дары флоры
  •   Овощи и фрукты — почти как настоящие
  •   Работаем в стиле Хохломы
  • СТОИТ ПОПРОБОВАТЬ
  •   Русские присолы и салаты
  •   «Небось, картошечку-то все мы уважаем…»
  • ИГЛА ДА БУЛАВОЧКА
  •   Всем ты, сарафан, хорош!
  • ЧТО СТАРЕНЬКОГО?
  •   Готовь сани летом
  • ДЕЛА КРЕСТЬЯНСКИЕ
  •   Картофель — хлебу подпора
  • ОБИХАЖИВАЕМ ДОМ
  •   Приглашение к празднику
  • СДЕЛАЙСАМОВСКАЯ СМЕСЬ
  •   Яичко — ко Христову дню
  •   Затяжка для бельевых веревок
  •   Как облегчить работу домашнего холодильника в жару
  •   Настенные часы — на свой вкус
  •   Антивибрационное устройство для ударного ручного инструмента
  • ДЛЯ БРАТЬЕВ МЕНЬШИХ
  •   Уголок для хомячка
  • ОТВЕТ ПОЛУЧЕН!
  •   О перемотке электродвигателей (и не только)
  •   Печь со щитком на втором этаже
  • ЖДЕМ ОТВЕТА!
  • *** Примечания ***