Античная сила воды [Александр Борисович Соколов] (fb2) читать онлайн


 [Настройки текста]  [Cбросить фильтры]
  [Оглавление]

Александр Борисович Соколов Античная сила воды

Человек сказал Днепру:

— Я стеной тебя запру.

Ты

С вершины

Будешь

Прыгать,

Ты

Машины

Будешь

Двигать!

Самуил Маршак

«Лить воду на мельницу»

Удивительно, но поднимающее воду колесо, вращаемое животными — сакия или чигирь, изобретённое более 2 тыс. лет назад, продолжало использоваться до самого недавнего времени. Такие устройства стали частью жизни на Диком Западе — в этом легко убедиться, посмотрев начало знаменитого вестерна «Хороший, плохой, злой» 1966 года. Да что там Запад! Вот Шолохов, «Поднятая целина»: «…кобылка его, завершив круг, начинала новый — и так безостановочно, по невидимой спирали. Тут уж Щукарь без посторонней помощи догадался, что купленная им лошадь всю свою долгую и трудную жизнь проходила в чигире, ослепнув там и состарившись».


Кадр из фильма «Хороший, плохой, злой».

Пишут, что подобные механизмы до сих пор встречаются кое-где, например, в Египте.

В аналогичной конструкции, известной нам под арабским названием «нория», для подъёма воды использовалась её же, воды, энергия. Колесо вращается водой и при этом поднимает воду: гениально же. Функционирующие средневековые нории можно сейчас увидеть в Сирии, вдоль реки Оронт в городе Хама, хотя они, конечно, скорее играют роль исторической диковинки.


Средневековые нории на реке Эль-Аси в Хаме (Сирия).

Римский архитектор и механик Витрувий в I веке до н. э. описывал конструкцию нории:

«Также и на реках ставят колеса того же устройства, какое было описано выше. К их ободам прибивают лопасти, которые, будучи толкаемы течением реки, приводят своим движением колесо во вращение и таким образом, забирая воду черпаками и поднимая ее кверху, доставляют нужное количество воды без помощи топчака, вращаясь от самого напора реки».


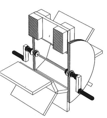
Модель водяной мельницы, описанной Витрувием.

Вероятно, такие устройства появились не позднее IV века до н. э., а в середине III века до н. э. в Александрии уже функционировали водяные мельницы, возникшие в результате совмещения нории и ручной мельницы: вращение передавалось на жернова посредством зубчатой передачи. Устройство стало популярным и благополучно пережило крах Римской империи. «Лить воду на мельницу» — это ведь оттуда. А как вы думаете, почему в русской культуре образ мельника связывался с водной стихией? Считалось, что мельник водит дружбу с водяным. Вспомним, что в пьесе Пушкина «Русалка» отцом русалки был мельник. Хозяин мельницы — колдун, ведь он знает такое, что недоступно простым смертным: умеет воду заклинать! Столетия назад для широкой публики мастера водяных колёс были, вероятно, чем-то вроде современных генных инженеров.

Считалось, что несмотря на древнее происхождение, мельницы с водяными колёсами получили распространение только в средневековье. Однако, судя по всему, это не более чем следствие неполноты нашего знания.

Первое чёткое описание водяной мельницы дал тот же Витрувий. Греческий поэт Антипатр Фессалоникийский в начале I века н. э. воспел водяную мельницу в стихотворении:

Дайте рукам отдохнуть, мукомолки; спокойно дремлите,
Хоть бы про близкий рассвет громко петух голосил:
Нимфам пучины речной ваш труд поручила Деметра;
Как зарезвились они, обод крутя колеса! Видите?
Ось завертелась, а оси крученые спицы
С рокотом движут глухим тяжесть двух пар жерновов.
Снова нам век наступил золотой: без труда и усилий
Начали снова вкушать дар мы Деметры святой.
Такой вот античный вариант песенки из фильма «Приключения Электроника»: «Вкалывают роботы — счастлив человек».

Перевод Зелинского не передаёт некоторых деталей, например, в оригинале подчёркивается, что нимфы «прыгали вниз по самой верхней части колеса», то есть речь шла о т. н. верхнебойном водяном колесе.

Сейчас археологам известны находки десятков, если не сотен античных водяных мельниц. Правда, в большинстве случаев деревянные части не сохранились, но есть и исключения. Например, древнейшая мельница в Chaplix (Швейцария), которую удалось датировать дендрохронологически (по балкам) 57–58 годом н. э. Мельница в Dasing (Бавария) датирована также дендрохронологически 103–112 г н. э. Но лучше всего сохранилась водяная мельница, функционировавшая в 232–260 гг н. э. в местечке Cham-Hagendorn в швейцарском кантоне Цуг, причем нашли её ещё в 1944 году, случайно, во время работ по освоению пахотных земель. Благодаря влажной почве, до наших дней дошли деревянные части трёх водяных колес. В 2003–2004 гг. проводились новые раскопки, в результате появился ряд дополнительных находок. Кроме собственно колёс, нашли части деревянных зданий, сваи, черепицу с крыши, деревянные «подшипники», жёлоб для подачи воды и куски шести жерновов. Найденные части водяного колеса — спицы, лопатки, ступица, фрагменты обода и деревянных шестерней — позволили реконструировать колесо диаметром около 240 см с 27 лопатками. Сейчас полноразмерная реконструкция этого водяного колеса размещена на реке Лорце, недалеко от места находок.


Деревянные части водяного колеса, найденного в Cham-Hagendorn. Источник: Caty Schucany und Ines Winet. SCHMIEDE-HEILIGTUM-WASSERMÜHLE. Cham-Hagendorn (Kanton Zug) in römischer Zeit Grabungen 1944/45 und 2003/04. P. 119.

По оценкам учёных, на водяной мельнице Хагендорна ежегодно перерабатывалось около 1100–1400 тонн зерна. Всесторонние исследования этого памятника вылились в большую монографию, которую, правда, непросто раздобыть (мне любезно прислали сканы из археологической библиотеки в Базеле. Спасибо Hanna Marti | Archäologie Schweiz, Sekretariat!).


Реконструкция одного из водяных колёс, найденных в Cham-Hagendorn. Цветом выделены найденные части. Источник: Caty Schucany und Ines Winet. SCHMIEDE-HEILIGTUM-WASSERMÜHLE. Cham-Hagendorn (Kanton Zug) in römischer Zeit Grabungen 1944/45 und 2003/04. P. 127.

А вот воистину эпичная находка — древнейшая мельничная фабрика в Барбегале на юге Франции (в тогдашней Галлии), построенная в 120–130 гг. нашей эры. Раскопки здесь проводились в 1937–1939 гг., и памятник неоднократно изучался в последующие годы. Комплекс находился на крутом склоне холма и состоял из 16 водяных мельниц, расположенных в две линии по 8 штук. Вода к мельницам поступала с помощью 9-километрового акведука. Бассейны для водяных колёс располагались каскадом, так, что вода, пройдя через первую мельницу, текла дальше, вращая следующее колесо, расположенное ниже, и так далее. Эта «мельничная фабрика» могла производить, по разным оценкам, от 4,5 до 25 тонн муки в день.

Самое замечательное — методика изучения особенностей работы мельниц, о которой я подробно рассказывал в статье «Древнейшая мельничная фабрика: римские инженеры продолжают удивлять».

Сами колёса и многие другие части, сделанные из дерева, давно истлели, остались только бассейны, а в их стенках — отверстия для колёсных осей. Но за годы работы части мельниц, контактировавшие с водой из карстовых источников, покрылись толстой коркой карбонатных отложений. Сами детали утрачены, но карбонатные корки несут на себе отпечатки поверхностей, с которыми соприкасались. При раскопках в середине прошлого века 142 фрагмента таких корок были собраны и с тех пор хранились в местном археологическом музее. Карбонатная корка, нарастая, образует последовательность по-разному окрашенных слоёв. Получается «микростратиграфия»: фактически, в этих прослойках записана история мельниц. Сравнивая последовательности слоёв на «спилах» разных фрагментов, учёные реконструировали хронологию работы мельниц, особенности их конструкции, материал, из которого были изготовлены желоба и элементы колёс (в основном сосна).


Комплекс в Барбегале. а) Фото остатков мельничного комплекса в 1996 году; b) новая реконструкция мельничного комплекса; с) линия из 8 мельниц (вид сбоку) и отдельное водяное колесо.

А вот особенно интригующее открытие. На некоторых фрагментах карбонатных корок специалисты обнаружили отпечатки следов от пилы. Ну и что тут такого? Конечно, доски для желобов кто-то должен был пилить. Но следы поразили учёных своей регулярностью, чёткостью и прямизной. По мнению исследователей, это означает, что для распилки использовалась не ручная, а механическая пила, возможно, с гидравлическим приводом. Если догадка верна, то в руки к археологам попало древнейшее свидетельство использования механического устройства для пиления дерева. Правда, я бы отнёсся к таким выводам без чрезмерного энтузиазма. Честно говоря, авторы пока что не утруждают себя строгими доказательствами, а всего лишь пишут, что «такие регулярные следы вряд ли можно сделать вручную». Простите, но вы не показали, с чем вы сравниваете! Реконструкторские эксперименты и сопоставление результатов ручного и механического пиления (в разных режимах, разными приспособлениями) были бы очень кстати. Надеюсь, что такие данные скоро последуют. О механических пилах мы подробнее поговорим ниже, во 2-й части статьи.


Фрагмент корки, образовавшийся на двух стыкующихся досках. Видны следы пиления механической пилой.

Подобный Барбегалу комплекс водяных мельниц находился на холме Яникул в Риме, обеспечивая город мукой. Руины комплекса известны с XIX века. Недавние раскопки показали, что сооружение питалось из акведука Траяна и включало как минимум 5 водяных колёс, но было, вероятно, лишь частью большой системы мельниц. Устройства, построенные в III веке, использовались до 537 года, когда эту часть акведука перекрыли, чтобы помешать атакующим город готам проникнуть через неё.


Раскопки комплекса мельниц Яникул, Рим. Wilson, A. (2000). The Water-Mills on the Janiculum. Memoirs of the American Academy in Rome, 45, 219. doi:10.2307/4238771.

Многочисленные находки водяных мельниц в разных частях Римской империи говорят о том, что этот механизм быстро стал важной частью жизни даже в засушливых областях, где строились специальные сооружения с водонапорными башнями, рассчитанные на очень неравномерный поток воды в зависимости от сезона. Известны и мельницы с настоящими водяными турбинами (Химту и Тестур в Тунисе, III–IV в) — конструкция, не имевшая аналогов вплоть до XVI века. В сочетании с дамбой и отводящими каналами, такие мельницы работали даже когда река сильно мелела в летние месяцы. О распространенности подобных устройств говорит существование профессиональной ассоциации мастеров водяных колёс в Иераполисе. Ещё пример: в 329 году император Константин Великий издал указ о присвоении местечку Оркистос в восточной Фригии городского статуса (civitas), и одним из четырёх аргументов было наличие множества водяных мельниц.


Константинополь, Большой императорский дворец, мозаика с изображением водяной мельницы. 531–602 гг. н. э. Фото — Marco Prins.

Последние водяные мельницы проработали в некоторых уголках планеты до наших дней, и их спешно изучают археологи и этнографы, пока есть что изучать. Вот, например, статья про остатки 15 водяных мельниц в районе Сагалассоса (Турция), функционировавших еще в 70-е — 80-е годы прошлого века, но большей частью заброшенных с приходом электричества. На момент исследования две из них ещё работали: Donners, K., Waelkens, M., & Deckers, J. (2002). Water mills in the area of Sagalassos: a disappearing ancient technologyAnatolian Studies, 52, 1—17. doi:10.2307/3643076. Исследователи не только анализировали конструкцию мельниц, но и проводили интервью с местными жителями. Один из опрошенных, мельник Бекир Онур, описал процесс работы с древним устройством во всех подробностях, осветив вопросы, на которые не даёт ответы археология, типа: нужно ли сортировать зерно и как это делается.


Не хлебом единым

Однако было бы странно, если бы использование энергии воды в Римской империи ограничивалось исключительно производством муки. И источники сообщают о ряде других функций. Например, древнеримский писатель и философ Плиний пишет об устройствах для шелушения ячменя, в которых использовались «пестики», движимые кулачковым валом с приводом от водяного колеса. Некоторые исследователи полагают, что существовали механизмы для стирки и окрашивания одежды, хотя такие гипотетические приспособления известны лишь по очень косвенным данным.

Есть свидетельства применения больших механических молотов для ковки. Сообщается о металлической голове такого молота с признаками деформации, обнаруженной в Икхаме (Кент, Англия), в том же месте, где найдены остатки водяных колёс и отходы от металлургического производства IV века. Правда, подробностей мне найти не удалось.

Однако вершина античной механизации, по мнению историка Эндрю Уилсона — организация работы на серебряных и золотых рудниках. По его словам, римляне механизировали почти все стадии процесса разведки, добычи и первичной обработки руды. Это особенно ярко проявилось на рудниках Пиренейского полуострова, где археологи нашли следы самых крупномасштабных инженерных работ, когда-либо проводившихся до европейской промышленной революции.

Во-первых, речь о добыче руды с использованием силы воды, ускоряющей процессы эрозии. Масштабный размыв породы проводился путём резкого высвобождения воды, накопленной в большом резервуаре, находившемся над карьером. Таким образом вскрывались и удалялись напластования до 50 м в толщину, например, в Puerto del Palo в Испании. Здесь вода падала из танков, размещенных на высоте до 200 м, смывая всё на своём пути. Плиний писал, что в процессе добычи золота в Испании вода переносила огромные валуны. Таким образом обнажались металлоносные пласты, которые затем перебирались вручную или путём дальнейшей промывки, которая тоже была хитро организована. Вода, переносящая рудоносную породу, проходила через систему ступенчатых промывальных столов, так что более тяжелые, богатые металлом частицы оставались, тогда как менее богатые металлом смывались вниз по столам в соответствии с их плотностью. Этот метод особенно хорошо подходил для добычи золота, где самородки и частицы в процессе промывки легко отделялись от пустой породы.

В Лас-Медулас-де-лас-Оманас на северо-западе Испании результаты крупномасштабного размыва грунта видны до сих пор в виде веерообразной системы каналов, оставшейся после этих работ.


Римские золотые рудники Лас-Медулас-де-лас-Оманас (Испания), аэрофотоснимок. Видны акведуки с расходящимися от них веером каналами. На переднем плане — открытый карьер, к которому подходит множество каналов.

Плиний описывает колоссальные усилия в Испании по сооружению огромных акведуков, ведущих к рудникам в сложной и гористой местности. Такое строительство требовало возведения мостов через ущелья и трещины, прорубания тоннелей через горные хребты, и всё ради того, чтобы обеспечить водой танки над карьером. Судя по данным археологов, это не преувеличение: рудников было много, и многие из них снабжались не одним акведуком, а двумя или более.

В Las Medulas, к примеру, обнаружено 7 акведуков, до 2–3 м в ширину, то есть в два-три раза шире крупнейших городских акведуков. Некоторые из этих акведуков были около 50 км длиной, перепад высот составлял 400 м, а резервуары для размыва вмещали до 24 000 м3 воды. В Испании много мест, где использовалась подобная система гидравлической добычи. В их конструкции применялись и такие устройства для подъёма воды, как водяные колёса и «архимедов винт». А в Tres Minas, в штольне 150 м в длину, соединяющей рудник с поверхностью, обнаружены следы того, что археолог Michael Jonathan Taunton Lewis трактует как предвестник шахтных железных дорог — две прорезанные в полу колеи V-образного сечения на расстоянии 1,2 м друг от друга, вероятно, предназначенные для движения неких тележек с рудой. Примечательно, что когда рельсовые узкоколейки появляются в Европе в позднем Средневековье, они первым делом используются точно так же в подземных рудниках, в виде небольших толкаемых вручную вагонеток.


Наковальни для дробления руды из Португалии и Испании. Andrew Wilson. Machines, Power and the Ancient Economy // The Journal of Roman Studies, Vol. 92 (2002), pp. 1—32.

А вот и самое интересное: дробилки, т. е. устройства, измельчающие руду до сыпучего состояния. Во многих римских рудниках найдены большие каменные наковальни, имеющие по нескольку (чаще всего по четыре) одинаковых параллельных углублений, оставленных, по-видимому, повторяющимися ударами молотов в определённые точки. У некоторых наковален такие углубления находятся на разных поверхностях: по мере изнашивания наковальню поворачивали на бок и использовали снова.

Эндрю Уилсон утверждает, что при ручной работе не получились бы такие правильные углубления, поскольку удары, наносимые человеком, не могут приходиться всё время в одно и то же место, к тому же размер и глубина выемок говорят об очень большом весе молота. Вероятно, здесь использовался некий механизм, скорее всего, с гидравлическим приводом (оговоримся, конечно, что прямых доказательств этому нет).

На золотом прииске Долавкоти в Уэльсе находится наковальня такого типа, прозванная Carreg Pumsaint (камень пяти святых). Этот примечательный памятник снабжён легендой: якобы пять странствующих святых уперлись в камень руками и застыли на месте. Мерлин освободил их, но отпечатки остались в камне. На камне, правда, всего четыре углубления. Сама наковальня находится рядом с ямой для водяного колеса, на возвышении, на котором, вероятно, находился дробильный механизм, поскольку поблизости найдено большое количество отходов от дробления руды, датированных II веком.


Carreg Pumsaint — «Камень пяти святых». Долавкоти, Уэльс.

Всё это очень напоминает аналогичные устройства для дробления руды, появившиеся в позднем средневековье. Такие приспособления включали кулачковый вал на водяном колесе, поднимавший и опускавший молоты. Подобные дробилки использовались до самого недавнего времени, например, в золотых рудниках Roşia Montană в Румынии — вплоть до середины XX века.


Установка для дробления руды. Золотые рудники в Рошия-Монтанэ в Румынии, начало XX века.

Средневековая дробилка руды. Гравюра Georgius Agricola (1494–1555).

Водяные мельницы могли пригодиться для следующей стадии — перемалывания руды в пыль, которая затем отправлялась на промывку. Большие жернова, применявшиеся для таких задач, найдены во Франции, на свинцовых рудниках Seix и на медном руднике Mont Marcus возле Орьяка, Од.

Итак, в золотых и серебряных рудниках Рима мы видим развитую технологию, использовавшуюся в поистине индустриальных масштабах. Вероятно, и объём добытой руды был внушительным, но как его оценить? По размерам выработанной породы в рудниках? Вероятно. Однако не менее ценные данные дают ледяные керны Гренландии. Каждый год выпадавший снег образовывал ледяную прослойку в гренландском ледяном щите, так что в слоях льда отражён состав атмосферы за каждый год, в то числе её загрязнение. Содержание примесей в слоях кернов, относящихся к первым векам нашей эры, говорит о массивной добыче свинца, серебра и меди, не имеющей параллелей вплоть до индустриальной революции последних нескольких столетий. Причем судя по изотопному составу, порядка 70 % антропогенного свинцового загрязнения связано с его выплавкой на юго-западе Испании. Использование гидравлических технологий в римской горнодобывающей промышленности первого и второго веков нашей эры оставалось непревзойдённым до девятнадцатого века.


Реставрированная дробилка оловянной руды в Корнуолле, Англия, XIX в.

И ещё одно направление, в котором работала сила воды — это дубление кож. В процессе дубления шкуры животных погружались в чаны, содержащие воду и дубильный порошок, в качестве которого часто использовалась кора дерева. В Саепинуме (Saepinum) в Италии уже много десятилетий назад найдены остатки устройства, которое считали водяной мельницей III — начала IV века. Однако археолог Ж.-П. Брюн обратил внимание, что пространство, в котором располагался предполагаемый механизм «мельницы» — вал с надетой на него шестерней — с одной стороны, слишком большое по площади (10 м2, тогда как в других мельницах обычно не более 2 м2), а с другой стороны — слишком мелкое: его дно находилось всего на 15–20 см ниже предполагаемого вала. Где же помещалось зубчатое колесо, передающее вращение на жернов? Наконец, странно, что пол этого углубления вымощен плитками, чего никогда не делали на других водяных мельницах, а плитки, при всей их прочности, разбиты в результате многократных ударов. Учитывая, что все это располагалось на территории дубильного производства, Брюн реконструировал устройство, очень похожее на дробилки для руды, описанные выше, но использовавшееся для измельчения древесной коры. Несколько пестиков поднимались кулачковым валом и затем падали вниз, на наковальню или в ступку.


Известняковая опора для вала водяного колеса, Саепинум, Италия.

Пол в углублении для предполагаемого механизма водяной мельницы, Саепинум, Италия.

Реконструкция механизма для измельчения древесной коры, Саепинум, Италия.

Наконец, у Витрувия есть реплика, указывающая на существование устройств для замешивания теста, движимых водяным колесом. Хотя археологических находок такого рода нет, известны подобные механизмы — тестомесители, приводимые в действие силой животных, самые древние из которых относятся к периоду Октавиана Августа.


Пилы свистящие

Около 370 года н. э. римский поэт Авсоний писал в стихотворении «Мозелла»:

Быстрый Цельбис к тебе и мрамором славный Эрубрис
Рады льстиво прильнуть своею пособною влагой:
Первый тем знаменит, что в нём наилучшая рыба,
Тем отличен второй, что ворочает мощным напором
Жерновы мельниц и в мрамор врезает свистящие пилы,
С двух берегов оглашая русло несмолкающим шумом.
Эрубрис — это правый приток реки Мозель в Германии. Но что за свистящие пилы он «врезает в мрамор»? Уже много лет назад строки из «Мозеллы» заставили специалистов по древним технологиям задуматься. Не имел ли античный автор в виду какие-то устройства по распилке камня, приводимые в движение водой? Использование в Древнем Риме водяных мельниц хорошо задокументировано, но в существовании античных механических пил с гидроприводом многие исследователи сомневались. Кто-то полагал, что упоминание «свистящих пил» — всего лишь поэтическая аллегория, или даже что эти строки добавлены в стихотворение Авсония существенно позднее.

Однако нашлись и историки, пытавшиеся представить, каким могло быть древнее пилящее устройство. Тем более, что на существование таких пил косвенно указывали и некоторые другие источники. Например, христианский богослов Григорий Нисский, живший в IV веке, писал о камне, который «делится железом на тонкие слои», восклицая: «Сколько о сем стараний! сколько чертежей! сколько ухищрений у распиливающих вещества водою и железом!» (Григорий Нисский. Точное истолкование Екклезиаста Соломонова// Творения святого Григория Нисского. Часть 2. — М.: Типография В. Готье, 1861. С. 245–246.)

Проблема в том, что в античности, как считали специалисты, ещё не придумали способ преобразования вращательного движения в поступательное. Чтобы водяное колесо приспособить к пиле, требовалось что-то вроде кривошипно-шатунного механизма, а его, полагали историки, изобрели только в средневековье.

Древнейшая механическая пила из известных до недавних пор описана архитектором из Пикардии Вилларом де Оннекуром в 1235 году: в его альбоме чертежей есть изображение пилы по дереву, движимой водяным колесом, к которому крепился кулачковый вал.


Механическая пила из альбома Виллара де Оннекура (1230 г.; по Ritti 2007).

Может быть, римляне придумали циркулярную пилу? Однако возможно ли при существовавших технологиях обработки металла изготовить тонкий металлический диск диаметром не менее 2 м, идеально круглый и достаточно прочный? А какой механизм обеспечит подачу мраморного блока по мере его распиливания? Предлагались и более экзотические конструкции, типа маятниковых или гибких ленточных (!) пил, но они тоже вызывали много технических вопросов. Для чего-то большего требовалась археологическая база — факты, а их не хватало. До поры до времени…

Да, в античном мире широко практиковалось распиливание камня. Если совсем мягкие породы, вроде туфа, пилились обычной зубчатой пилой, то для более твёрдых мастера использовали беззубое полотно в сочетании с песком и водой. Здесь пиление осуществлялось частицами абразива, а сама пила изготовлялась из мягкого металла. Вода доставляла зерна песка в рабочую область, а также охлаждала пилу, нагревавшуюся трением. Такую технику пиления описал в I веке Плиний Старший, который отмечал, что особенно хорош песок из Эфиопии и Индии; годится абразив с Наксоса и Коптоса, однако мошенники в последнее время используют какой попало песок!

На рельефе I века, найденном в Остии, изображены двое рабочих в мастерской по мрамору. Один из них держит в руках пилу; перед ним лежит ёмкость, вероятно, с песком, и специальная длинная ложечка для подачи абразива.


Рельеф из Остии с изображением рабочих в мастерской по мрамору. Находится в Museo di Ostia Antica.

Существовали пилы больших размеров. В Хассамбали около города Ларисса, Греция, найден фрагмент пилы длиной 124 см, а судя по следам в карьере у древнего фригийского города Докимион, там применялись пилы в несколько метров, которые, вероятно, подвешивались к стенам или деревянным лесам. Но речь в данном случае шла только о ручных инструментах.


Гераса

В 1926 году в Герасе (Джараш, Иордания) проводились работы по расчистке развалин храма Артемиды, который хотели превратить в музей. Небольшую комнату в одной из частей храма стали использовать в качестве склада для каменных блоков с надписями. На остатки некой конструкции, находившейся в помещении, тогда не обратили особого внимания.


Остатки конструкции в Герасе, 2006/2007 г. (Morin 2007).

В 2000 году этим местом вновь заинтересовались археологи. Что за устройство располагалось когда-то в помещении? На высоте четырёх метров здесь находилась цистерна, питаемая, по-видимому, главным городским акведуком, а из цистерны вода должна была попадать на водяное колесо. От самого колеса ничего не осталось, однако на опорах сохранились квадратные отверстия от колёсного вала. Кроме того, на одной из опор есть круговые следы, оставленные неким вращающимся объектом. Судя по этим следам, крутившееся устройство в процессе работы перемещали на 14 см в вертикальной плоскости. По-видимому, с каждой стороны от водяного колеса на валу находились некие диски (вероятно, деревянные, скреплённые гвоздями) диаметром не менее 1 м — они и оставили следы на опорах. Сохранился желоб, подававший воду на колесо, а также канал на полу, отводивший воду из помещения. Судя по косвенным признакам, само колесо было около полуметра в ширину и 4,5–5 м в диаметре. Что же здесь находилось? Водяная мельница? Но никаких частей каменного жернова найти не удалось. Кроме того, остатки конструкции не походили на известные мельничные устройства.


Циркулярные следы на опоре в Герасе (Ritti 2007).

Подсказка нашлась в двух известняковых барабанах от колонн, найденных тут же, каждый из которых весил более 2 тонн. Дело в том, что на этих барабанах можно увидеть следы от частичного распиливания, и любопытен характер следов: это серии из четырёх параллельных надпилов, идущих на одинаковом расстоянии и на одинаковую глубину. На одном барабане одна такая серия, а на другом — две. Куски колонн вынули из портика храма Артемиды, к тому моменту уже заброшенного, и распиливали на плиты с помощью какого-то приспособления, состоящего из четырёх параллельных пил. Археологи предположили, что в помещении находилась пилорама, движимая водяным колесом, и прикинули возможную конструкцию. Металлические пилы должны быть длиной не менее 2,2 м (учитывая размеры барабанов), располагаться в деревянной раме, причём таких рам с четырьмя полотнами было две — каждая из них двигалась с помощью деревянных дисков, сидящих на валу по сторонам водяного колеса. На каждом из них располагался со смещением от центра штифт, к которому крепился длинный рычаг-шатун, а тот в свою очередь шел к пильной раме — вот вам и простейший кривошипно-шатунный механизм. Устройство позволяло распиливать два барабана колонн одновременно. Деревянная конструкция с пилами весила, по некоторым оценкам, порядка 300 кг, и ведь её нужно было еще как-то опускать и поднимать, а полотна пил — как следует натягивать независимо друг от друга.


Барабан колонны со следами распиливания в Герасе (Wilson 2020).

Когда же всё это функционировало? По-видимому, после V века, когда пустующий храм Артемиды стали разбирать на стройматериалы, но до 749 года, в котором случилось разрушительное землетрясение, заставившие жителей покинуть Герасу. Скорее всего, водяная пила работала в эпоху византийского императора Юстиниана (527–565 гг.) и его наследников, когда в городе велось активное строительство церквей, часовен и бань, требовавшее множества каменных плит для полов и стен. Если так, то открытая в Герасе пилорама древнее известных средневековых аналогов как минимум на 600 лет!


Реконструкция пилорамы в Герасе (Morin 2007).

Реконструкция пилорамы в Герасе (Morin 2007).

Эфес


Остатки конструкции в Хангхаусе, Эфес.

Аналогичное сооружение обнаружили в древнем Эфесе (сегодня территория Турции) в 80-х годах прошлого века. В полуразрушенном античном «элитном жилом комплексе» (т. н. Хангхаус, «Дом на склоне холма») в византийскую эпоху, в VI–VII веках, разместили множество ремесленных мастерских — гончарные, кузни, а также водяные мельницы, образующие комплекс из восьми колёс. Однако одно из колёс, судя по всему, использовалось не для получения муки, а для распилки мраморных блоков. Два таких блока располагались симметрично, справа и слева от канала в полу помещения. Видно, что с блоков уже «сняли» несколько плит, и оба имеют по два параллельных надпила небольшой глубины: работа по каким-то причинам была брошена. Сохранился канал, проходивший сверху и подававший воду, а также два квадратных отверстия в задней стене и каменное возвышение в центре помещения — вероятно, для балок, поддерживавших водяное колесо. Конструкция получается похожей на устройство из Герасы: водяное колесо приводило в движение две горизонтальные рамы, в каждой из которых крепилось по две пилы. Рамы удерживались на нужной высоте с помощью противовесов на верёвках, перекинутых через блоки. В помещении найден каменный груз с металлическим кольцом, который мог использоваться как противовес.


Остатки конструкции в Хангхаусе, Эфес (слева). Следы от пиления на мраморном блоке (справа).

Исследователи предположили также, что вода, а может и абразив подавались в рабочую зону не вручную, а с помощью специальных приспособлений. Вода, например, могла поступать по деревянным желобам, которые поддерживались небольшими колоннами, сохранившимися до сих пор.

Кстати, найдена в Эфесе и гранитная колонна (длиной 2,6 м) с двумя параллельными надпилами на всю её длину. В связи со всем этим, интересен указ проконсула Азии Луция Антония Альбуса, копия которого найдена в Эфесе. Этот документ, относящийся к середине II века, запрещал заниматься обработкой камня на портовой набережной, поскольку огромное количество отработанного абразива и каменной пыли, образовывавшиеся в результате пиления, приводили к заиливанию гавани.


Гранитная колонна с надпилами, Эфес (Kessener 2010).

Конструкции в Герасе и Эфесе во многом сходны. Каждая пилорама расположена в мастерской, одна стена которой оснащалась водяным каналом на высоте 3–4 м, отводящий канал находился на полу. Оба механизма приводились в движение вертикальным водяным колесом. Одновременно работали два набора полотен, заключенные в рамы, которые двигались с помощью кривошипно-шатунного механизма, причём кривошипные диски крепились прямо на оси колеса.


Реконструкция механизма в Эфесе (Ritti 2007).

Ясос

Ясос — древнеримский город на территории современной Турции, где в 70-е годы прошлого века проводились раскопки большого мавзолея. Это здание II века н. э. было заброшено лет двести спустя. Во внутреннем дворе археологи нашли более сотни мраморных блоков, причём почти половина со следами распиливания, а сами блоки лежали на слое песка в 50–70 см. Вероятно, в V–VI веке помещение стали использовать как мастерскую для изготовления мраморных плит. Местная порода мрамора cipollino rosso очень ценилась из-за красивой расцветки и узора. Плиты экспортировались для украшения новых зданий в Константинополе, Равенне и других городах. Самое интересное для нас — то, что на четырёх блоках обнаружились множественные параллельные надпилы на одинаковом расстоянии друг от друга. А рядом с мавзолеем находился большой акведук, построенный в I веке.


Блок из Ясоса с тремя параллельными надпилами (Bruno 2008).

Облицовка стен с четырьмя мраморными плитами cipollino rosso, отпиленными от одного блока. Равенна (Bruno 2008).

Исследователи сложили все факты вместе. Зачем кому-то затаскивать тяжёлые блоки внутрь здания через довольно узкий проход? Откуда возник слой песка? Вероятно, в помещении находилась «распильная машина», приводимая в действие водой, поступавшей от акведука. Водяное колесо размещалось, по-видимому, у внутренней стены с западной стороны, хотя никаких следов от него, к сожалению, не сохранилось. Песок — отработанный абразив, перемешанный с мраморной пылью, который в большом количестве накапливался в мастерской. Отложения подобного песка найдены и в разных частях древнего городского рынка. Исследователи предположили, что отходы пиления нужно было куда-то девать и их использовали для выравнивания улиц.

Известны и другие подобные находки — например, каменный блок с семью параллельными надпилами в Лименосе на греческом острове Тасос.


Иераполис

Наконец, к множеству косвенных свидетельств добавилось изображение подобного механизма. Нашли его в Иераполисе (античный город на территории современной Турции, сейчас там находятся известные достопримечательности Памуккале). В 80-е годы XX века в северном некрополе Иераполиса археологи обнаружили половину крышки известнякового саркофага, а на ней — надпись и любопытный рельеф, которым специалисты заинтересовались только двадцать лет спустя. Текст гласил: «Марк Аврелий Аммиан, житель Иераполиса, искусный, как Дедал, в изготовлении колёс, сделал (изображённый механизм) с мастерством Дедала, и теперь я останусь здесь…» Напомню, что Дедал — легендарный инженер, которому, в числе прочего, приписывали изобретение пилы. Саркофаг, судя по его стилистике и размерам, датировался первой половиной III века (после 212 г.).


Рельеф на саркофаге из Иераполиса (Ritti 2007).

А что изображает рельеф? Мы видим большое колесо со спицами, от которого влево идёт длинный вал, а справа изображено что-то вроде наклонного желоба, по которому, вероятно, подавалась вода. Вал соединён с зубчатым колесом меньшего диаметра, а ниже в сцепке с ним находится ещё одно колесо, от которого к двум прямоугольным конструкциям идут рычаги. Собственно, эти конструкции очень похожи на рамки с пилами, полотна которых проходят через блоки, видимо, каменные (исходя из их пропорций, на брёвна не похоже).


Отрисовка рельефа на саркофаге из Иераполиса (Ritti 2007).

Конечно, ряд деталей механизма остаётся неизвестным. Как добивались устойчивости пил, чтобы они не болтались, не ходили из стороны в сторону? Чем компенсировалось избыточное давление пил на камень? Точно сказать нельзя. Специалистам известны лишь гораздо более современные аналоги — например, водяная пила XVIII века, с помощью которой пилили камень при строительстве Шверинского замка (Германия). Устройство её удивительно похоже на изображение из Иераполиса.


Механическая пила XVIII века, Шверин, Германия.

Как именно вращение преобразовывалось в поступательное движение пил в механизме Аммиана? Вероятно, для этого использовался простейший кривошипно-шатунный механизм, изобретение которого в таком случае смещается на 1000 лет в прошлое — с XIII века на III. Но был ли Аммиан изобретателем устройства, или оно появилось задолго до него? Во всяком случае, как я уже писал, к этому моменту в Иераполисе существовала ассоциация «мастеров водяных колёс» (наряду с другими «профсоюзами» — бакалейщиков, пекарей, кузнецов и т. д.). О влиятельности ассоциации говорит надпись на другом погребении того же некрополя, где обозначен штраф за самовольное захоронение на семейном участке некого Марка Аврелия Аполлодота Калликлиана — 500 динариев в казну империи и 300 динариев в пользу ассоциации «водных дел мастеров». Наличие профессионального сообщества говорит о том, что устройства с водяным приводом давно и широко использовались. Увы, что это были за устройства, уточнить невозможно, но, как вы знаете, водяные колеса в античности использовались не только для мельничных нужд. Возможно, и водяные «пилорамы» входили в этот список.

А вот и древнейший коленчатый вал, который мог быть частью конструкции водяной пилорамы. Нашли его при раскопках древнеримского города Аугуста Раурика в Швейцарии, в 20 км от Базеля.


Древний коленчатый вал (Аугуста Раурика) (Schiöler 2009).

Находка сделана еще в 1962 году, но только в начале XXI века исследователи опознали в этом странном артефакте II века н. э. часть устройства, преобразующего вращение в поступательное движение (см. статью 2009 г). Ось коленвала железная, а рукоятки-кривошипы с двух сторон были бронзовыми (сохранилась только одна). Столь прочная, сложная и дорогая по тем временам конструкция явно предназначалась для работы на высоких оборотах. Автор исследования Торкильд Шилер (Thorkild Schiøler) предложил, исходя из этой находки, свою реконструкцию древней пилорамы, с небольшим восьмилопаточным водяным колесом, которое должно было крутиться с высокой скоростью. Ось колеса соединялась с коленчатым валом по образцу швейцарской находки, а с двух сторон к ручкам коленвала крепились длинные стержни, двигавшие рамы с пилами.


Реконструкция маленького водяного колеса с коленчатым валом (Schiöler 2009).

Реконструкция механической пилы из Иераполиса (Ritti 2007).

Пишут, что археологам известно больше находок античных водяных мельниц, чем находилось на тех же территориях в средневековье. В Европе можно проследить существование водяных мельниц из античности, сохранившихся в раннем средневековье — технология производства муки слишком укоренилась на этих территориях к концу римской эпохи. Другое дело — такие устройства, как механическая пила. Их использование тесно зависело от крупномасштабного строительства. Когда строительная промышленность поздней Римской империи рухнула, водяные пилы исчезли вместе с ней.


Реконструкции

Но рассуждать о древних механизмах мало — требуется реконструкция. Найдутся ли сумасшедшие, которые попытаются воссоздать древнюю пилораму? Да, нашлись такие! В 2006 году французский археолог Жак Сенье вознамерился воспроизвести механизм из Герасы в натуральную величину, и не где-нибудь, а на его историческом месте. Коллектив опытных кузнецов и плотников много месяцев работал над деталями, в начале 2007 года началась сборка сооружения. 22 марта 2007 года собранную «пилораму» торжественно открыл Его Королевское Высочество принц Иордании Хамза ибн Хусейн (حمزة بن الحسين).

Как пишет Сенье, целью было создать максимально точную реконструкцию, поэтому планировалось использовать только материалы и технологии, доступные в VI веке н. э. Однако изготовители столкнулись с рядом проблем: крайне трудно было раздобыть материал с нужными характеристиками, а также найти мастеров, умеющих работать по старинке. Быстро возникли и финансовые трудности. В итоге реконструкторы, как часто, увы, бывает, пошли на компромисс: использовали современное плотницкое оборудование и имеющееся в продаже сырье — в частности, промышленную древесину, но выбиралипороды, близкие тем, что росли в районе Герасы — дуб и сосну.

Сам археолог заверяет, что всё то же самое можно было целиком сделать вручную, но «с задержками и более высокими производственными затратами». Как это мне знакомо!


Сборка водяного колеса для реконструкции механизма в Герасе, Lycée de Loches.

Работы по реконструкции механизма в Герасе (Morin 2007).

Реконструкция механизма в Герасе (Seigne 2007).

Особенные трудности обнаружились при поиске мягкого железа подходящей марки, а также кузнецов, большинство которых привыкли делать перила, скамейки или какие-нибудь произведения искусства, а не четырёхметровые пилы толщиной 3–4 мм. Реконструкторы лишний раз убедились, что сооружение такого механизма в античности требовало значительных денежных затрат.

Хочется процитировать классическое «Было гладко на бумаге, да забыли про овраги». В анимированной 3D-модели устройства пилы «естественным образом» правильно натянуты. Однако в реальной конструкции правильное натяжение четырёх пил в общей раме оказалось одной из критически важных задач. Иначе вся установка попросту не функционировала: пилы заклинивало. В итоге, полученная реконструкция, по заявлению автора, не смогла удовлетворить заявленным целям, а из-за финансовых проблем доработка установки и количественные испытания были отложены «до лучших времен». Тем не менее, исследователь считает создание реконструкции крайне полезным: эта работа позволила осознать изъяны теоретической модели, увидеть её ограничения и построить более правдоподобную, приближенную к реальности — которая, впрочем, ещё ждёт проверки реальностью. Сенье, кстати, считает, что и оригинальный станок в Герасе, «слишком амбициозный», был с конструкционными недоработками. Об этом говорят, по его мнению, следы на распиливаемом барабане колонны, свидетельствующие о возможном разрыве одной из пил.

В 2009 году немецкий археолог-экспериментатор Фриц Мангарц взялся реконструировать механическую пилу из Эфеса. Копия устройства в натуральную величину была сооружена в Вулкан-парке в Майене, Германия. Правда, аутентичность соблюдена не целиком: вместо водяного колеса использовался электропривод, так что публике такую реконструкцию демонстрировать я бы не стал (хотя с точки зрения эксперимента, какая разница, каков принцип двигателя, если он выдаёт необходимые 30–40 оборотов в минуту?). Как в оригинальной эфесской пилораме, механизм включал две деревянные рамы, по две беззубые пилы в каждой, которые подвешивались на тросах с противовесами, перекинутых через блоки. Смесь воды и кварцевого песка подавалась вручную. У Мангарца получилась вполне работоспособная конструкция. В рамках серии экспериментов археологи провели параллельное пиление двух блоков — мраморного (длиной 1 м) и известнякового (длиной 2,8 м). В блоках удалось получить надпилы в несколько сантиметров глубиной, при этом наилучшая скорость пиления известнякового блока составила 6,75 мм в глубину в час, что в пересчёте на площадь поверхности дало 18 900 мм²/ч. При такой скорости блок высотой 80 см будет распилен менее чем за 10 дней (при двенадцатичасовом рабочем дне), причём нужно учесть, что одновременно работают сразу четыре пилы. Исследователь посчитал, что рабочий, управляющий таким устройством, будет иметь в двенадцать раз более высокую производительность, чем при работе с ручной пилой. Впрочем, и тут возник ряд технических вопросов. Как сделать, чтобы пила автоматически опускалась по мере углубления надпила? Чем обеспечить прямолинейное, без вихляний движение пил, стабильное во всех плоскостях? Ради приближения к истине нужны новые безумные эксперименты.


Реконструкция механизма в Эфесе.

Реконструкция механизма в Эфесе.

Реконструкция механизма в Эфесе.

Благодарю за консультации Николая Григорьева и Олега Круглякова.


Источники

1. Andrew Wilson. Machines, Power and the Ancient Economy // The Journal of Roman Studies, Vol. 92 (2002), pp. 1—32. http://www.jstor.org/stable/3184857

2. Tullia Ritti, Klaus Grewe and Paul Kessener. A relief of a water-powered stone saw mill on a sarcophagus at Hierapolis and its implications // Journal of Roman Archaeology, Volume 20, 2007, pp. 139–163 DOI: https://doi.org/10.1017/S1047759400005341

3. Sophia Germanidou. Watermills in Byzantine Textual Tradition (4th–12th centuries) // https://www.ceeol.com/search/article-detail?id=538241

4. Andrew Wilson. Roman Water-Power. Chronological Trends and Geographical Spread. In: Capital, Investment, and Innovation in the Roman World. Edited by: Paul Erdkamp, Koenraad Verboven, and Arjan Zuiderhoek, Oxford University Press (2020). © Oxford University Press. DOI: 10.1093/oso/9780198841845.003.0005

5. Gül Sürmelihindi, Cees W. Passchier, Philippe Leveau, Christoph Spötl, Marcel Bourgeois, Vincent Bernard. Barbegal: carbonate imprints give a voice to the first industrial complex of Europe // Journal of Archaeological Science: Reports April 2019 https://www.sciencedirect.com/science/article/abs/pii/S2352409X18307405

6. Caty Schucany und Ines Winet. SCHMIEDE-HEILIGTUM-WASSERMÜHLE. Cham-Hagendorn (Kanton Zug) in römischer Zeit Grabungen 1944/45 und 2003/04. P. 114–162.

7. Thorkild Schiöler. Die Kurbelwelle von Augst und die römische Steinsägemühle // Helvetia archaeologica, Jg. 40, H. 159/160 (2009), S. 113—124

8. M. J. T. Lewis. Railways in the Greek and Roman world, in A. Guy and J. Rees (eds), Early Railways. A Selection of Papers from the First International Early Railways Conference (200I).

9. Donners, K., Waelkens, M., & Deckers, J. (2002). Water mills in the area of Sagalassos: a disappearing ancient technology. Anatolian Studies, 52, 1—17. doi:10.2307/3643076

10. https://en.wikipedia.org/wiki/Norias_of_Hama

11. Витрувий. 10 книг об архитектуре. Глава V http://antique.totalarch.com/vitruvius/10/5.

12. Grewe, K. et H. P. M. Kessener (2007): “A stone relief of a water-powered stone saw at Hierapolis, Phrygia. A first consideration and reconstruction attempt”, Actes du Colloque International Énergie hydraulique et machines élévatrices d’eau durant l’Antiquité, Pont du Gard, 20–22 septembre 2006, Naples, 227–234.

13. Kessener, Paul (2010), «Stone Sawing Machines of Roman and Early Byzantine Times in the Anatolian Mediterranean», Adalya, 13, pp. 283–303.

14. Thierry Morin, Jacques Seigne. Restitution et reconstitution d’une scierie hydraulique du IVe siècle de notre ère à Gerasa/Jerash (Jordanie). Virtual Retrospect 2007, Robert Vergnieux, Nov 2007, Pessac, France. pp.261–268. hal-01774908.

15. Jacques Seigne. Scierie Hydraulique de Gerasa/Jarash: Restitution Théorique et Restitution Matérielle d’une Machine Hydraulique du VIe Siècle de Notre ère // Studies in the History and Archaeology of Jordan 10, 2009, pp. 433–442.

16. Jacques Seigne. A Sixth Century Water-Powered Sawmill at Jarash // Annual of the Department of Antiquities of Jordan 46, 2002, pp. 205–214.

17. Klaus Grewe. La máquina romana de serrar piedrasla representación en bajorrelieve de una sierra de piedras de la antigüedad, en Hierápolis de Frigia y su relevancia para la historia técnica // n: Las técnicas y las construcciones en la ingeniería romana, 2010, ISBN 978-84-614-3758-0, págs. 381–402.

18. M. Bruno. Quarry blocks in marmor Iassense from the Balik Pazari at Iasos (Turkey) // Interdisciplinary Studies on Ancient Stone Proceedings of the IX ASMOSIA Conference (Tarragona 2009). Tarragona, 2012, pp. 706–714.

19. Stefanie Wefers / Fritz Mangartz, Die byzantinischen Werkstätten von Ephesos // F. Daim / J. Drauschke (Hrsg.), Byzanz. Das Römerreich im Mittelalter 2, 2. Schauplätze (Mainz 2010) 713–729., 2010.

20. Thorkild Schiöler. Die Kurbelwelle von Augst und die römische Steinsägemühle // Helvetia archaeologica, Jg. 40, H. 159/160 (2009), S. 113–124.

21. Авсоний. Стихотворения. Москва, «Наука», 1993, с. 102.

22. https://www3.rgzm.de/ephesos/ — Сайт о реконструкции механизма в Эфесе, включая видео экспериментов.


Приложение Древнейшая мельничная фабрика: римские инженеры продолжают удивлять


Старая реконструкция мельничного комплекса в Барбегале.

Знаете ли вы, что промышленные комплексы появились еще в античности? Древнейшим примером такого рода считается система из 16 водяных мельниц, построенная на юге Франции (в тогдашней Галлии) в 120–130 г. нашей эры. Теперь специалисты узнают удивительные подробности работы «первой фабрики»: здесь внедряли уникальные конструкционные решения и даже использовали механическую пилу. А помогают археологам заглядывать в прошлое… карбонатные корки.

Известно, что экономический расцвет Римской Империи в первые века нашей эры сопровождался масштабным строительством дорог, портов, городов, разработкой рудников. Кстати, этот процесс имел и знакомые нам негативные стороны, такие как загрязнение окружающей среды. Серьёзно! Изучение состава ледовых кернов Гренландии показало, что содержание свинца и меди в атмосфере в начале н. э. достигло уровня, сопоставимого только с промышленным бумом последних двух веков.

Древний Рим в своём технологическом развитии вплотную подошёл к индустриальной революции… но почему-то не двинулся дальше. Возможно, помешала опора на дешёвый труд рабов, на котором, как принято считать, держалась экономика. Но не может ли оказаться, что историки недооценивают технологическую мощь античной цивилизации, просто потому что пока что недостаёт археологических свидетельств? В последние десятилетия интенсивные раскопки и использование новых технологий позволили археологам многое узнать о том, насколько искушены были римские инженеры в использовании энергии воды. Еще до наступления нашей эры в употребление вошли водяные мельницы. Однако, судя по всему, водяные колёса использовались римлянами не только для производства муки, но и, например, для обработки металлической руды и даже для распиливания камня, а масштаб внедрения таких устройств приближался к промышленному. Яркий пример такого рода — крупный комплекс римских водяных мельниц в Барбегале на юге Франции, построенный во втором веке нашей эры. Раскопки здесь проводились еще в 1937–1939 гг., и памятник неоднократно изучался в последующие годы. Комплекс находился на крутом склоне холма и состоял из 16 водяных мельниц, расположенных в две линии по 8 штук. Вода к мельницам поступала с помощью 9-километрового акведука. Бассейны для водяных колёс располагались каскадом, так, что вода, пройдя через первую мельницу, текла дальше, вращая следующее колесо, расположенное ниже, и так далее. Эта «мельничная фабрика» могла производить, по разным оценкам, от 4,5 до 25 тонн муки в день и проработала до середины III века, но многие детали остаются неизвестными. Сами колёса и многие другие части, сделанные из дерева, давно истлели, остались только бассейны, а в их стенках — отверстия для колёсных осей. Но неутомимые археологи изобрели различные хитрости, позволяющие отмотать время вспять и восстановить утраченное.

Дело в том, что за годы работы части мельниц, контактировавшие с водой из карстовых источников, покрылись толстой коркой карбонатных отложений, мощность которой местами достигала 9 см. Карбонат кальция откладывался на стенках каналов и на деревянных деталях водяных колёс. Сами детали утрачены, но карбонатные корки несут на себе отпечатки поверхностей, с которыми соприкасались. При раскопках в середине прошлого века 142 фрагмента таких корок были собраны и с тех пор хранились в местном археологическом музее. На некоторых из них отпечаталась структура дерева и даже шляпки гвоздей. Исследованием этих «слепков» уже несколько лет занимается группа археологов и геологов из Франции, Германии и Австрии. Только что в Nature: Scientific Reports вышла очередная статья этих авторов.

Что же удалось узнать? Судя по характерному рельефу поверхности, в качестве материала для деревянных деталей использовалась в основном сосна. Исходя из формы, некоторые фрагменты образовались на деталях колёс, но большая часть осталась от деревянных желобов, по которым поступала вода. Конечно, корка распалась на куски, но в ряде случаев удалось реконструировать U-образную форму желоба. Отложения на стенках постепенно сужались сверху и часто образовывали в верхней части «крюк» или «навес» — значит, вода заполняла жёлоб целиком и переливалась через край. Несколько карбонатных фрагментов, вероятно, происходят от спиц и ковшей водяных колёс — исследователи исходят при этом из формы таких колёс, известной по археологическим находкам.

Замечательно то, что карбонатная корка, нарастая, образует последовательность по-разному окрашенных слоёв. Получается «микростратиграфия»: фактически, в этих прослойках записана история мельниц. Сравнивая последовательности слоев на «спилах» разных фрагментов, учёные реконструировали хронологическую связь между ними и разделили все фрагменты на 2 группы: 1-я группа с более полной стратиграфией и 2-я, последовательность слоёв в которой неоднократно прерывалась.

Затем в ход пошёл изотопный анализ, показавший циклическое изменение температуры воды в зависимости от времени года. Так удалось вычислить, что на желобах карбонаты непрерывно откладывались в течение 6–7, а то и более 10 лет, но детали колёс обновляли чаще: раз в 3–4 года. Полагают, что образовавшиеся корки делали колесо тяжелее, оно начинало хуже работать, и части приходилось очищать либо заменять.


а) Фото остатков мельничного комплекса в 1996 году; b) новая реконструкция мельничного комплекса; с) линия из 8 мельниц (вид сбоку) и отдельное водяное колесо.

Фрагменты карбонатных корок много лет хранились в музее, и точное место, откуда их изъяли, неизвестно. Однако, сравнивая последовательности слоёв 1-й и 2-й групп, а также отложений, сохранившихся в самих бассейнах, исследователи пришли к выводу, что фрагменты 1-й группы относились к западной «линии», а 2-й группы — к восточной «линии» комплекса. Судя по всему, западная половина работала круглый год, а восточную останавливали в конце лета на несколько месяцев, когда поток воды уменьшался. В середине зимы комплекс снова начинал работать целиком. Возможно, осенью часть воды забирали у мельниц и направляли на орошение окрестных полей. Из того, что часть мельниц периодически отключали, археологи делают вывод, что фабрика работала «на экспорт»: её целью было не снабжение пропитанием находящегося рядом города Арелат, а поставки муки в ближайшие гавани для погрузки на корабли.


Фрагменты карбонатных корок: а), b) из деревянных желобов, c) из ковша водяного колеса, d) стратиграфия одного из фрагментов, e) реконструкция расположения корок в переполнявшемся желобе, f) стратиграфия одного из фрагментов и соответствующий профиль стабильных изотопов C и O, отражающий 7 лет использования желоба. Начинается и заканчивается зимой.

А вот особенно интригующее открытие. На некоторых фрагментах карбонатных корок специалисты обнаружили отпечатки следов от пилы. Ну и что тут такого? Конечно, доски для желобов кто-то должен был пилить. Но следы поразили учёных своей регулярностью, чёткостью и прямизной. По мнению исследователей, это означает, что для распилки использовалась не ручная, а механическая пила, возможно, с гидравлическим приводом. Если догадка верна, то в руки к археологам попало древнейшее свидетельство использования механического устройства для пиления дерева.


Фрагмент корки, образовавшийся на двух стыкующихся досках. Видны следы пиления механической пилой.

Ещё одна деталь, о которой рассказали карбонатные корки. Ранее полагали, что водяные колёса мельниц располагались снаружи зданий, под открытым небом. Однако карбонатные отложения в открытых водоёмах, куда попадает много солнечного света, обычно пористые и содержат органические остатки. В Барбегале же корки плотные и без какой-либо органики — такие образуются в пещерах и в закрытых водопроводах. Исследователи делают вывод, что вся конструкция мельниц находилась внутри зданий. А вот внешний слой многих карбонатных фрагментов — пористый, с частицами растений — говорит о том, что образовались они уже в то время, когда крыша сооружения рухнула. Мельничный комплекс забросили по неясным причинам; вероятно, это событие пришлось на кризис Римской империи III века.

По особенностям нескольких фрагментов карбонатных корок (микростратиграфия, вероятная высота досок, рисунок на поверхности, включая следы пиления) удалось восстановить форму такого желоба. Оказывается, он был «коленчатым»: короткое колено, а затем под углом — более длинное. Судя по толщине корок, вода в большей части желоба регулярно переливалась через края. Исходя из этих данных, а также из размера мельничных бассейнов, исследователи пришли к выводу, что в комплексе использовались верхнебойные, или наливные колёса, т. е. вода падала на них в верхней части.

Согласно расчётам, наблюдаемая картина наполнения желоба водой возможна в случае, если его сливной конец располагался выше колена (т. е. желоб слегка загибался вверх). Но зачем? Исследователи пришли к выводу, что такая конфигурация обеспечивала более стабильный поток. Дело в том, что количество поступавшей в комплекс воды ограничивалось возможностями акведука. Если сделать напор слишком сильным, верхние бассейны начнут переполняться, что чревато нарушениями работы колёс. Кроме того, иногда отдельные мельницы требовалось останавливать — например, для ремонта. В таком случае возрастал объём воды, падавшей на следующее колесо, увеличивался уровень в бассейнах. При этом больше всего рисковали самые нижние мельницы, которые страдали то от слабого потока, то от переполнения находившихся выше резервуаров. Моделирование показало, что приподнятый коленчатый желоб позволял минимизировать влияние перепадов напора воды, особенно если угол его наклона можно было регулировать.


а) Реконструкция нижней части комплекса, где в бассейнах 1 и 2 используются коленчатые желобы; b — e) рассчитанная форма струи воды при разных формах желоба. Вариант e) — приподнятый коленчатый желоб.

Авторы подчёркивают, что коленчатый желоб такой формы не встречается больше ни в каких известных конструкциях водяных колёс — древних и даже современных. Элегантное решение, свидетельствующее о мастерстве древних инженеров, которое — кто знает — может пригодиться даже для гидроэлектростанций XXI века. Так авторы перекидывают мостик к современной проблематике — возобновляемым источникам энергии. А мне остаётся восхититься изобретательности археологов, сумевших извлечь столько уникальной информации из невзрачных карбонатных корок.





Оглавление

  • «Лить воду на мельницу»
  • Не хлебом единым
  • Пилы свистящие
  • Гераса
  • Эфес
  • Ясос
  • Иераполис
  • Реконструкции
  • Источники
  • Приложение Древнейшая мельничная фабрика: римские инженеры продолжают удивлять