Книга в формате djvu! Изображения и текст могут не отображаться!
[Настройки текста] [Cбросить фильтры]
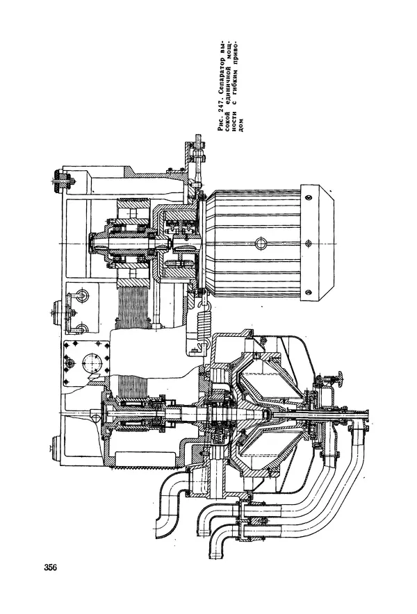
В. Соколов - Основы расчета и конструирования машин и аппаратов пищевых производств: Учебник для втузов




























































































































































































































































































loading='lazy' src="/b.htm/30/560530/285.webp" title="В. Соколов - Основы расчета и конструирования машин и аппаратов пищевых производств: Учебник для втузов - Страница № 285" alt="В. Соколов - Основы расчета и конструирования машин и аппаратов пищевых производств: Учебник для втузов - Страница № 285" width="600" height="884">


































































































































































Последние комментарии
2 дней 8 часов назад
2 дней 20 часов назад
2 дней 21 часов назад
3 дней 9 часов назад
4 дней 3 часов назад
4 дней 16 часов назад